Кондиционеры Daikin FWP-AT - инструкция пользователя по применению, эксплуатации и установке на русском языке. Мы надеемся, она поможет вам решить возникшие у вас вопросы при эксплуатации техники.
Если остались вопросы, задайте их в комментариях после инструкции.
"Загружаем инструкцию", означает, что нужно подождать пока файл загрузится и можно будет его читать онлайн. Некоторые инструкции очень большие и время их появления зависит от вашей скорости интернета.

EN
13
OPERATION MANUAL
It is strictly forbidden to reproduce this manual, even par tially
FC66003946
Rev 00
Controller for units
FWECSA
FORCED OPERATIONS
Normal ventilation logic (modulating and non-modulating)
will be ignored in par ticular forcing situations which could be
necessary for the correct temperature control or functioning
of the terminal.
Possible situations:
•
in
COOLING MODE
:
- with on-board controller and configurations with
valve: the minimum available speed is maintained
even when the temperature is reached
- with on-board controller and configurations without
valve: every 10 minutes a 2-minute washing at
medium speed with the fan stopped allows the air
probe to perform a more precise room temperature
reading.
- if ventilation is set on standby always ON, the
selected speed is maintained once the temperature
setpoint is reached.
•
in
HEATING MODE
:
- with the heater on: ventilation is forced at medium
speed
- once the heater is switched off: post-ventilation is
maintained at medium speed for 2 minutes. (NB:
this ventilation will be completed even should the
thermostat be turned off or pass to the cooling
mode.)
- if ventilation is set on standby always ON, the
selected speed is maintained once the temperature
setpoint is reached.
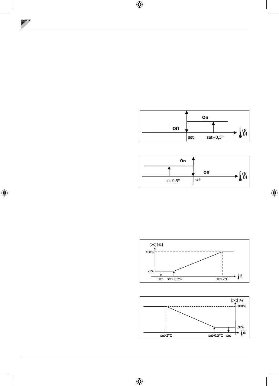
VALVE
The control can manage 2- or 3-way ON/OFF (i.e. fully open
or fully closed) or modulating valves (valve opening can
range between 0%
and 100%).
ON/OFF VALVE
Valve (2- or 3-way) opening is controlled depending on the
operating setpoint and air temperature setpoint.
COOLING
HEATING
MODULATING VALVE
Valve ( 2- or 3-way) opening is controlled depending on the
operating setpoint and air temperature setpoint. The opening
adjustment logic follows the diagrams provided below.
COOLING
HEATING WITH 3-SPEED CONFIGURATIONS
Содержание
- 218 СЕТИ И СВЯЗЬ ��������������������������������������������������������������������������������������������������������16
- 219 ПРЕДУПРЕЖДЕНИЕ; УСЛОВНЫЕ ОБОЗНАЧЕНИЯ ПО ТЕХНИКЕ; ВНИМАТЕЛЬНО ПРОЧЕСТЬ; ПРЕДУПРЕЖДЕНИЯ ОБЩЕГО ХАРАКТЕРА
- 220 Основные характеристики
- 221 ТЕРМИНАЛ ПОЛЬЗОВАТЕЛЯ; КЛАВИАТУРА
- 222 ВКЛЮЧИТЬ ВЫКЛЮЧИТЬ АГРЕГАТ
- 225 МЕНЮ И СПИСКИ ПАРАМЕТРОВ; МЕНЮ КОНФИГУРАЦИИ
- 226 ЦИФРОВОЙ КОНФИГУРИРУЕМЫЙ ВЫХОД; НР
- 227 МЕНЮ ЗАДАННЫХ ПАРАМЕТРОВ
- 228 ЛОГИЧЕСКИЕ СХЕМЫ НАСТРОЕК; ПЕРЕКЛЮЧЕНИЕ ОХЛАЖДЕНИЯ/ОТОПЛЕНИЯ
- 231 ФОРСИРОВКИ; КЛАПАН; МОДУЛИРУЮЩИЙ КЛАПАН
- 232 РАЗРЕШАЮЩИЙ СИГНАЛ ВОДНОЙ СИСТЕМЫ; ЭЛЕКТРИЧЕСКОЕ СОПРОТИВЛЕНИЕ; АКТИВИРОВАНИЕ; КОНТРОЛЬ МИНИМАЛЬНОЙ ТЕМПЕРАТУРЫ
- 233 ОС УШЕНИЕ; ЛОГИЧЕСКАЯ СХЕМА; СИГНАЛЫ ТРЕВОГИ
- 234 СЕТИ И СВЯЗЬ; ПОДКЛЮЧЕНИЕ СИСТЕМЫ МОНИТОРИНГА; Протокол
- 235 СТАТУС ВХОДА; РЕГИСТР ХРАНЕНИЯ; ВХОД РЕГИСТРА
- 236 СЕТЕВОЙ ВАРИАНТ “SMALL”
- 237 Серийный адрес; СМЕШЕННАЯ СЕТЬ; СВОДНАЯ ТАБЛИЦА ПАРАМЕТРОВ; ЗНАЧЕНИЕ СВЕТОДИОДОВ
- 238 ТЕХНИЧЕСКИЕ ДАННЫЕ; УСТАНОВКА И ТЕХОБСЛУЖИВАНИЕ; УСТАНОВКА ЗОНДА; УСТАНОВКА УДАЛЕННОГО ДАТЧИКА ВОЗДУХА
- 240 УСТАНОВКА ТЕРМИНАЛА ПОЛЬЗОВАТЕЛЯ
- 241 ПОДКЛЮЧЕНИЯ ЭЛЕКТРОСИСТЕМЫ
- 242 ЭЛЕКТРОСХЕМА












