Кондиционеры Daikin FWP-AT - инструкция пользователя по применению, эксплуатации и установке на русском языке. Мы надеемся, она поможет вам решить возникшие у вас вопросы при эксплуатации техники.
Если остались вопросы, задайте их в комментариях после инструкции.
"Загружаем инструкцию", означает, что нужно подождать пока файл загрузится и можно будет его читать онлайн. Некоторые инструкции очень большие и время их появления зависит от вашей скорости интернета.

IT
15
MANUALE D’USO
È severamente vietata la riproduzione anche parziale di questo manuale
FC66003946
Rev 00
Controllo per terminali
FWECSA
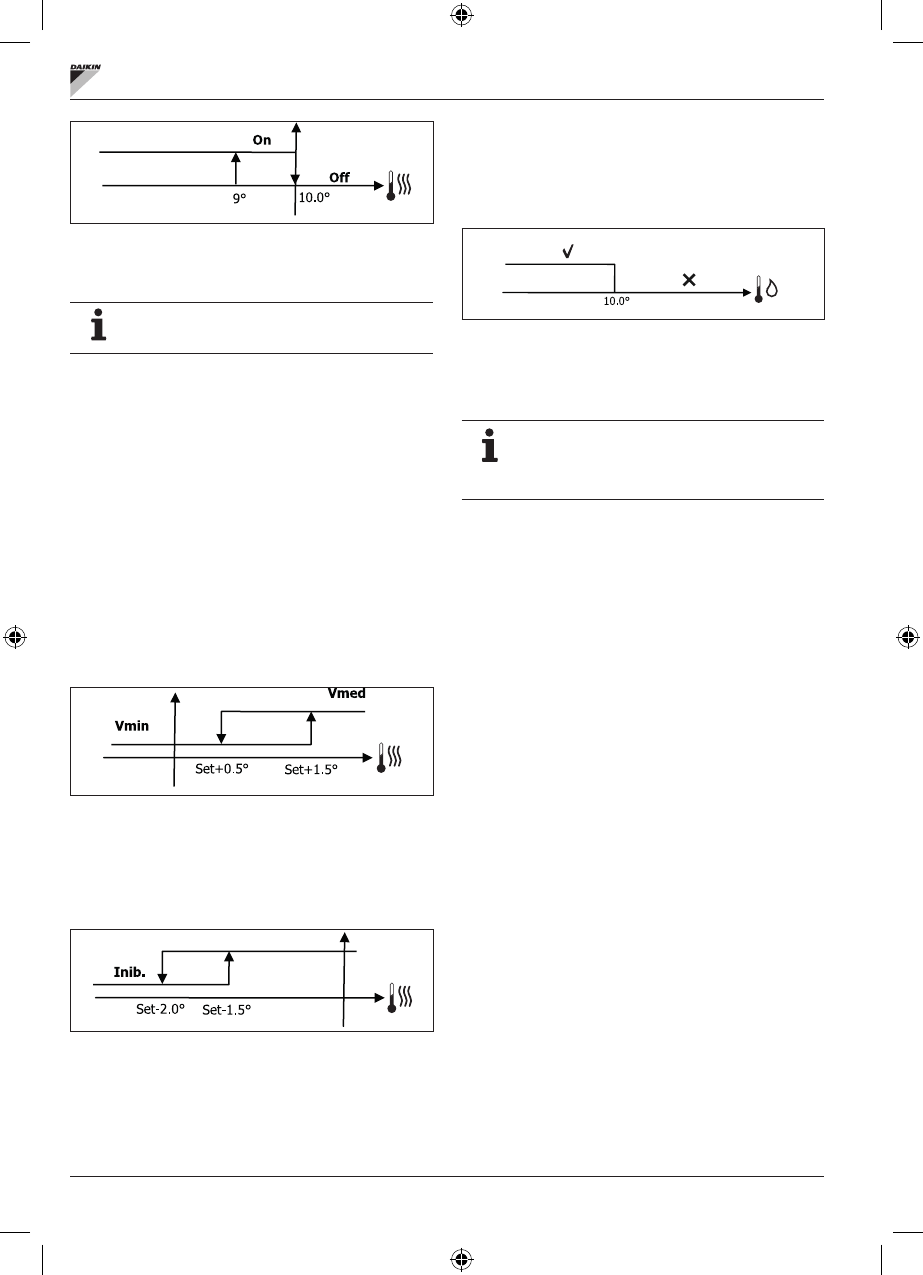
Una volta ripor tata la temperatura sopra i 10°C il termostato
ritornerà nella situazione di Off.
Un eventuale OFF da ingresso digitale inibirà
tale logica.
DEUMIDIFICA
La funzione di deumidifica, utilizzabile nella sola modalità
Raffreddamento, qualora impostata la presenza della sonda
di umidità all’interno del menu di configurazione, prevede di
far funzionare il terminale con lo scopo di ridurre l’umidità
presente in ambiente fino a raggiungere il setpoint impostato
nel parametro del menu setup.
LOGICA
La velocità di ventilazione verrà forzata alla minima o, nel
caso di temperatura aria molto superiore al set impostato,
alla media velocità:
Dovendo ripor tare l’umidità al valore impostato, la ventilazione
(e la valvola, se presente) verrà attivata anche nel caso in cui
la temperatura ambiente abbia già raggiunto il set relativo
(visibile sul display). Nel caso si scenda troppo al di sotto di
tale soglia tale logica verrà momentaneamente inibita.
CONSENSO DEUMIDIFICA DA SONDA ACQUA
Il consenso per l’attivazione della deumidifica è legato al
controllo della temperatura dell’acqua. Di seguito la logica
di consenso relativa:
Il mancato consenso prevede l’inibizione momentanea della
funzione di deumidifica. Lo stesso verrà fatto nel caso la
sonda venga scollegata.
Una volta raggiunta l’umidità di riferimento o
messo in Off il comando, la deumidifica verrà
disattivata.
ALLARMI
Gli allarmi gestiti dal comando sono quelli relativi alla
mancata presenza delle sonde previste in base alla
configurazione del terminale idronico. Per tanto i possibili
allarmi sono i seguenti:
• Allarme sonda aria
• Allarme sonda acqua
• Allarme sonda umidità
Содержание
- 218 СЕТИ И СВЯЗЬ ��������������������������������������������������������������������������������������������������������16
- 219 ПРЕДУПРЕЖДЕНИЕ; УСЛОВНЫЕ ОБОЗНАЧЕНИЯ ПО ТЕХНИКЕ; ВНИМАТЕЛЬНО ПРОЧЕСТЬ; ПРЕДУПРЕЖДЕНИЯ ОБЩЕГО ХАРАКТЕРА
- 220 Основные характеристики
- 221 ТЕРМИНАЛ ПОЛЬЗОВАТЕЛЯ; КЛАВИАТУРА
- 222 ВКЛЮЧИТЬ ВЫКЛЮЧИТЬ АГРЕГАТ
- 225 МЕНЮ И СПИСКИ ПАРАМЕТРОВ; МЕНЮ КОНФИГУРАЦИИ
- 226 ЦИФРОВОЙ КОНФИГУРИРУЕМЫЙ ВЫХОД; НР
- 227 МЕНЮ ЗАДАННЫХ ПАРАМЕТРОВ
- 228 ЛОГИЧЕСКИЕ СХЕМЫ НАСТРОЕК; ПЕРЕКЛЮЧЕНИЕ ОХЛАЖДЕНИЯ/ОТОПЛЕНИЯ
- 231 ФОРСИРОВКИ; КЛАПАН; МОДУЛИРУЮЩИЙ КЛАПАН
- 232 РАЗРЕШАЮЩИЙ СИГНАЛ ВОДНОЙ СИСТЕМЫ; ЭЛЕКТРИЧЕСКОЕ СОПРОТИВЛЕНИЕ; АКТИВИРОВАНИЕ; КОНТРОЛЬ МИНИМАЛЬНОЙ ТЕМПЕРАТУРЫ
- 233 ОС УШЕНИЕ; ЛОГИЧЕСКАЯ СХЕМА; СИГНАЛЫ ТРЕВОГИ
- 234 СЕТИ И СВЯЗЬ; ПОДКЛЮЧЕНИЕ СИСТЕМЫ МОНИТОРИНГА; Протокол
- 235 СТАТУС ВХОДА; РЕГИСТР ХРАНЕНИЯ; ВХОД РЕГИСТРА
- 236 СЕТЕВОЙ ВАРИАНТ “SMALL”
- 237 Серийный адрес; СМЕШЕННАЯ СЕТЬ; СВОДНАЯ ТАБЛИЦА ПАРАМЕТРОВ; ЗНАЧЕНИЕ СВЕТОДИОДОВ
- 238 ТЕХНИЧЕСКИЕ ДАННЫЕ; УСТАНОВКА И ТЕХОБСЛУЖИВАНИЕ; УСТАНОВКА ЗОНДА; УСТАНОВКА УДАЛЕННОГО ДАТЧИКА ВОЗДУХА
- 240 УСТАНОВКА ТЕРМИНАЛА ПОЛЬЗОВАТЕЛЯ
- 241 ПОДКЛЮЧЕНИЯ ЭЛЕКТРОСИСТЕМЫ
- 242 ЭЛЕКТРОСХЕМА