Кондиционеры Daikin FWP-AT - инструкция пользователя по применению, эксплуатации и установке на русском языке. Мы надеемся, она поможет вам решить возникшие у вас вопросы при эксплуатации техники.
Если остались вопросы, задайте их в комментариях после инструкции.
"Загружаем инструкцию", означает, что нужно подождать пока файл загрузится и можно будет его читать онлайн. Некоторые инструкции очень большие и время их появления зависит от вашей скорости интернета.

PT
13
MANUAL DE UTILIZAÇÃO
É expressamente proibida a reprodução mesmo parcial deste manual
FC66003946
Rev 00
Controlo para terminais
FWECSA
•
em Refrigeração com configuração de 4 tubos
FORÇAGENS
A lógica normal de ventilação (tanto modulante como
que não modulante) será ignorada no caso de especiais
situações de forçagem que podem ser necessárias para
o controlo correto da temperatura ou funcionamento do
terminal.
Pode-se ter:
•
em
REFRIGERAÇÃO
:
- com comando a bordo da máquina e configurações
com válvula: é mantida a velocidade mínima
disponível mesmo com a temperatura alcançada
- comando a bordo e configurações sem válvula:
cada 10 minutos de ventilador parado é executada
uma lavagem de 2 minutos à velocidade média
para permitir à sonda de ar uma leitura mais
correta da temperatura ambiente
- ao definir ventilação em standby sempre ON,
é mantida a velocidade selecionada após ser
alcançado o setpoint de temperatura
•
em
AQUECIMENTO
:
- com resistência ativa: é forçada a ventilação à
velocidade média
- uma vez desligada a resistência: é mantida, por 2
minutos, uma pós ventilação à velocidade média.
(NB: esta ventilação será completada mesmo se o
termostato devesse desligar-se ou se passasse à
modalidade de refrigeração)
- ao definir ventilação em standby sempre ON,
é mantida a velocidade selecionada após ser
alcançado o setpoint de temperatura
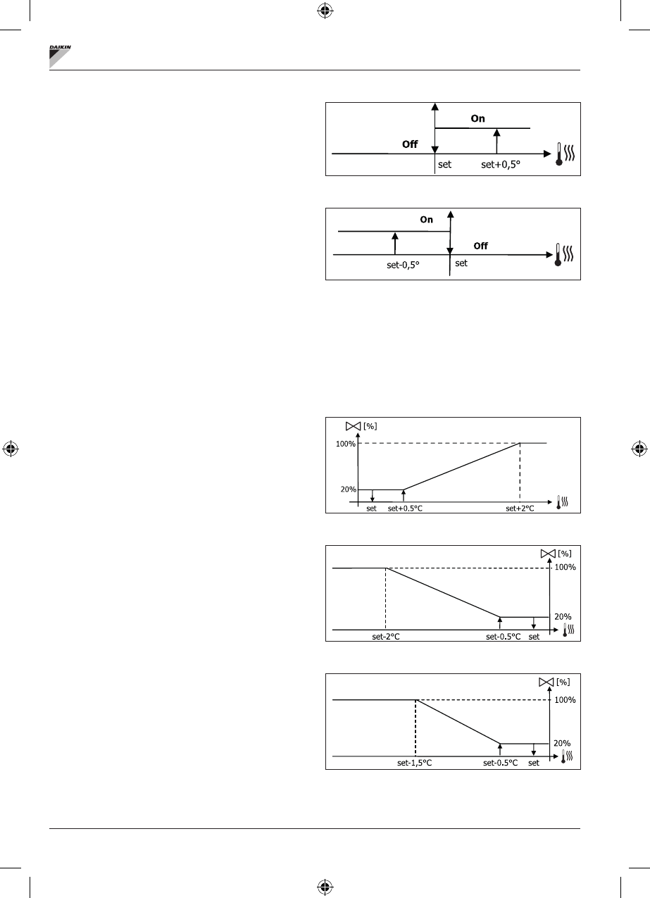
VÁLVULA
O controle pode gerir válvulas de 2 ou 3 vias, de tipo ON/OFF
(isto é, toda aber ta ou toda fechada) ou então modulante (a
aber tura da válvula pode variar entre 0%
e 100%).
VÁLVULA ON/OFF
A aber tura da válvula (2 ou 3 vias) é comandada em função
do set de trabalho e da temperatura do ar.
REFRIGERAÇÃO
AQUECIMENTO
VÁLVULA MODULANTE
A aber tura da válvula (2 ou 3 vias) é comandada em função
do set de trabalho e da temperatura do ar. A lógica de
regulação da aber tura segue os diagramas indicados em
seguida.
REFRIGERAÇÃO
AQUECIMENTO COM CONFIGURAÇÕES A 3 VELOCIDADES
AQUECIMENTO COM CONFIGURAÇÕES A 4 VELOCIDADES
Содержание
- 218 СЕТИ И СВЯЗЬ ��������������������������������������������������������������������������������������������������������16
- 219 ПРЕДУПРЕЖДЕНИЕ; УСЛОВНЫЕ ОБОЗНАЧЕНИЯ ПО ТЕХНИКЕ; ВНИМАТЕЛЬНО ПРОЧЕСТЬ; ПРЕДУПРЕЖДЕНИЯ ОБЩЕГО ХАРАКТЕРА
- 220 Основные характеристики
- 221 ТЕРМИНАЛ ПОЛЬЗОВАТЕЛЯ; КЛАВИАТУРА
- 222 ВКЛЮЧИТЬ ВЫКЛЮЧИТЬ АГРЕГАТ
- 225 МЕНЮ И СПИСКИ ПАРАМЕТРОВ; МЕНЮ КОНФИГУРАЦИИ
- 226 ЦИФРОВОЙ КОНФИГУРИРУЕМЫЙ ВЫХОД; НР
- 227 МЕНЮ ЗАДАННЫХ ПАРАМЕТРОВ
- 228 ЛОГИЧЕСКИЕ СХЕМЫ НАСТРОЕК; ПЕРЕКЛЮЧЕНИЕ ОХЛАЖДЕНИЯ/ОТОПЛЕНИЯ
- 231 ФОРСИРОВКИ; КЛАПАН; МОДУЛИРУЮЩИЙ КЛАПАН
- 232 РАЗРЕШАЮЩИЙ СИГНАЛ ВОДНОЙ СИСТЕМЫ; ЭЛЕКТРИЧЕСКОЕ СОПРОТИВЛЕНИЕ; АКТИВИРОВАНИЕ; КОНТРОЛЬ МИНИМАЛЬНОЙ ТЕМПЕРАТУРЫ
- 233 ОС УШЕНИЕ; ЛОГИЧЕСКАЯ СХЕМА; СИГНАЛЫ ТРЕВОГИ
- 234 СЕТИ И СВЯЗЬ; ПОДКЛЮЧЕНИЕ СИСТЕМЫ МОНИТОРИНГА; Протокол
- 235 СТАТУС ВХОДА; РЕГИСТР ХРАНЕНИЯ; ВХОД РЕГИСТРА
- 236 СЕТЕВОЙ ВАРИАНТ “SMALL”
- 237 Серийный адрес; СМЕШЕННАЯ СЕТЬ; СВОДНАЯ ТАБЛИЦА ПАРАМЕТРОВ; ЗНАЧЕНИЕ СВЕТОДИОДОВ
- 238 ТЕХНИЧЕСКИЕ ДАННЫЕ; УСТАНОВКА И ТЕХОБСЛУЖИВАНИЕ; УСТАНОВКА ЗОНДА; УСТАНОВКА УДАЛЕННОГО ДАТЧИКА ВОЗДУХА
- 240 УСТАНОВКА ТЕРМИНАЛА ПОЛЬЗОВАТЕЛЯ
- 241 ПОДКЛЮЧЕНИЯ ЭЛЕКТРОСИСТЕМЫ
- 242 ЭЛЕКТРОСХЕМА