Кондиционеры Daikin FWP-AT - инструкция пользователя по применению, эксплуатации и установке на русском языке. Мы надеемся, она поможет вам решить возникшие у вас вопросы при эксплуатации техники.
Если остались вопросы, задайте их в комментариях после инструкции.
"Загружаем инструкцию", означает, что нужно подождать пока файл загрузится и можно будет его читать онлайн. Некоторые инструкции очень большие и время их появления зависит от вашей скорости интернета.

EL
15
ΕΓΧΕΙΡΙΔΙΟ ΧΡΗΣΗΣ
απαγορεύεται ρητά η αναπαραγωγή ακόμη και μερική αυτού του εγχειριδίου
FC66003946
Αναθ. 00
Έλεγχος για τερματικά
FWECSA
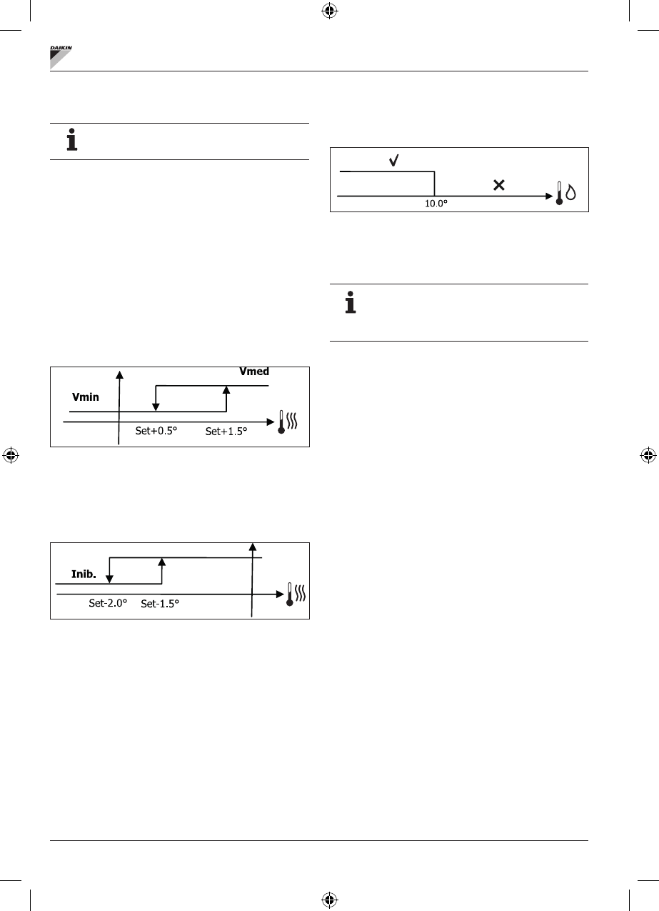
Όταν φτάσει η θερμοκρασία πάνω από 10°C ο θερμοστάτης θα επιστρέψει
σε Off.
Ένα ενδεχόμενο OFF από την ψηφιακή είσοδο θα
εμποδίσει αυτή τη λογική.
ΑΦΥΓΡΑΝΣΉ
Η λειτουργία της αφύγρανσης που χρησιμοποιείται μόνο στη λειτουργία
Ψύξης, σε περίπτωση που έχει ρυθμιστεί η παρουσία του αισθητήρα
υγρασίας μέσα στο μενού διαμόρφωσης, θέτει σε λειτουργία το τερματικό
με σκοπό να μειώσει την υγρασία που υπάρχει στο περιβάλλον μέχρι να
φτάσει το setpoint που έχει ρυθμιστεί στην παράμετρο του μενού του setup.
ΛΟΓΙΚΉ
Η ταχύτητα του αερισμού εξαναγκάζεται στο ελάχιστο ή, σε περίπτωση
πολύ υψηλής θερμοκρασίας στο ρυθμισμένο set, στη μεσαία ταχύτητα:
Εφόσον πρέπει να επαναφερθεί η ρυθμισμένη υγρασία ο αερισμός (και η
βαλβίδα, αν υπάρχει) θα ενεργοποιηθεί ακόμη και στην περίπτωση που
η θερμοκρασία περιβάλλοντος έχει φτάσει το σχετικό set (ορατό στην
οθόνη). Σε περίπτωση που πέσει πολύ κάτω από αυτό το όριο αυτή η λογική
αναστέλλεται στιγμιαία.
ΣΥΝΑΙΝΕΣΉ ΝΕΡΟΥ
Η συναίνεση για την ενεργοποίηση της αφύγρανσης συνδέεται με τον έλεγχο
της θερμοκρασίας του νερού. Στη συνέχει η λογική της σχετικής συναίνεσης:
Η απουσία συναίνεσης προβλέπει τη στιγμιαία αναστολή της λειτουργίας
της αφύγρανσης. Το ίδιο θα συμβεί σε περίπτωση που αποσυνδεθεί ο
αισθητήρας.
Όταν επιτευχθεί η υγρασία που αναφέρεται ή τεθεί
σε Off η εντολή, η αφύγρανση θα απενεργοποιηθεί.
ΣΥΝΑΓΕΡΜΟΙ
Οι συναγερμοί που ελέγχονται από την εντολή έχουν σχέση με την απουσία
παρουσίας των αισθητήρων που προβλέπονται με βάση τη διαμόρφωση της
μονάδας. Συνεπώς οι πιθανοί συναγερμοί είναι οι εξής:
•
Συναγερμός αισθητήρα αέρα
•
Συναγερμός αισθητήρα νερού
•
Συναγερμός αισθητήρα υγρασίας
Содержание
- 218 СЕТИ И СВЯЗЬ ��������������������������������������������������������������������������������������������������������16
- 219 ПРЕДУПРЕЖДЕНИЕ; УСЛОВНЫЕ ОБОЗНАЧЕНИЯ ПО ТЕХНИКЕ; ВНИМАТЕЛЬНО ПРОЧЕСТЬ; ПРЕДУПРЕЖДЕНИЯ ОБЩЕГО ХАРАКТЕРА
- 220 Основные характеристики
- 221 ТЕРМИНАЛ ПОЛЬЗОВАТЕЛЯ; КЛАВИАТУРА
- 222 ВКЛЮЧИТЬ ВЫКЛЮЧИТЬ АГРЕГАТ
- 225 МЕНЮ И СПИСКИ ПАРАМЕТРОВ; МЕНЮ КОНФИГУРАЦИИ
- 226 ЦИФРОВОЙ КОНФИГУРИРУЕМЫЙ ВЫХОД; НР
- 227 МЕНЮ ЗАДАННЫХ ПАРАМЕТРОВ
- 228 ЛОГИЧЕСКИЕ СХЕМЫ НАСТРОЕК; ПЕРЕКЛЮЧЕНИЕ ОХЛАЖДЕНИЯ/ОТОПЛЕНИЯ
- 231 ФОРСИРОВКИ; КЛАПАН; МОДУЛИРУЮЩИЙ КЛАПАН
- 232 РАЗРЕШАЮЩИЙ СИГНАЛ ВОДНОЙ СИСТЕМЫ; ЭЛЕКТРИЧЕСКОЕ СОПРОТИВЛЕНИЕ; АКТИВИРОВАНИЕ; КОНТРОЛЬ МИНИМАЛЬНОЙ ТЕМПЕРАТУРЫ
- 233 ОС УШЕНИЕ; ЛОГИЧЕСКАЯ СХЕМА; СИГНАЛЫ ТРЕВОГИ
- 234 СЕТИ И СВЯЗЬ; ПОДКЛЮЧЕНИЕ СИСТЕМЫ МОНИТОРИНГА; Протокол
- 235 СТАТУС ВХОДА; РЕГИСТР ХРАНЕНИЯ; ВХОД РЕГИСТРА
- 236 СЕТЕВОЙ ВАРИАНТ “SMALL”
- 237 Серийный адрес; СМЕШЕННАЯ СЕТЬ; СВОДНАЯ ТАБЛИЦА ПАРАМЕТРОВ; ЗНАЧЕНИЕ СВЕТОДИОДОВ
- 238 ТЕХНИЧЕСКИЕ ДАННЫЕ; УСТАНОВКА И ТЕХОБСЛУЖИВАНИЕ; УСТАНОВКА ЗОНДА; УСТАНОВКА УДАЛЕННОГО ДАТЧИКА ВОЗДУХА
- 240 УСТАНОВКА ТЕРМИНАЛА ПОЛЬЗОВАТЕЛЯ
- 241 ПОДКЛЮЧЕНИЯ ЭЛЕКТРОСИСТЕМЫ
- 242 ЭЛЕКТРОСХЕМА