Кондиционеры Daikin FWP-AT - инструкция пользователя по применению, эксплуатации и установке на русском языке. Мы надеемся, она поможет вам решить возникшие у вас вопросы при эксплуатации техники.
Если остались вопросы, задайте их в комментариях после инструкции.
"Загружаем инструкцию", означает, что нужно подождать пока файл загрузится и можно будет его читать онлайн. Некоторые инструкции очень большие и время их появления зависит от вашей скорости интернета.

PT
15
MANUAL DE UTILIZAÇÃO
É expressamente proibida a reprodução mesmo parcial deste manual
FC66003946
Rev 00
Controlo para terminais
FWECSA
Um eventual OFF da entrada digital inibirá
essa lógica�
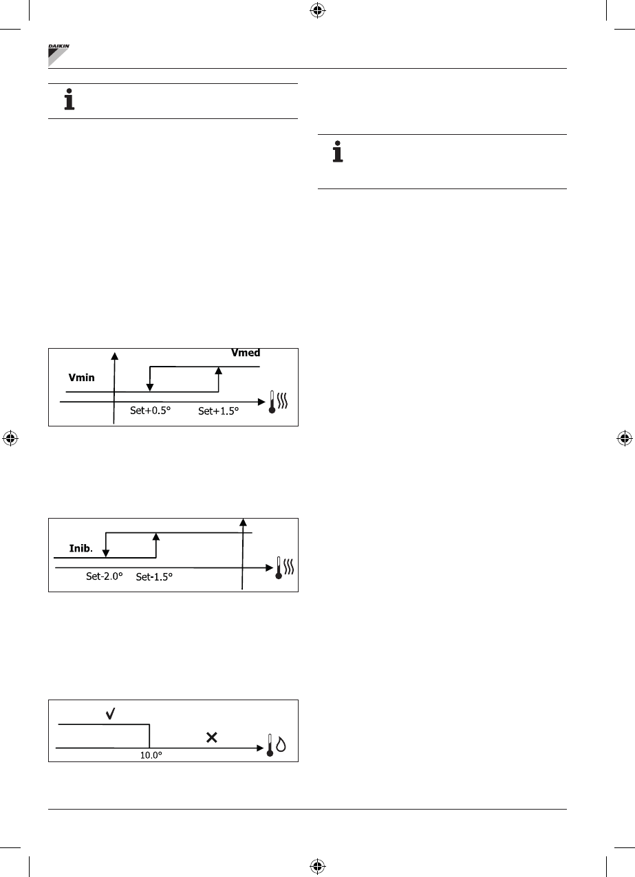
DESUMIDIFICAÇÃO
A função de desumidificação, que pode ser utilizada apenas
na modalidade de Refrigeração, quando configurada a
presença da sonda de humidade no interior do menu de
configuração, prevê que se faça funcionar o terminal com
o objetivo de reduzir a humidade presente no ambiente até
atingir o setpoint configurado no parâmetro do menu setup.
LÓGICA
A velocidade de ventilação será forçada à mínima ou, no
caso de temperatura muito superior ao set configurado, à
velocidade média:
Devendo colocar a humidade ao valor configurado a
ventilação (e a válvula, se presente) será ativada também no
caso em que a temperatura ambiente tenha atingido o valor
respectivo (visível no ecrã). Caso desça muito abaixo desse
limite a lógica será momentaneamente inibida.
PERMISSÃO À ÁGUA
A permissão para a ativação da desumidificação está
associada ao controlo da temperatura da água. Em seguida
a lógica de permissão respetiva:
A falta de permissão prevê a inibição momentânea da função
de desumidificação. O mesmo será feito caso a sonda seja
desligada.
Uma vez atingida a humidade de referência ou
colocado em Off o comando, a desumidificação
será desativada�
ALARMES
Os alarmes geridos pelo comando são aqueles relativos
à falta de presença das sondas previstas em base à
configuração da unidade. Por tanto os possíveis alarmes
são os seguintes:
•
Alarme sonda de ar
•
Alarme sonda água
•
Alarme sonda de humidade
Содержание
- 218 СЕТИ И СВЯЗЬ ��������������������������������������������������������������������������������������������������������16
- 219 ПРЕДУПРЕЖДЕНИЕ; УСЛОВНЫЕ ОБОЗНАЧЕНИЯ ПО ТЕХНИКЕ; ВНИМАТЕЛЬНО ПРОЧЕСТЬ; ПРЕДУПРЕЖДЕНИЯ ОБЩЕГО ХАРАКТЕРА
- 220 Основные характеристики
- 221 ТЕРМИНАЛ ПОЛЬЗОВАТЕЛЯ; КЛАВИАТУРА
- 222 ВКЛЮЧИТЬ ВЫКЛЮЧИТЬ АГРЕГАТ
- 225 МЕНЮ И СПИСКИ ПАРАМЕТРОВ; МЕНЮ КОНФИГУРАЦИИ
- 226 ЦИФРОВОЙ КОНФИГУРИРУЕМЫЙ ВЫХОД; НР
- 227 МЕНЮ ЗАДАННЫХ ПАРАМЕТРОВ
- 228 ЛОГИЧЕСКИЕ СХЕМЫ НАСТРОЕК; ПЕРЕКЛЮЧЕНИЕ ОХЛАЖДЕНИЯ/ОТОПЛЕНИЯ
- 231 ФОРСИРОВКИ; КЛАПАН; МОДУЛИРУЮЩИЙ КЛАПАН
- 232 РАЗРЕШАЮЩИЙ СИГНАЛ ВОДНОЙ СИСТЕМЫ; ЭЛЕКТРИЧЕСКОЕ СОПРОТИВЛЕНИЕ; АКТИВИРОВАНИЕ; КОНТРОЛЬ МИНИМАЛЬНОЙ ТЕМПЕРАТУРЫ
- 233 ОС УШЕНИЕ; ЛОГИЧЕСКАЯ СХЕМА; СИГНАЛЫ ТРЕВОГИ
- 234 СЕТИ И СВЯЗЬ; ПОДКЛЮЧЕНИЕ СИСТЕМЫ МОНИТОРИНГА; Протокол
- 235 СТАТУС ВХОДА; РЕГИСТР ХРАНЕНИЯ; ВХОД РЕГИСТРА
- 236 СЕТЕВОЙ ВАРИАНТ “SMALL”
- 237 Серийный адрес; СМЕШЕННАЯ СЕТЬ; СВОДНАЯ ТАБЛИЦА ПАРАМЕТРОВ; ЗНАЧЕНИЕ СВЕТОДИОДОВ
- 238 ТЕХНИЧЕСКИЕ ДАННЫЕ; УСТАНОВКА И ТЕХОБСЛУЖИВАНИЕ; УСТАНОВКА ЗОНДА; УСТАНОВКА УДАЛЕННОГО ДАТЧИКА ВОЗДУХА
- 240 УСТАНОВКА ТЕРМИНАЛА ПОЛЬЗОВАТЕЛЯ
- 241 ПОДКЛЮЧЕНИЯ ЭЛЕКТРОСИСТЕМЫ
- 242 ЭЛЕКТРОСХЕМА