Кондиционеры Daikin FWP-AT - инструкция пользователя по применению, эксплуатации и установке на русском языке. Мы надеемся, она поможет вам решить возникшие у вас вопросы при эксплуатации техники.
Если остались вопросы, задайте их в комментариях после инструкции.
"Загружаем инструкцию", означает, что нужно подождать пока файл загрузится и можно будет его читать онлайн. Некоторые инструкции очень большие и время их появления зависит от вашей скорости интернета.

EL
13
ΕΓΧΕΙΡΙΔΙΟ ΧΡΗΣΗΣ
απαγορεύεται ρητά η αναπαραγωγή ακόμη και μερική αυτού του εγχειριδίου
FC66003946
Αναθ. 00
Έλεγχος για τερματικά
FWECSA
ΕΞΑΝΑΓΚΑΣΜΟΙ
Η κανονική λογική του αερισμού (διαμόρφωσης και μη) θα αγνοηθεί
στην περίπτωση ειδικών καταστάσεων εξαναγκασμού που μπορεί να είναι
απαραίτητες για το σωστό έλεγχο της θερμοκρασίας ή λειτουργίας του
τερματικού. Μπορείτε να έχετε:
•
στη
ΨΥΞΉ
:
-
με εντολή επί του μηχανήματος και διαμορφώσεις με βαλβίδα:
διατηρείται η ελάχιστη διαθέσιμη ταχύτητα ακόμη και αν έχει
επιτευχθεί η θερμοκρασία
-
εντολή επί του μηχανήματος και διαμορφώσεις χωρίς βαλβίδα:
κάθε 10 λεπτά στάσης του ανεμιστήρα εκτελείται ένας
καθαρισμός 2 λεπτών σε μέση ταχύτητα επιτρέποντας στον
αισθητήρα αέρα μια πιο σωστή ανάγνωση της θερμοκρασίας
περιβάλλοντος
-
Αν ο εξαερισμός είναι ρυθμισμένος πάντα σε κατάσταση
αναμονής ON διατηρείται η επιλεγμένη ταχύτητα μόλις
επιτευχθεί στο σημείο ρύθμισης της θερμοκρασίας
•
στη
ΘΕΡΜΑΝΣΉ
:
-
με αντίσταση ενεργή: επιτείνεται ο αερισμός στη μεσαία
ταχύτητα
-
όταν σβήσει η αντίσταση: διατηρείται για 2 λεπτά ένας μετέπειτα
αερισμός της μεσαίας ταχύτητας. (ΣΗΜΕΙΩΣΗ: αυτός ο αερισμός
θα ολοκληρωθεί ακόμη και αν σβήσει ο θερμοστάτης ή περάσει
στη λειτουργία ψύξης)
-
Αν ο εξαερισμός είναι ρυθμισμένος πάντα σε κατάσταση
αναμονής ON διατηρείται η επιλεγμένη ταχύτητα μόλις
επιτευχθεί το σημείο ρύθμισης της ταχύτητας
ΒΑΛΒΙΔΑ
Ο έλεγχος μπορεί να διαχειρίζεται βαλβίδες 2 ή 3 οδών, τύπου ON/OFF
(δηλαδή πλήρως ανοιχτή ή πλήρως κλειστή) ή διαμόρφωσης (το άνοιγμα
της βαλβίδας μπορεί να ποικίλλει μεταξύ 0%
και 100%).
ΒΑΛΒΙΔΑ ON/OFF
Το άνοιγμα της βαλβίδας (2 ή 3 οδών) ελέγχεται σε συνάρτηση με το set
εργασίας και θερμοκρασίας του αέρα.
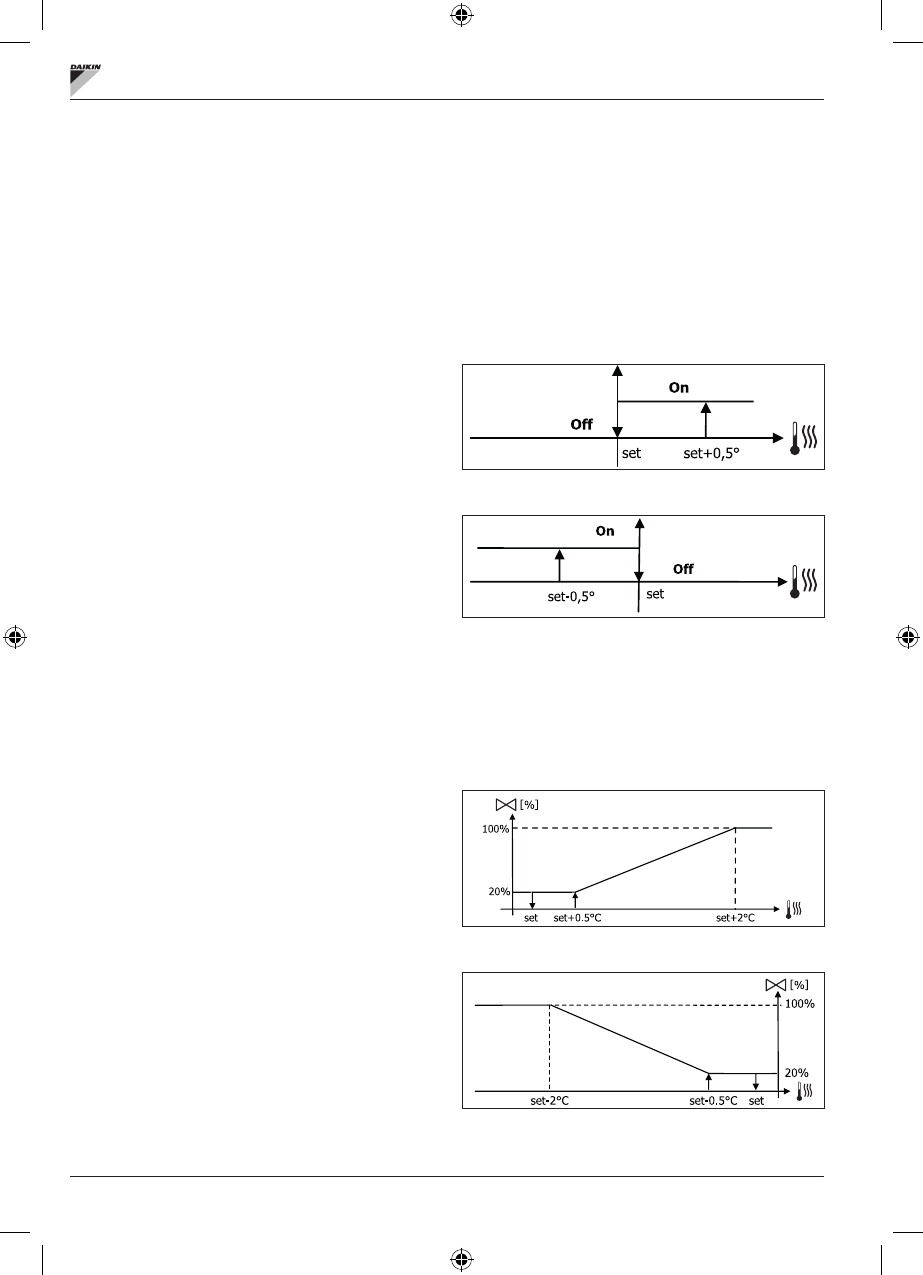
ΨΥΞΗ
ΘΕΡΜΑΝΣΗ
ΒΑΛΒΙΔΑ ΔΙΑΜΟΡΦΩΣΉΣ
Το άνοιγμα της βαλβίδας (2 ή 3 οδών) ελέγχεται σε συνάρτηση με το set
εργασίας και θερμοκρασίας του αέρα. Η λογική ρύθμισης του ανοίγματος
ακολουθεί τα διαγράμματα που αναφέρονται στη συνέχεια.
ΨΥΞΗ
ΘΕΡΜΑΝΣΗ ΜΕ ΔΙΑΜΟΡΦΩΣΗ ΣΤΗΝ 3 ΤΑΧΥΤΗΤΑ
Содержание
- 218 СЕТИ И СВЯЗЬ ��������������������������������������������������������������������������������������������������������16
- 219 ПРЕДУПРЕЖДЕНИЕ; УСЛОВНЫЕ ОБОЗНАЧЕНИЯ ПО ТЕХНИКЕ; ВНИМАТЕЛЬНО ПРОЧЕСТЬ; ПРЕДУПРЕЖДЕНИЯ ОБЩЕГО ХАРАКТЕРА
- 220 Основные характеристики
- 221 ТЕРМИНАЛ ПОЛЬЗОВАТЕЛЯ; КЛАВИАТУРА
- 222 ВКЛЮЧИТЬ ВЫКЛЮЧИТЬ АГРЕГАТ
- 225 МЕНЮ И СПИСКИ ПАРАМЕТРОВ; МЕНЮ КОНФИГУРАЦИИ
- 226 ЦИФРОВОЙ КОНФИГУРИРУЕМЫЙ ВЫХОД; НР
- 227 МЕНЮ ЗАДАННЫХ ПАРАМЕТРОВ
- 228 ЛОГИЧЕСКИЕ СХЕМЫ НАСТРОЕК; ПЕРЕКЛЮЧЕНИЕ ОХЛАЖДЕНИЯ/ОТОПЛЕНИЯ
- 231 ФОРСИРОВКИ; КЛАПАН; МОДУЛИРУЮЩИЙ КЛАПАН
- 232 РАЗРЕШАЮЩИЙ СИГНАЛ ВОДНОЙ СИСТЕМЫ; ЭЛЕКТРИЧЕСКОЕ СОПРОТИВЛЕНИЕ; АКТИВИРОВАНИЕ; КОНТРОЛЬ МИНИМАЛЬНОЙ ТЕМПЕРАТУРЫ
- 233 ОС УШЕНИЕ; ЛОГИЧЕСКАЯ СХЕМА; СИГНАЛЫ ТРЕВОГИ
- 234 СЕТИ И СВЯЗЬ; ПОДКЛЮЧЕНИЕ СИСТЕМЫ МОНИТОРИНГА; Протокол
- 235 СТАТУС ВХОДА; РЕГИСТР ХРАНЕНИЯ; ВХОД РЕГИСТРА
- 236 СЕТЕВОЙ ВАРИАНТ “SMALL”
- 237 Серийный адрес; СМЕШЕННАЯ СЕТЬ; СВОДНАЯ ТАБЛИЦА ПАРАМЕТРОВ; ЗНАЧЕНИЕ СВЕТОДИОДОВ
- 238 ТЕХНИЧЕСКИЕ ДАННЫЕ; УСТАНОВКА И ТЕХОБСЛУЖИВАНИЕ; УСТАНОВКА ЗОНДА; УСТАНОВКА УДАЛЕННОГО ДАТЧИКА ВОЗДУХА
- 240 УСТАНОВКА ТЕРМИНАЛА ПОЛЬЗОВАТЕЛЯ
- 241 ПОДКЛЮЧЕНИЯ ЭЛЕКТРОСИСТЕМЫ
- 242 ЭЛЕКТРОСХЕМА












