Котел Protherm Гепард 12 MTV - инструкция пользователя по применению, эксплуатации и установке на русском языке. Мы надеемся, она поможет вам решить возникшие у вас вопросы при эксплуатации техники.
Если остались вопросы, задайте их в комментариях после инструкции.
"Загружаем инструкцию", означает, что нужно подождать пока файл загрузится и можно будет его читать онлайн. Некоторые инструкции очень большие и время их появления зависит от вашей скорости интернета.

6 Система воздуховодов/дымоходов
28
Руководство по установке и техническому обслуживанию Gepard 0020205765_02
▶
Для отвода конденсата используйте трубопроводы
только из стойкого к коррозии материала.
6.4
Монтаж
6.4.1 Монтаж вертикального прохода через
крышу
6.4.1.1 Указания по монтажу
Опасность!
Опасность отравления из-за утечки отхо-
дящих газов и опасность материального
ущерба из-за отходящими газами из-за
сдвига прохода в крыше!
При сползании больших масс снега и льда
по наклонным поверхностям крыши возмо-
жен сдвиг прохода в крыше.
▶
В регионах с частыми сильными сне-
гопадами рекомендуется монтировать
проход в крыше близко к коньку крыши
или же устанавливать снегозадержи-
вающее ограждение над проходом в
крыше.
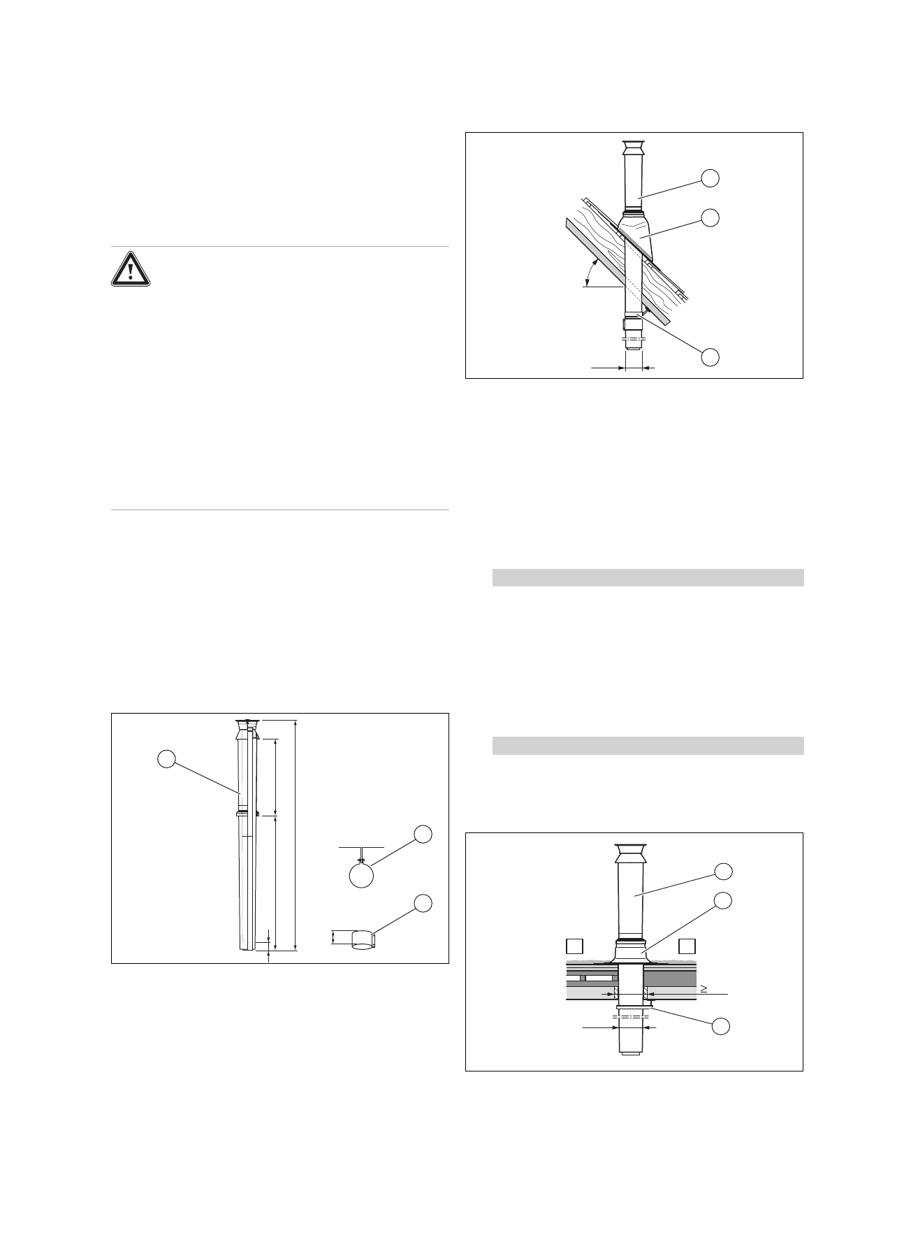
Вертикальные проходы через крышу можно обрезать под
крышей. Однако для обеспечения надежного крепления
с помощью дюбеля длина должна быть достаточной.
▶
Укоротите дымовую и воздухозаборную трубы на оди-
наковую длину.
6.4.2 Монтаж вертикального прохода через
крышу ⌀ 60/100 мм
6.4.2.1 Комплект поставки, арт. № 0020199373
(черный) / 0020199374 (красный)
141
1
824
470
50
48
2
3
1
1
Вертикальный проход
через крышу
2
Крепежный хомут
3
Трубный хомут возду-
ховода 48 мм
6.4.2.2 Монтаж прохода через наклонную крышу
1
2
3
Ø100
25 - 45°
1.
Определите место установки прохода через крышу.
2.
Вставьте черепицу (2).
3.
Вставьте проход через крышу (1) сверху через чере-
пицу так, чтобы он сел плотно.
4.
Выровняйте проход через крышу вертикально.
5.
Закрепите проход через крышу скобой (3) к крыше.
6.
Соедините проход через крышу с изделием с помо-
щью удлинителей, отводов и, при необходимости -
разъединительным устройством.
7.
Альтернатива 1 / 2
Условия: Проход через крышу с удлинителем
▶
Установите удлинители. (→ страница 38)
▶
Смонтируйте отводы 45°. (→ страница 40)
▶
Смонтируйте отводы 90°. (→ страница 41)
▶
Выполните монтаж разъединительного устрой-
ства. (→ страница 38)
▶
Соедините все стыки хомутами воздуховода.
(→ страница 46)
7.
Альтернатива 2 / 2
Условия: Проход через крышу без удлинителя
▶
Выполните монтаж разъединительного устрой-
ства. (→ страница 38)
6.4.2.3 Монтаж прохода через плоскую крышу
2
3
A
B
1
Ø100
100
A
Неутепленная крыша
B
Утепленная крыша
1.
Определите место установки прохода через крышу.
Содержание
- 3 Уровень специалиста/уровень сервиса –
- 4 Безопасность
- 5 Безопасность 1
- 10 Указания по документации; Описание изделия
- 11 Описание изделия 3
- 12 Монтаж; Извлечение изделия из упаковки; Извлеките изделие из картонной упаковки.; Проверка комплектности; Проверьте комплект поставки на комплектность.; Размеры
- 13 Монтаж 4
- 14 Снимите крышку камеры, как показано на рисунке.; Снятие/установка боковых частей
- 15 Установка 5; Снимите боковые части, как показано на рисунке.; Установка; тельных трубопроводах может вызвать
- 16 Установка
- 19 RT
- 20 через многофункциональный модуль; Система воздуховодов/дымоходов; Обзор системы
- 21 Система воздуховодов/дымоходов 6; воздуховодов/дымоходов в шахте
- 22 фицированные компоненты.; Компоненты
- 25 Условия системы
- 27 дымоходов/воздуховодов
- 37 Монтаж концентрического подключения; дымоходу
- 38 упрощения монтажа системы воздухово-; Выполните установку разъединительного устрой-
- 39 трубы отходящих газов могут смещаться и
- 43 Таблица значений смещения (→ страница 43)
- 46 Соедините все стыки хомутами воздуховода:
- 48 ⌀ 80 мм - с забором воздуха из помещения
- 49 с забором воздуха через концентрическую
- 50 опорной консолью
- 51 полипропилена
- 53 Управление 7; воздуховода (работа без забора воздуха; Управление; Концепция управления
- 54 Ввод в эксплуатацию
- 55 Ввод в эксплуатацию 8
- 56 Удаление воздуха из системы отопления; Наполнение системы горячего
- 60 Адаптация к системе отопления; Время блокировки горелки; горелки
- 61 Передача изделия эксплуатирующей стороне 10; 0 Передача изделия эксплуатирующей
- 62 1 Устранение неполадок; Сброс параметров на заводские настройки
- 63 Устранение неполадок 11
- 64 2 Осмотр и техобслуживание
- 65 Осмотр и техобслуживание 12
- 66 3 Вывод из эксплуатации; 5 Переработка и утилизация
- 67 Приложение; A Уровень специалиста/уровень сервиса – Обзор
- 69 B Коды состояния – обзор
- 70 C Тестовые программы – Обзор
- 71 D Сообщения об ошибках – Обзор
- 74 E Работы по осмотру и техническому обслуживанию – обзор
- 76 F Схема электрических соединений
- 77 G Технические характеристики; Технические характеристики – мощность/нагрузка G20
- 78 Технические характеристики - отопление
- 79 Технические характеристики - электрика
- 80 Указатель ключевых слов

