Вытяжки Smeg KC19RAE - инструкция пользователя по применению, эксплуатации и установке на русском языке. Мы надеемся, она поможет вам решить возникшие у вас вопросы при эксплуатации техники.
Если остались вопросы, задайте их в комментариях после инструкции.
"Загружаем инструкцию", означает, что нужно подождать пока файл загрузится и можно будет его читать онлайн. Некоторые инструкции очень большие и время их появления зависит от вашей скорости интернета.

ع
L2
L1
K
Z
Z
L
L
Z
4
:حيشرتلا وأ ةرتلفلا رادصإ
يف حضوم وه امك طشنلا نوبركلا رتلاف بكر .روتوملا ةمدقم ِلخأ
.8
ةحفص
يرورضلا نمف طشنلا نوبركلاب لمعي رتلفب زهجم ريغ طافشلا ناك اذإ
.كيلإ برقلأا
Smeg
زكرمب لاصتلااب لاصفنم هئارش
)
6
لكشلا( ةيسايق تلاصو ةعومجم رفوتت تلايدوملا ضعبل ةبسنلاب
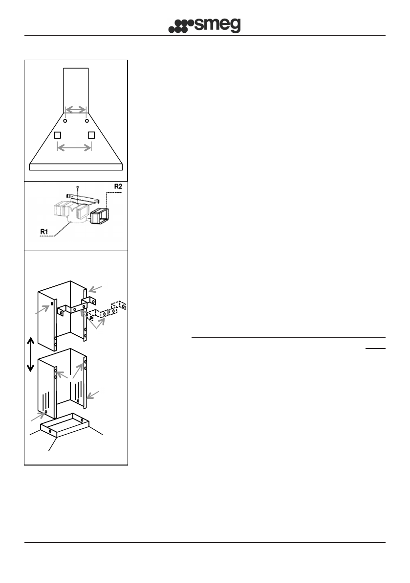
ةقيرطب بسانم عافتراب عيسوت ريماسم ةطساوب رادجلا ىلع تيبثتلل
تلاصو بناجلا ىلع لخدأ .ةنخدملا تاحتف مئلاي امب ءاوهلا قفدت هيجوتل
جرخ ىلع
R1
ةلصولا ليصوتب مق .
R1
ةلصولا ىلع
R2
ليوطتلا
.ملم
150
رطقب بوبنأ ةطساوب طافشلا لكيه
:)7
لكشلا( نخادملا بيكرت •
يولعلا دحلا ىلع )
K
( نيتعطق وآ ةدحاو ةعطقك ةنخدملا سوق عض
.بولطملا
ريماسمب سوقلا تبثو بقثا .سوقلا بيكرتل رادجلا ىلع نيبقث مرخا
.ةقفرملا عيسوتلا
ةطساوب ةيلفسلا ةنخدملا تبث .طافشلا ىلع نخادملا ةعومجم ةيانعب عض
دحلا ىلإ لصت ىتح يولعلا ةنخدملا رذحب دم .طافشلا ىلع
Z
ريماسملا
.يولعلا
.K
ةنخدملا سوق ىلع ةيولعلا ةنخدملا طبرا
L
ريماسملا مادختساب
يئابرهكلا ليصوتلا •
بيكرت ةهج ةفرعمب يئابرهكلا ليصوتلا تايلمع متت نأب نسحتسُي
.ةلهؤم
يرورضلا نم ،ةيئابرهكلا ةكبشلاب رشابملا يئابرهكلا ليصوتلا ةلاح يف
نيب ةحتف لقأب ةيئابرهكلا ةكبشلاو زاهجلا نيب بطقلا يئانث حاتفم عضو
.ةيراسلا ريياعملا بسانيو ةلومحلا لمحتي ،ملم
3
تلاصوم
5
لكشلا
6
لكشلا
7
لكشلا
Содержание
- 122 РУС; МЕРЫ ПРЕДОСТОРОЖНОСТИ!; УСТАНОВКА; • Перед установкой и/или использованием вытяжки, внимательно; ЭКСПЛУАТАЦИЯ
- 123 • ВНИМАНИЕ; ТЕХОБСЛУЖИВАНИЕ; • В СЛУЧАЕ НЕВЫПОЛНЕНИЯ ВЫШЕУКАЗАННЫХ ПРЕДПИСАНИЙ,
- 124 ИНСТРУКЦИИ ПО УСТАНОВКЕ:
- 125 Вариант с ФИЛЬТРАЦИЕЙ ВОЗДУХА:
- 126 ЭЛЕКТРОМЕХАНИЧЕСКАЯ КНОПОЧНАЯ ПАНЕЛЬ:; ИНСТРУКЦИИ ПО ЭКСПЛУАТАЦИИ:
- 127 ЕМКОСТНАЯ КНОПОЧНАЯ ПАНЕЛЬ 2 DIGIT НА 10 КНОПОК:
- 128 ЕМКОСТНАЯ КНОПОЧНАЯ ПАНЕЛЬ 1 DIGIT:
- 129 отключите вытяжку от электрического питания; УХОД И ТЕХНИЧЕСКОЕ ОБСЛУЖИВАНИЕ:; (только для варианта с фильтрацией воздуха)
- 130 Перед проведением любых работ по техническому
- 131 Согласно ст. 26 Законодательного декрета No 49 от 14