Духовые шкафы Electrolux EOB 99956 VX - инструкция пользователя по применению, эксплуатации и установке на русском языке. Мы надеемся, она поможет вам решить возникшие у вас вопросы при эксплуатации техники.
Если остались вопросы, задайте их в комментариях после инструкции.
"Загружаем инструкцию", означает, что нужно подождать пока файл загрузится и можно будет его читать онлайн. Некоторые инструкции очень большие и время их появления зависит от вашей скорости интернета.

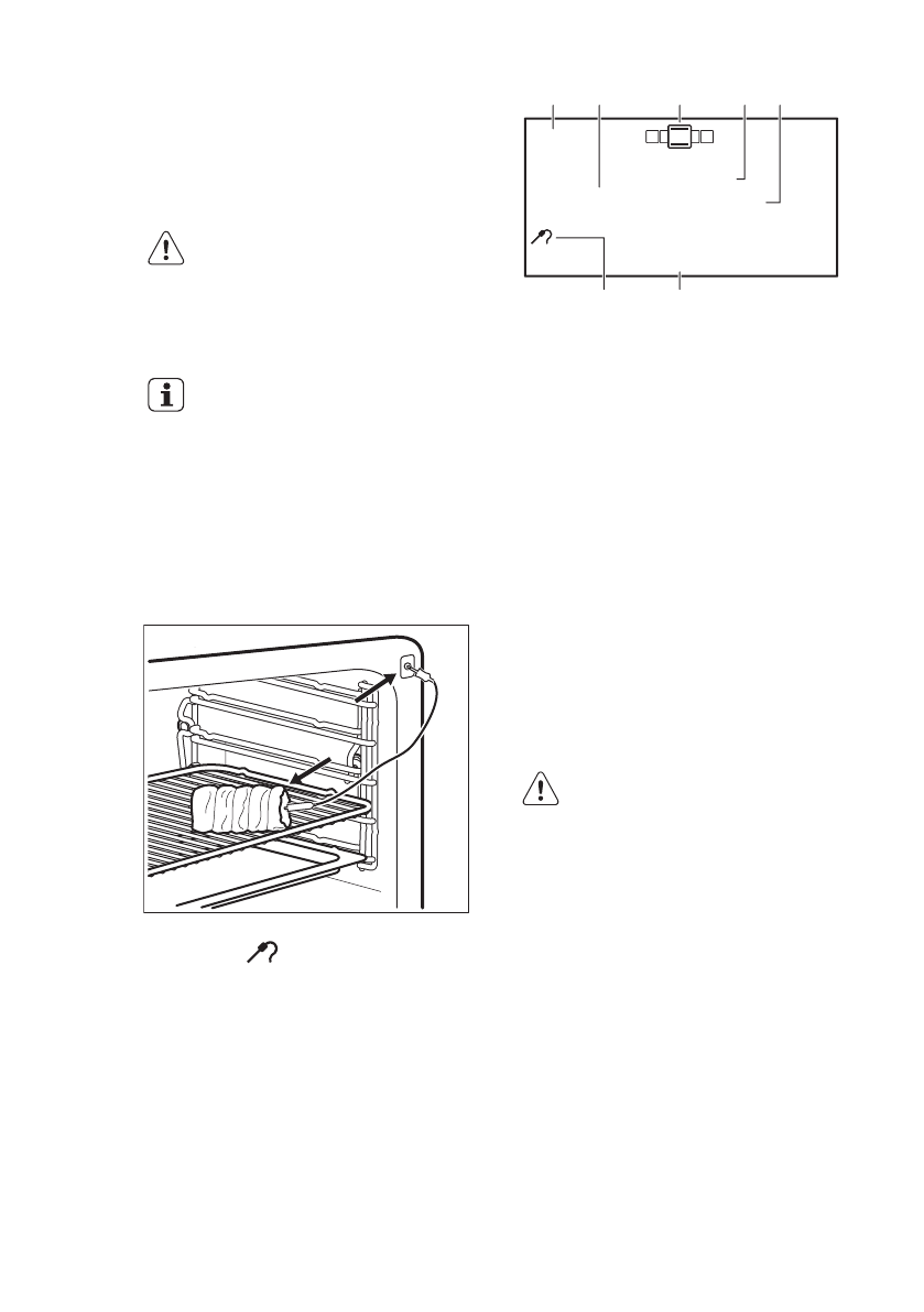
шкафа и температуру внутри
продукта.
Термощуп для мяса предназначен для
измерения температуры внутри мяса.
При достижении мясом заданной
температуры прибор выключается.
ОСТОРОЖНО!
Используйте только
термощуп, идущий в
комплекте с прибором, или
фирменные запасные
части.
В ходе приготовления
термощуп для мяса
должен находиться внутри
куска мяса и быть включен
в свое гнездо.
1.
Включите прибор.
2.
Поместите наконечник термощупа
в центр куска мяса.
3.
Вставьте штекер термощупа для
мяса в гнездо на передней панели
прибора.
На дисплее отобразится символ
термощупа
.
4.
Установите температуру внутри
продукта.
5.
Задайте режим нагрева и, при
необходимости, температуру
духового шкафа.
Для изменения температуры
внутри продукта коснитесь
значения температуры на дисплее.
Stop
Menu
100°
64°
220°
1h 14m
A
B
C
D
E
F
G
A)
Возврат в меню
B)
Время работы функции
C)
Текущий установленный режим
нагрева
D)
Текущая установленная
температура
E)
Текущая температура духового
шкафа
F)
Стоп
G)
Текущая установленная
температура для функции
«Термощуп»
При достижении заданной
температуры внутри продукта
раздастся звуковой сигнал. Прибор
отключится автоматически.
6.
Нажмите на сенсорное поле,
чтобы выключить звуковой сигнал.
7.
Извлеките штекер термощупа из
гнезда и достаньте мясо из
духового шкафа.
ВНИМАНИЕ!
Термощуп сильно
нагревается. Существует
опасность получения
ожогов. Будьте осторожны
при извлечении
наконечника и штекера
термощупа.
9.2
Установка
дополнительных
принадлежностей
Решетка:
Вставьте решетку между
направляющими, убедившись, что
опоры смотрят вниз.
РУССКИЙ
37












