Измерительные приборы Bosch GLM 150 - инструкция пользователя по применению, эксплуатации и установке на русском языке. Мы надеемся, она поможет вам решить возникшие у вас вопросы при эксплуатации техники.
Если остались вопросы, задайте их в комментариях после инструкции.
"Загружаем инструкцию", означает, что нужно подождать пока файл загрузится и можно будет его читать онлайн. Некоторые инструкции очень большие и время их появления зависит от вашей скорости интернета.

234
| Slovensko
1 609 92A 0KT | (23.4.14)
Bosch Power Tools
Po zaključku zadnje meritve se prika-
že rezultat za željeno pot
„E“
v vrstici
z rezultati
c
. Posamezne merilne vre-
dnosti se nahajajo v vrsticah z mersko
vrednostjo
a
.
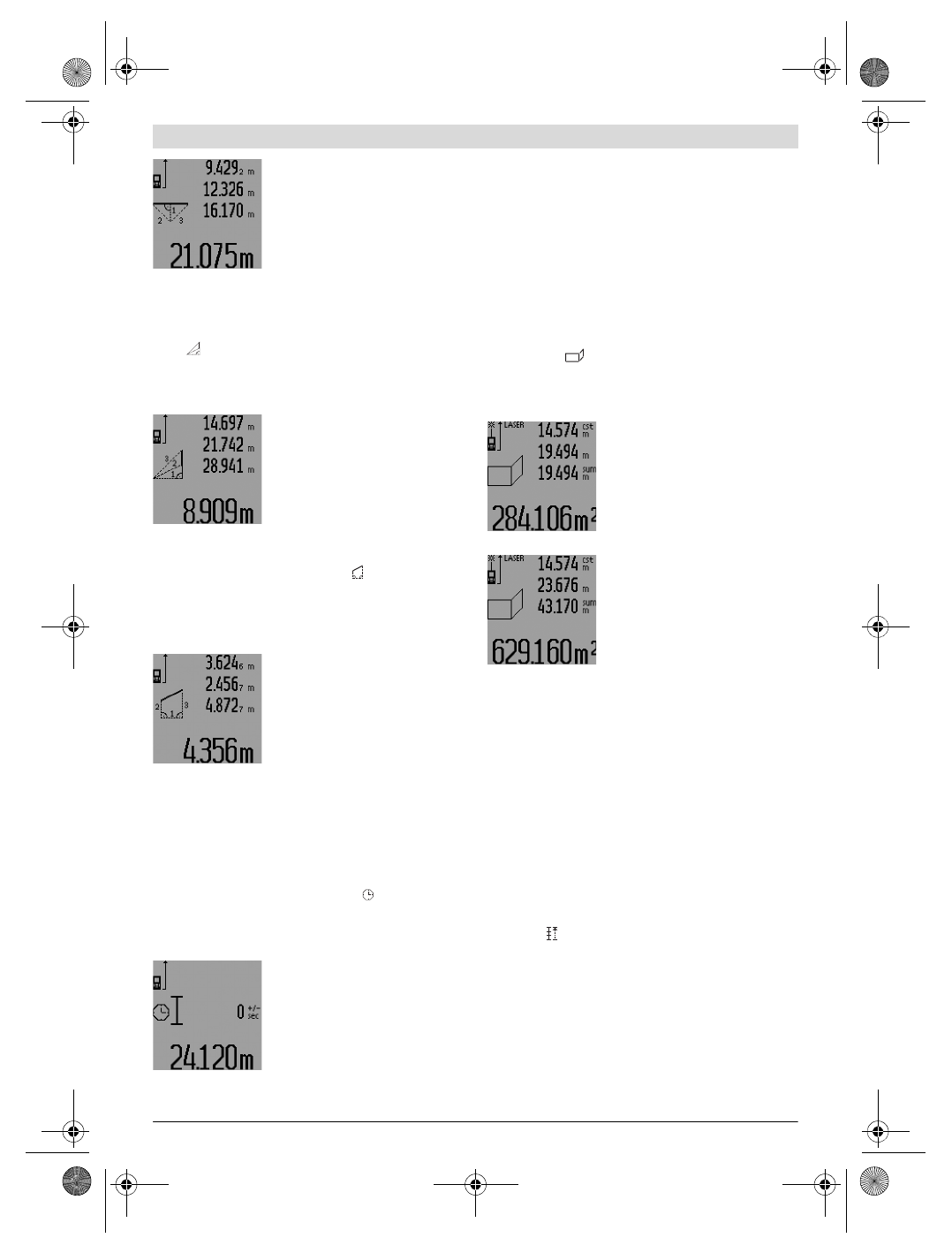
c) Kombinirano merjenje po Pitagorovem izreku
(glejte sliko J)
Pritisnite tipko za menjavo funkcije
3
tolikokrat, da se na dis-
pleju pojavi prikaz za kombinirano merjenje po Pitagorovem
izreku .
Kot pri merjenju dolžine izmerite poti
„1“
,
„2“
in
„3“
– v tem
vrstnem redu. Pri tem pazite na to, da med potjo
„1“
in iskano
potjo
„E“
obstaja pravi kot.
Po zaključku zadnje meritve se prika-
že rezultat za željeno pot
„E“
v vrstici
z rezultati
c
. Posamezne merilne vre-
dnosti se nahajajo v vrsticah z mersko
vrednostjo
a
.
d) Merjenje trapeza (glejte sliko K)
Pritisnite tipko za menjavo funkcije
3
tolikokrat, da se na dis-
pleju pojavi prikaz za merjenje trapeza
.
Kot pri merjenju dolžine izmerite poti
„1“
,
„2“
in
„3“
– v tem
vrstnem redu. Pazite na to, da se merjenje poti
„3“
prične na-
tančno na končni točki poti
„1“
in da med potema
„1“
in
„2“
ter med
„1“
in
„3“
prične pravi kot.
Po zaključku zadnje meritve se prika-
že rezultat za željeno pot
„E“
v vrstici
z rezultati
c
. Posamezne merilne vre-
dnosti se nahajajo v vrsticah z mersko
vrednostjo
a
.
Časovno zamaknjeno merjenje dolžine
Časovno zamaknjeno merjenje dolžine pomaga npr. pri mer-
jenju na težko dostopnih mestih ali če se naj preprečijo premi-
ki merilnega orodja med merjenjem.
Za časovno zamaknjeno merjenje dolžine pritisnite tipko za
menjavo funkcije
3
tolikokrat, da se na displeju pojavi prikaz
za časovno zamaknjeno merjenje dolžine .
V vrstici za merilne vrednosti
a
se pojavi prikaz za sprožitev do
merjenja. Časovni interval se lahko nastavi s pritiskom tipke
plus
6
oz. minus
12
med 1 s in 60 s.
Za vklop laserskega žarka in ciljanje
na ciljno točko nato pritisnite tipko
merjenje
7
. Ponovno pritisnite tipko
merjenje
7
za sprožitev merjenja.
Merjenje se opravi po izbranem ča-
sovnem intervalu. Merilna vrednost
se prikaže v vrstici z rezultatom
c
.
Seštevanje in odštevanje merilnih rezultatov ter merjenje mi-
nimuma in maksimuma pri časovno zamaknjenem merjenju
dolžine ni mogoče.
Merjenje stenske površine (glejte sliko L)
Z merjenjem stenske površine se izračuna vsota večjega šte-
vila posameznih površin s skupno višino.
Kot v prikazanem primeru se naj izračuna skupna površina ve-
čjega števila sten z enako višino prostora
A
, vendar z različni-
mi dolžinami
B
.
Za merjenja površine stene pritisnite tipko za menjanje funk-
cije
3
tolikokrat, da se na displeju pojavi prikaz za merjenje
površine stene
.
Kot pri merjenju dolžine, sedaj izmerite višino prostora
A
. Me-
rilna vrednost (
„cst“
) se prikaže v zgordnji vrstici z merilnimi
vrednostmi
a
. Laser ostane vklopljen.
Nato izmerite dolžino
B
1
prve stene.
Površina se samodejno izračuna in
prikaže v vrstici z rezultatom
c
. Meril-
na vrednost za dolžino se nahaja v
sredinski vrstici z merilnimi vrednost-
mi
a
. Laser ostane vklopljen.
Nato izmerite dolžino
B
2
druge stene.
V sredinski vrstici z merilnimi vredno-
sti
a
se prikaže posamezna merilna
vrednost, ki se sešteje k dolžini
B
1
.
Vsota obeh dolžin (
„sum“
, ki se prika-
že v spodnji vrstici za merilne vredno-
sti
a
) se pomnoži s shranjeno višino
A
. Vrednost skupne površine se pri-
kaže v vrstici z rezultatom
c
.
Lahko izmerite poljubno veliko število dolžin
B
X
, ki se nato sa-
modejno seštejejo in pomnožijo z višino
A
.
Predpogoj za pravilni izračun površine je, da je prva izmerjena
dolžina (v tem primeru je to višina prostora
A
) identična za vse
delne površine.
Za novo merjenje površine stene z novo višino prostora
A
pri-
tisnite trikrat tipko
16
.
Označevalna funkcija (glejte sliko M)
Označevalna funkcija služi za prenos fiksne poti (označevalne
vrednosti), ki se ali izmeri ali vnese. Npr. pomaga pri označe-
vanju razdalj za vmesne stene pri suhi gradnji.
Za označevalno funkcijo pritisnite tipko za menjavo funkcije
3
tolikokrat, dokler se na displeju ne pojavi prikaz za označeval-
no funkcijo .
Označevalna vrednost se lahko nastavi, kot sledi:
– Za vnos poznane vrednosti pritisnite tipko plus
6
oz. minus
12
tako dolgo, dokler se ne prikaže željena vrednost v zgor-
nji vrstici z merilnimi vrednostmi
a
. Z dogim pritiskanjem
na tipko plus
6
oz. minus
12
tečejo vrednosti kontinuirano
naprej. Laser se še ne vklopi.
– Za merjenje označevalne vrednosti pritisnite tipko merje-
nje
7
enkrat za kratek čas za ciljanje in ponovno za kratek
čas za merjenje. Nato ostane laserski žarek vklopljen.
1
3
2
1
3
2
OBJ_BUCH-947-005.book Page 234 Wednesday, April 23, 2014 9:23 AM
Содержание
- 164 Технические данные; Цифровой лазерный дальномер
- 165 Элементы индикации; Сборка; Установка/замена батареек; Работа с инструментом; Эксплуатация; включения
- 166 Режимы измерений
- 168 Измерение длины с выдержкой по времени
- 169 «cst»
- 170 Указания по применению
- 171 Выверка уровня; Неисправность – Причины и устранение; Причина
- 172 Контроль точности измерительного инструмента; Техобслуживание и сервис; Техобслуживание и очистка; Россия; Беларусь; Утилизация
Характеристики
Остались вопросы?Не нашли свой ответ в руководстве или возникли другие проблемы? Задайте свой вопрос в форме ниже с подробным описанием вашей ситуации, чтобы другие люди и специалисты смогли дать на него ответ. Если вы знаете как решить проблему другого человека, пожалуйста, подскажите ему :)












