Измерительные приборы Bosch GLM 80 шина R60 - инструкция пользователя по применению, эксплуатации и установке на русском языке. Мы надеемся, она поможет вам решить возникшие у вас вопросы при эксплуатации техники.
Если остались вопросы, задайте их в комментариях после инструкции.
"Загружаем инструкцию", означает, что нужно подождать пока файл загрузится и можно будет его читать онлайн. Некоторые инструкции очень большие и время их появления зависит от вашей скорости интернета.

72
| Português
2 609 140 807 | (21.1.11)
Bosch Power Tools
Ao desligar, todos os ajustes básicos são manti-
dos, a não ser o ajuste “raio laser contínuo”.
Raio laser contínuo
f
Não apontar o raio laser na direcção de pes-
soas nem de animais, e não olhar no raio la-
ser, nem mesmo de maiores distâncias.
O raio laser também permanece neste ajuste en-
tre as medições, para medir é suficiente premir
uma vez por instantes a tecla de medição
2
.
Funções de medição
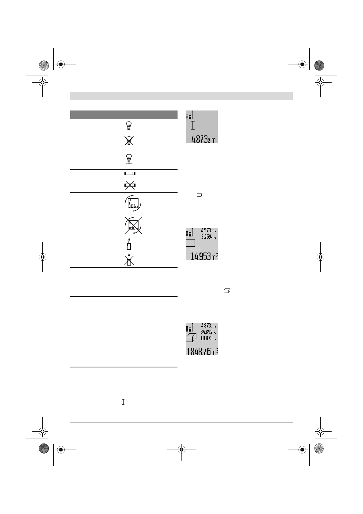
Simples medição de comprimento
Para a medição de comprimento, deverá premir
repetidamente a tecla
12
, até a indicação de me-
dição de comprimento aparecer no display.
Premir respectivamente uma vez
por instantes a tecla de medição
2
para ligar o laser e para medir.
O valor de medição é indicado
na linha de resultados
c
.
Se forem realizadas várias medições de compri-
mento, uma após a outra, os resultados das últi-
mas medições serão exibidos nas linhas de valo-
res de medição
a
.
Medição de áreas
Para a medição de área, deverá premir repetida-
mente a tecla
12
, até a indicação de medição de
área aparecer no display.
Medir em seguida o comprimento e a largura, da
mesma forma como para uma medição de com-
primento. O raio laser permanece ligado entre
as duas medições.
Após o final da segunda medi-
ção, a área é calculada automati-
camente e a linha de resultados
c
é indicada. Os valores de medi-
ção individuais encontram-se
nas linhas de medição
a
.
Medição do volume
Para as medições de volume, deverá premir re-
petidamente a tecla
12
, até a indicação de me-
dição de volume
aparecer no display.
Medir em seguida o comprimento, a largura, e a
altura da mesma forma como para uma medição
de comprimento. O raio laser permanece ligado
entre as três medições.
Após a terceira medição, o volu-
me é automaticamente calcula-
do e indicado na linha de resul-
tados
c
. Os valores de medição
individuais encontram-se nas li-
nhas de medição
a
.
Valores acima de 999 999 m
3
não podem ser in-
dicados; no display aparece
“ERROR”
. Dividir o
volume a ser medido em medições individuais,
calcular os valores separadamente e em seguida
somá-los.
Iluminação do display
Lig.
Desligado
Ligar-desli-
gar automati-
camente
Nível de bolha digital
Lig.
Desligado
Rotação do display
Lig.
Desligado
Raio laser contínuo
Lig.
Desligado
Unidade para distân-
cias (de acordo com
o modelo nacional)
m, pés, pole-
gadas, ...
Unidade para ângulos
° , %, mm/m
Predefinições
OBJ_BUCH-1347-001.book Page 72 Friday, January 21, 2011 10:30 AM
Содержание
- 244 Описание продукта и услуг; Применение по назначению; Цифровой лазерный дальномер
- 245 Измерение угла наклона
- 246 Изображенные составные части; Зарядное устройство
- 247 Элементы индикации; Сборка; Зарядка аккумулятора; Примите во внимание напряжение в сети!
- 248 Работа с инструментом; Эксплуатация; включения; Измерение
- 249 Меню «Основные настройки»
- 250 Непрерывный лазерный луч; Режимы измерений; Простое измерение длины
- 251 «max»
- 253 Список последних измеренных значений
- 254 Указания по применению; Общие указания
- 255 Проверка точности измерения расстояния; Неисправность; Причина
- 256 » на дисплее
- 257 Техобслуживание и сервис; Техобслуживание и очистка
- 258 Россия; Утилизация












