Измерительные приборы Bosch GLM 80 шина R60 - инструкция пользователя по применению, эксплуатации и установке на русском языке. Мы надеемся, она поможет вам решить возникшие у вас вопросы при эксплуатации техники.
Если остались вопросы, задайте их в комментариях после инструкции.
"Загружаем инструкцию", означает, что нужно подождать пока файл загрузится и можно будет его читать онлайн. Некоторые инструкции очень большие и время их появления зависит от вашей скорости интернета.

14
| Deutsch
2 609 140 807 | (21.1.11)
Bosch Power Tools
Bis auf die Einstellung „Permanenter Laser-
strahl“ bleiben beim Ausschalten alle Grundein-
stellungen erhalten.
Permanenter Laserstrahl
f
Richten Sie den Laserstrahl nicht auf Perso-
nen oder Tiere und blicken Sie nicht selbst
in den Laserstrahl, auch nicht aus größerer
Entfernung.
Der Laserstrahl bleibt in dieser Einstellung auch
zwischen den Messungen eingeschaltet, zum
Messen ist nur ein einmaliges kurzes Drücken
der Taste Messen
2
notwendig.
Messfunktionen
Einfache Längenmessung
Drücken Sie für Längenmessungen die Taste
12
so oft, bis im Display die Anzeige für
Längenmessung erscheint.
Drücken Sie zum Einschalten
des Lasers und zum Messen je-
weils einmal kurz auf die Taste
Messen
2
.
Der Messwert wird in der Ergeb-
niszeile
c
angezeigt.
Bei mehreren Längenmessungen hintereinander
werden die Ergebnisse der letzten Messungen in
den Messwertzeilen
a
angezeigt.
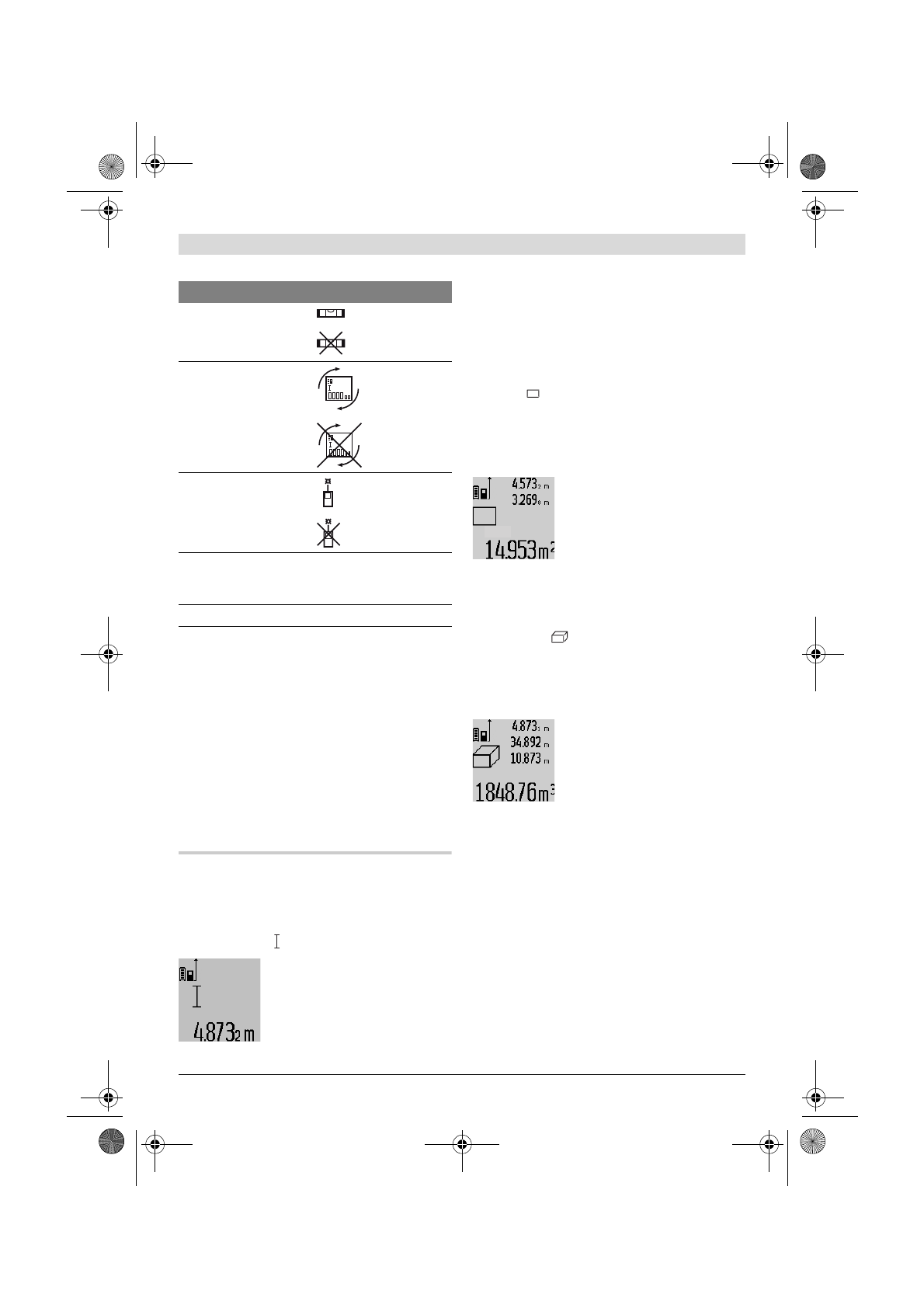
Flächenmessung
Drücken Sie für Flächenmessungen die Taste
12
so oft, bis im Display die Anzeige für Flächen-
messung
erscheint.
Messen Sie anschließend Länge und Breite
nacheinander wie bei einer Längenmessung.
Zwischen den beiden Messungen bleibt der La-
serstrahl eingeschaltet.
Nach Abschluss der zweiten
Messung wird die Fläche auto-
matisch errechnet und in der Er-
gebniszeile
c
angezeigt. Die Ein-
zelmesswerte stehen in den
Messwertzeilen
a
.
Volumenmessung
Drücken Sie für Volumenmessungen die Taste
12
so oft, bis im Display die Anzeige für Volu-
menmessung
erscheint.
Messen Sie anschließend Länge, Breite und Hö-
he nacheinander wie bei einer Längenmessung.
Zwischen den drei Messungen bleibt der Laser-
strahl eingeschaltet.
Nach Abschluss der dritten Mes-
sung wird das Volumen automa-
tisch errechnet und in der Er-
gebniszeile
c
angezeigt. Die
Einzelmesswerte stehen in den
Messwertzeilen
a
.
Werte über 999 999 m
3
können nicht angezeigt
werden, im Display erscheint
„ERROR“
. Teilen
Sie das zu messende Volumen in Einzelmessun-
gen auf, deren Werte Sie separat berechnen und
dann zusammenfassen.
Dauermessung / Minimum-/Maximummessung
(siehe Bild B)
Bei der Dauermessung kann das Messwerkzeug
relativ zum Ziel bewegt werden, wobei der
Messwert ca. alle 0,5 s aktualisiert wird. Sie
können sich z. B. von einer Wand bis zum ge-
wünschten Abstand entfernen, die aktuelle Ent-
fernung ist stets ablesbar.
Digitale Libelle
Ein
Aus
Displayrotation
Ein
Aus
Permanenter Laser-
strahl
Ein
Aus
Einheit Entfernung
(je nach Länderversi-
on)
m, ft, inch, ...
Einheit Winkel
° , %, mm/m
Grundeinstellungen
OBJ_BUCH-1347-001.book Page 14 Friday, January 21, 2011 10:30 AM
Содержание
- 244 Описание продукта и услуг; Применение по назначению; Цифровой лазерный дальномер
- 245 Измерение угла наклона
- 246 Изображенные составные части; Зарядное устройство
- 247 Элементы индикации; Сборка; Зарядка аккумулятора; Примите во внимание напряжение в сети!
- 248 Работа с инструментом; Эксплуатация; включения; Измерение
- 249 Меню «Основные настройки»
- 250 Непрерывный лазерный луч; Режимы измерений; Простое измерение длины
- 251 «max»
- 253 Список последних измеренных значений
- 254 Указания по применению; Общие указания
- 255 Проверка точности измерения расстояния; Неисправность; Причина
- 256 » на дисплее
- 257 Техобслуживание и сервис; Техобслуживание и очистка
- 258 Россия; Утилизация












