Измерительные приборы Bosch GLM 80 шина R60 - инструкция пользователя по применению, эксплуатации и установке на русском языке. Мы надеемся, она поможет вам решить возникшие у вас вопросы при эксплуатации техники.
Если остались вопросы, задайте их в комментариях после инструкции.
"Загружаем инструкцию", означает, что нужно подождать пока файл загрузится и можно будет его читать онлайн. Некоторые инструкции очень большие и время их появления зависит от вашей скорости интернета.

Srpski
|
309
Bosch Power Tools
2 609 140 807 | (21.1.11)
Sve do podešavanja
„
Permanentni laserski zrak
“
ostaju sačuvana sva osnovna podešavanja pri 
isključivanju.
Permanentni laserski zrak
f
Ne usmeravajte laserski zrak na osobe ili 
životinje i ne gledajte u laserski zrak čak ni 
sa daljeg odstojanja.
Laserski zrak ostaje u ovom podešavanju i 
izmedju merenja uključen, tako da je za merenje 
potrebno jednom na kratko pritisnuti taster za 
merenje 
2
.
Merne funkcije
Jednostruko merenje dužine
Pritiskajte za dužinska merenja taster
12
toliko
često, sve dok se na displeju ne pojavi pokazivač 
za dužinsko merenje  .
Pritisnite za uključivanje lasera i 
za merenje uvek i samo jednom 
na kratko taster merenje 
2
.
Merna vrednost se pokazuje u 
redu za rezultat 
c
.
Kod više dužinskih merenja jedno za drugim 
pokazuju se rezultati poslednjih merenja u 
redovima za mernu vrednost 
a
.
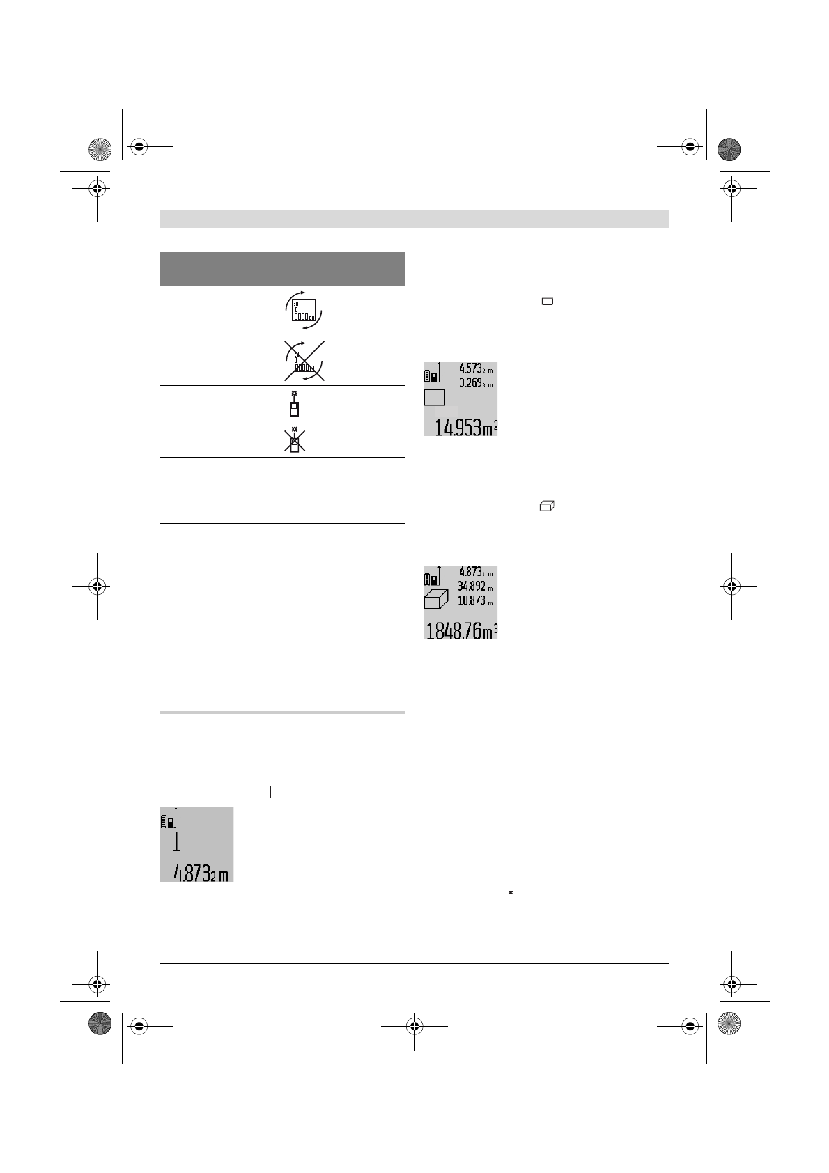
Merenje površina
Pritiskajte za površinsko merenje taster
12
tako
često, sve dok se na displeju ne pojavi pokazivač 
za površinsko merenje 
.
Merite na kraju dužinu i širinu jedno za drugim 
kao pri merenju dužina. Izmedju oba merenja 
ostaje laserski zrak uključen.
Posle završetka drugog merenja 
se površina automatski 
izračunava i prikazuje red sa 
rezultatom 
c
. Pojedinačne
merne vrednosti stoje u 
redovima za mernu vrednost 
a
.
Merenje zapremine
Pritiskajte za merenje zapremine taster
12
toliko
često, sve dok se na displeju na pojavi pokazivač 
za merenje zapremine 
.
Merite na kraju jedno za drugim dužinu, širinu i 
visinu kao kod merenja dužine. Izmedju tri 
merenja ostaje uključen laserski zrak.
Posle završavanja trećeg 
merenja izračunava se zapre-
mina automatski i prikazuje u 
redu za rezultat 
c
. Pojedinačne
vrednosti stoje u redovima za 
mernu vrednost 
a
.
Vrednosti iznad 999 999 m
3
ne mogu se
prikazati, na displeju se pojavljuje:
„
ERROR
“
.
Podelite zapreminu koju treba meriti u 
pojedinačna merenja, čije vrednosti izračunajte 
odvojeno i onda spojite.
Trajno merenje / Minimum-/Maksimum-
merenje (pogledajte sliku B)
Kod trajnog merenja može se merni alat relativ-
no pokretati prema cilju, pričem se aktuelizuje 
merna vrednost ca. svakih 0,5 s. Možete se 
udaljiti na primer od nekog zida pa do željenog 
rastojanja, aktuelno odstojanje je uvek moguće 
očitati.
Za trajna merenja pritiskajte taster promene 
funkcije sve dok se ne pojavi 
4
, na displeju
pokazivač za trajno merenje. Pritisnite za start 
trajnog merenja   taster merenje 
2
.
Display rotacja
Uključeno
Isključeno
Permanentni laserski 
zrak
Uključeno
Isključeno
Jedinica
–
rastojanje
(zavisno prema verziji 
zemlje)
m, ft, inch, ...
Jedinica ugla
°
, %, mm/m
Osnovna 
podešavanja
OBJ_BUCH-1347-001.book Page 309 Friday, January 21, 2011 10:30 AM
Содержание
- 244 Описание продукта и услуг; Применение по назначению; Цифровой лазерный дальномер
 - 245 Измерение угла наклона
 - 246 Изображенные составные части; Зарядное устройство
 - 247 Элементы индикации; Сборка; Зарядка аккумулятора; Примите во внимание напряжение в сети!
 - 248 Работа с инструментом; Эксплуатация; включения; Измерение
 - 249 Меню «Основные настройки»
 - 250 Непрерывный лазерный луч; Режимы измерений; Простое измерение длины
 - 251 «max»
 - 253 Список последних измеренных значений
 - 254 Указания по применению; Общие указания
 - 255 Проверка точности измерения расстояния; Неисправность; Причина
 - 256 » на дисплее
 - 257 Техобслуживание и сервис; Техобслуживание и очистка
 - 258 Россия; Утилизация
 
 
 
 
 
 
 
 
 
 
 
 
 
 
 
 
 
 
 
 
 
 
 
 
 
 
 
 
 
 
 
 
 
 
 
 
 
 
 
 
 
 
 
 
 
 
 
 
 
 
 
 
 
 
 
 
 
 
 
 
 
 
 
 
 
 
 
 
 
 
 
 
 
 
 
 
 
 
 
 
 
 
 
 
 
 
 
 
 
 
 
 
 
 
 
 
 
 
 
 
 
 
 
 
 
 
 
 
 
 
 
 
 
 
 
 
 
 
 
 
 
 
 
 
 
 
 
 
 
 
 
 
 
 
 
 
 
 
 
 
 
 
 
 
 
 
 
 
 
 
 
 
 
 
 
 
 
 
 
 
 
 
 
 
 
 
 
 
 
 
 
 
 
 
 
 
 
 
 
 
 
 
 
 
 
 
 
 
 
 
 
 
 
 
 
 
 
 
 
 
 
 
 
 
 
 
 
 
 
 
 
 
 
 
 
 
 
 
 
 
 
 
 
 
 
 
 
 
 
 
 
 
 
 
 
 
 
 
 
 
 
 
 
 
 
 
 
 
 
 
 
 
 
 
 
 
 
 
 
 
 
 
 
 
 
 
 
 
 
 
 
 
 
 
 
 
 
 
 
 
 
 
 
 
 
 
 
 
 
 
 
 
 
 
 
 
 
 
 
 
 
 
 
 
 
 
 
 
 
 
 
 
 
 
 
 
 
 
 
 
 
 
 
 
 
 
 
 
 
 
 
 
 
 
 
 
 
 
 
 
 
 
 
 
 
 
 
 
 
 
 
 
 
 
 
 
 
 
 
 
 
 
 
 
 
 
 
 
 
 
 
 
 
 
 
 
 
 
 
 
 
 
 
 
 
 
 
 
 
 
 
 
 
 
 
 
 
 
 
 
 
 
 
 
 
 
 
 
 











