Измерительные приборы Bosch GLM 80 шина R60 - инструкция пользователя по применению, эксплуатации и установке на русском языке. Мы надеемся, она поможет вам решить возникшие у вас вопросы при эксплуатации техники.
Если остались вопросы, задайте их в комментариях после инструкции.
"Загружаем инструкцию", означает, что нужно подождать пока файл загрузится и можно будет его читать онлайн. Некоторые инструкции очень большие и время их появления зависит от вашей скорости интернета.

Polski
|
193
Bosch Power Tools
2 609 140 807 | (21.1.11)
Wcisnąć przycisk minus
5
lub plus
11
, aby
dokonać wyboru jednego z punktów menu.
Aby wyjść z menu
„
Ustawienia podstawowe
“
,
należy wcisnąć przycisk pomiar
2
.
Po wyłączeniu urządzenia ustawienia
podstawowe pozostają zapamiętane. Wyjątek
stanowi tryb
„
Ciągła emisja wiązki lasera
“
.
Ciągła emisja wiązki
f
Nie wolno kierować wiązki laserowej
w stronę osób i zwierząt, jak również
spoglądać w wiązkę (nawet przy zacho-
waniu większej odległości).
W przypadku takiego ustawienia, wiązka lasera
emitowana jest także i pomiędzy pomiarami.
Aby rozpocząć pomiar, wystarczy raz krótko
nacisnąć przycisk
2
.
Funkcje pomiaru
Pojedynczy pomiar odległości
Aby dokonać pomiaru odległości należy dotąd
naciskać przycisk
12
, dopóki na wyświetlaczu
nie ukaże się wskaźnik pomiaru odległości .
Aby włączyć laser, a także aby
dokonać pomiaru, należy za
każdym razem krótko nacisnąć
przycisk pomiaru
2
.
Wartość zostanie wyświetlona w
pasku wyniku
c
.
W przypadku większej ilości pomiarów
odległości, następujących jeden po drugim,
ostatnie wyniki pomiarów wyświetlone zostaną
w paskach wartości pomiarowych
a
.
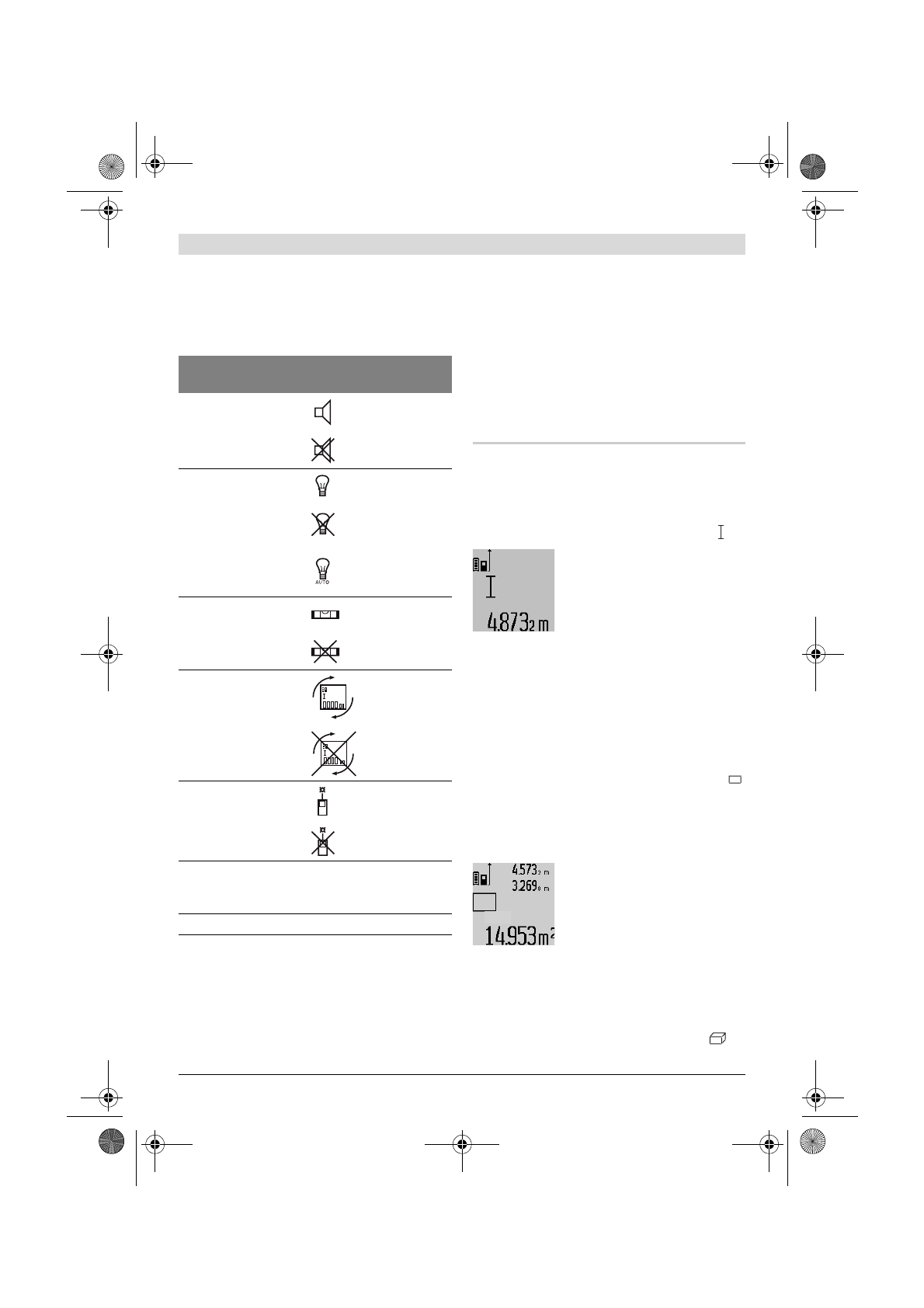
Pomiar powierzchni
Aby dokonać pomiaru powierzchni należy dotąd
naciskać przycisk
12
, dopóki na wyświetlaczu
nie ukaże się wskaźnik pomiaru powierzchni
.
Należy kolejno zmierzyć długość i szerokość, jak
w przypadku pomiaru odległości. Między oboma
pomiarami wiązka lasera jest nieprzerwanie
emitowana.
Po zakończeniu drugiego po-
miaru, powierzchnia obliczana
jest automatycznie i wy-
świetlana w pasku wyniku
c
.
Wartości poszczególnych
pomiarów wyświetlane są
w paskach wartości pomiarowych
a
.
Pomiar objętości (kubatury)
Aby dokonać pomiaru kubatury, należy dotąd
naciskać przycisk
12
, dopóki na wyświetlaczu
nie ukaże się wskaźnik pomiaru kubatury
.
Ustawienia
podstawowe
Sygnał dźwiękowy
Wł.
Wył.
Podświetlenie
wyświetlacza
Wł.
Wył.
Autom.
włączanie/
wyłączanie
Elektroniczna
libelka
Wł.
Wył.
Rotacja
wyświetlacza
Wł.
Wył.
Emisja ciągła wiązki
laserowej
Wł.
Wył.
Jednostka
odległości (w
zależności od kraju)
m, ft (stopy),
inch (cale), ...
Jednostka kąta
°
, %, mm/m
OBJ_BUCH-1347-001.book Page 193 Friday, January 21, 2011 10:30 AM
Содержание
- 244 Описание продукта и услуг; Применение по назначению; Цифровой лазерный дальномер
- 245 Измерение угла наклона
- 246 Изображенные составные части; Зарядное устройство
- 247 Элементы индикации; Сборка; Зарядка аккумулятора; Примите во внимание напряжение в сети!
- 248 Работа с инструментом; Эксплуатация; включения; Измерение
- 249 Меню «Основные настройки»
- 250 Непрерывный лазерный луч; Режимы измерений; Простое измерение длины
- 251 «max»
- 253 Список последних измеренных значений
- 254 Указания по применению; Общие указания
- 255 Проверка точности измерения расстояния; Неисправность; Причина
- 256 » на дисплее
- 257 Техобслуживание и сервис; Техобслуживание и очистка
- 258 Россия; Утилизация












