Видеокамеры Sony DCR-TRV40E - инструкция пользователя по применению, эксплуатации и установке на русском языке. Мы надеемся, она поможет вам решить возникшие у вас вопросы при эксплуатации техники.
Если остались вопросы, задайте их в комментариях после инструкции.
"Загружаем инструкцию", означает, что нужно подождать пока файл загрузится и можно будет его читать онлайн. Некоторые инструкции очень большие и время их появления зависит от вашей скорости интернета.

132
I n se r t i n g a sce n e f ro m
a V CR
– I n se r t Ed i t i n g
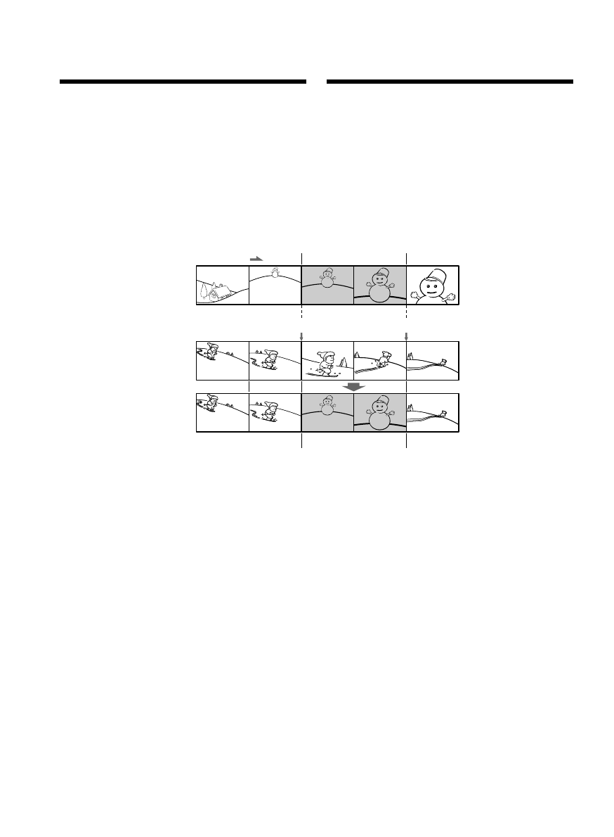
You can insert a new scene from a VCR onto
your originally recorded tape by specifying the
insert start and end points. Use the Remote
Commander for this operation. Connections are
the same as on page 128 or 130.
Insert a cassette containing the desired scene to
insert into the VCR.
[A ]
: A tape that contains the scene to be
superimposed
[B]
: A tape before editing
[C]
: A tape after editing
[a ]
[b ]
[c]
[A]
[B]
[C]
Вставка эпизода с
видеомагнитофона
– Монтаж в режиме вставки
С помощью видеомагнитофона можно
вставить новый эпизод на записанную ленту,
указав начальную и конечную точки вставки.
Для выполнения этой операции восполь-
зуйтесь пультом дистанционного управления.
Произведите подключение видеоаппаратуры
в соответствии с указаниями, приведенными
на страницах 128 и 130.
Вставьте в видеомагнитофон кассету с
нужным эпизодом.
[A ]
: Лента с накладываемым эпизодом.
[B]
: Лента до монтажа.
[C]
: Лента после монтажа.
Содержание
- 2 En g l i sh; W ARNING; D CR-TRV 5 0 E o n l y; M emory St ick; Для покупателей в Европе
- 6 Русский; Основные функции
- 7 Другие функции; По умолчанию отключен (
- 10 Оглавление
- 11 Поиск и устранение неисправностей
- 16 Руководство по быстрому запуску; Руководство по быстрому запуску – Запись на ленту; Подсоединение провода электропитания; на кассетном
- 17 Запись изображения; ПРИМЕЧАНИЕ; Видоискатель
- 18 Руководство по быстрому запуску – Запись на “Memory Stick”; была направлена вверх, как показано на рисунке.; Слот “Memory Stick”
- 19 Запись неподвижного изображения на “Memory Stick”; Снимите крышку объектива.; Нажмите кнопку PLAY или; или
- 20 — Ge t t i n g St a r t e d —; Usi n g t h i s m a n u a l; Да; Подготовка к эксплуатации; Знак на переключателе POWER
- 22 • Никогда не оставляйте видеокамеру в месте
- 23 Make sure that the following accessories are
- 24 I n st a l l i n g t h e b a t t e r y p a ck; To r e m o v e t h e b a t t e r y p a ck; If you use t he large capacit y bat t ery pack; Пункт 1 Подготовка; Установка батарейного блока; Для снятия батарейного блока; Поднимите видоискатель.
- 25 St e p 1 Pr e p a r i n g t h e p o w e r; “Inf oLITHIUM ” bat t ery pack (M series); Как зарядить батарейный блок; батарейным; штекера был направлен вверх.; нормальная зарядка; будет завершена. Для; Пункт 1 Подготовка источника
- 26 A f t e r ch a r g i n g t h e b a t t e r y p a ck; Not e; После зарядки батарейного блока; Примечание; C для зарядки полностью; Ch a r g i n g t i m e /; Батарейный блок
- 27 Approximate minutes when you use a fully; Approximate recording time and continuous; Re co r d i n g t i m e /; Recording w it h; * Приблизительное время в минутах при; Pl a y i n g t i m e /; Playing t ime w it h
- 28 Recommended charging t emperat ure; C до; Что такое “InfoLITHIUM”?
- 29 PRECAUTION; ПРЕДОСТЕРЕЖЕНИЕ; • Питание от сетевого адаптера переменного
- 30 about f our; Пункт 2 Установка; около четырех месяцев
- 31 St e p 2 Se t t i n g t h e d a t e a n d t i m e; If you do not set t he dat e and t ime; code of the tape and the “Memory Stick.”; W hen using your camcorder abroad; Set SUMMERTIME to ON in the menu setting.; Not e on t he t ime indicat or; Пункт 2 Установка даты и; Если дата и время не установлены
- 32 W o r l d t i m e d i f f e r e n ce s; Зона или страна; To adjust a t ime dif f erence; Разница поясного мирового времени; Для регулировки разницы времени
- 33 St e p 3 I n se r t i n g a; To e j e ct a ca sse t t e; Пункт 3 Как вставить; Установите источник питания.; Для извлечения кассеты
- 34 St e p 3 I n se r t i n g a ca sse t t e; Not es; Пункт 3 Как вставить кассету; Примечания; • Не нажимайте на кассетный отсек слишком; Для предотвращения случайного стирания
- 35 St e p 4 Usi n g t h e; To r e t u r n t o FN; Пункт 4 Использование; Для возврата к индикации FN; Для отмены установок; Нажмите кнопку; FN
- 36 St e p 4 Usi n g t h e t o u ch p a n e l
- 37 — Re co r d i n g – Ba si cs —; Re co rd i n g a p i ct u re; Your camcorder automatically focuses for you.; Переключатель LOCK
- 38 эпизоды в различных режимах SP и LP.
- 39 • Переход между эпизодами может быть не; После записи; Выньте батарейный блок.
- 40 Регулировка экрана ЖКД; • Если Вы используете экран ЖКД вне
- 41 Press FN and select PAGE2.; LCD screen backlight; Задняя подсветка экрана ЖКД; OPEN; индикаторная полоса
- 42 View f inder backlight; Подсветка видоискателя
- 43 lens cap can be attached even with the lens hood; If you forcibly attach these objects onto the lens; Usi n g t h e zo o m f e a t u r e; Move the power zoom lever a little for a slower
- 44 To use zoom great er t han 10; Для использования наезда более 10; Наезд видеокамеры более 10; Если снимается близкий предмет
- 45 Rot at e t he LCD screen 180 degrees.; Pict ure in t he mirror mode; Поверните экран ЖКД на 180 градусов.; Xz; Изображение в зеркальном режиме
- 46 На ленту индикаторы не записываются.; Отображается, если лента имеет кассетную память.; Remaining bat t ery t ime/
- 47 Time code; Код времени
- 48 Usi n g N i g h t Sh o t; и “SUPER; Night Shot Light emit t er/
- 49 Usi n g N i g h t Sh o t Li g h t; в установках; • Не используйте ночную съемку в ярко
- 50 Night Shot Light; затвором; Лампа NightShot Light
- 51 Recording with the self-timer starts in 10 seconds; To st o p t h e co u n t d o w n; Press SELFTIMER so that the; Как остановить обратный отсчет
- 52 The self-timer is automatically cancelled when:; – Переключатель POWER установлен в
- 53 the last recorded scene and the next scene you; EN D SEA RCH; You can go to the end of the recorded section; Функция END SEARCH; Нажмите кнопку END SCH еще раз.
- 54 End search; Функция EDITSEARCH; Вы можете найти начало следующей записи.; Функция Просмотра записи; Нажмите на мгновение сторону; Функция поиска конца записи
- 55 — Pl a y b a ck – Ba si cs —; Pl a y i n g b a ck a t a p e; To st o p p l a y b a ck; Воспроизведение – Основные функции; Остановка воспроизведения
- 56 W hen monit oring on t he LCD screen; You can turn the LCD panel over and move it; If you leave t he pow er on f or a long t ime; Your camcorder gets warm. This is not a; W hen you open or close t he LCD panel; Make sure that the LCD panel is set vertically.; Воспроизведение ленты; Во время контроля на экране ЖКД
- 57 A b o u t d a t e /t i m e a n d v a r i o u s se t t i n g s; Using t he t ouch panel; Дата/время и настройки записи
- 58 To not display various set t ings; нет индикатора; Специальные настройки; – Воспроизводится незаписанный участок; Код данных
- 59 To a d v a n ce t h e t a p e; Перемотка вперед
- 60 To v i e w p i ct u r e s a t d o u b l e sp e e d; In t he various playback modes; Покадровый просмотр изображения; Замедленное воспроизведение
- 61 TV; S VIDEO
- 62 V i e w i n g t h e r e co r d i n g o n TV; red plug to the audio input jack on the VCR or; – Eu r o p e a n m o d e l s o n l y; Use the 21-pin adaptor supplied with your; If your TV has an S video jack; Pictures can be reproduced more faithfully by; To display t he screen indicat ors on TV; Просмотр записи на телевизоре; — Только для европейских моделей; Если телевизор имеет разъем S-видео
- 63 — A d v a n ce d Re co r d i n g Op e r a t i o n s —; Количество записанных изображений; Дополнительные функции записи; • Установите “Memory Stick” в Вашу
- 64 • Не трясите и не стучите по Вашей видеокамере; “Memory Stick”; Титр не может быть записан.
- 65 Нет индикатора
- 67 Se l f -t i m e r r e co r d i n g; Bef ore operat ion; Запись по таймеру самозапуска; Перед выполнением операции
- 68 To ca n ce l t h e se l f -t i m e r; Для отмены таймера самозапуска
- 69 Re co r d i n g i m a g e s w i t h t h e f l a sh; Запись изображений со вспышкой; Установите опцию PHOTO REC в режиме
- 70 • Во время фотосъемки на ленту Вы не
- 71 M ENU
- 72 – Если видеокамера вынесена из помещения; В режиме HOLD баланса белого
- 73 Usi n g t h e w i d e m o d e; To ca n ce l t h e w i d e m o d e; In t he w ide mode; или на; Как отменить широкоэкранный формат; В широкоэкранном режиме
- 74 Usi n g t h e f a d e r; MONOTONE; Только введение изображения.
- 75 To ca n ce l t h e f a d e r; FADER; Использование фейдера; При введении изображения; Для отмены функции фейдера
- 76 меню
- 77 SEPIA; : Цвет и яркость изображения
- 78 To ca n ce l t h e p i ct u r e e f f e ct; W hen you set t he POW ER sw it ch t o OFF (CHG); с помощью диска SEL/PUSH; Для отмены эффекта изображения; – Запись неподвижных изображений на
- 79 STILL
- 80 It ems t o be adjust ed; Регулируемые опции
- 81 При записи в режиме медленного затвора
- 83 Usi n g t h e PROGRA M A E; Set the POWER switch to CAMERA or; To ca n ce l t h e PROGRA M A E; Для отмены функции PROGRAM AE; Нажмите кнопку PROGRAM AE.
- 85 To r e t u r n t o t h e a u t o m a t i c e x p o su r e; EXPOSURE; ночных сцен) с большой достоверностью
- 86 SPOT
- 87 – Exposure; If you slide NIGHTSHOT t o ON; Your camcorder automatically returns from the
- 88 Fo cu si n g m a n u a l l y; Переключатель FOCUS; Фокусировка вручную; капельками воды
- 89 To r e t u r n t o t h e a u t o f o cu s; To f ocus precisely; Для возврата к автофокусировке; Как выполнить точную фокусировку
- 90 . Фокус выбранной Вами точки будет
- 91 Usi n g t h e sp o t f o cu s – Sp o t Fo cu s; – Backlight; Focal dist ance inf ormat ion; It is not displayed on the screen.; Информация о фокусном расстоянии; На экране не отображается.
- 92 Пример; Длительность ожидания
- 93 I n t e r v a l r e co r d i n g; To ca n ce l t h e i n t e r v a l r e co r d i n g; Perform either of the following:; Запись с интервалами; Как отменить запись с интервалами; – Переключите POWER в положение,
- 94 On recording t ime; There may be a discrepancy in the recording time; О продолжительности записи
- 95 To ca n ce l t h e f r a m e r e co r d i n g; Как отменить запись монтажного кадра
- 96 — A d v a n ce d Pl a y b a ck Op e r a t i o n s —; • Вы не можете видоизменять эпизоды,
- 98 • С помощью функции цифровых эффектов
- 99 To ca n ce l t h e PB ZOOM; Отмена функции PB ZOOM
- 100 • Вы не можете обработать введенные с; Изображения в режиме PB ZOOM
- 102 Перед началом работы
- 103 To st o p se a r ch i n g; Press; If you use a casset t e w it hout casset t e memory; You cannot superimpose or search a title.; To superimpose a t it le; Остановка поиска; Для наложения титра
- 105 Искомая позиция ленты
- 109 Sca n n i n g p h o t o; To st o p sca n n i n g; Сканирование фотокадров; DATE SEARCH; Остановка сканирования
- 110 — Ed i t i n g —; D u b b i n g a t a p e; Usi n g t h e A /V co n n e ct i n g ca b l e; Монтаж; Перезапись ленты; • Установите опцию DISPLAY в
- 111 If your VCR is a monaural t ype; После завершения записи ленты; mini
- 112 Передача сигнала
- 113 После завершения перезаписи ленты
- 114 Поменять местами
- 115 St e p 1 : Co n n e ct i n g t h e V CR; Установка кода IR SETUP; , а затем нажмите диск
- 117 Компонент телевизора/видеомагнитофона; Not e on IR SETUP codes; The IR SETUP code is stored in the memory of; О кодах IR SETUP
- 118 But t ons t o cancel recording pause on t he VCR; кнопка
- 119 (3 ) Se t t i n g y o u r ca m co r d e r a n d t h e
- 120 W hen t he VCR does not operat e correct ly; St e p 2 : Se t t i n g t h e V CR t o o p e r a t e; • После проверки кода в разделе “О кодах IR; Пункт
- 121 You cannot dub the titles, display indicators.; the dubbing function correctly, depending on the
- 123 • When you complete step 3, the image used to; • Когда Вы выполните действие пункта 3,
- 125 Er a si n g t h e p r o g r a m m e y o u h a v e se t; Turn the SEL/PUSH EXEC dial to select; To cancel erasing; Turn the SEL/PUSH EXEC to select RETURN,; Стирание установленной программы; Для отмены стирания
- 126 Er a si n g a l l p r o g r a m m e s; To cancel erasing all programmes; Select RETURN with the SEL/PUSH EXEC dial; To cancel a programme you have set; You cannot operate recording during Digital; On a blank port ion of t he t ape; You cannot set IN or OUT on a blank portion of; Стирание всех программ; Для отмены стирания всех программ; Действие
- 127 To st o p d u b b i n g d u r i n g e d i t i n g; You cannot record on t he VCR w hen:
- 129 Usi n g t h e Re m o t e Co m m a n d e r; If your TV or VCR is a monaural t ype; Запись видео или телепрограмм; По окончании перезаписи ленты; Если видеомагнитофон монофонический
- 130 DV OUT
- 131 During digit al edit ing; Во время цифрового монтажа
- 133 To ch a n g e t h e i n se r t e n d p o i n t; Как изменить конечную точку вставки
- 135 A u d i o d u b b i n g; Наложение звука
- 136 Аудиоаппаратура
- 137 No connection is necessary.; through the S VIDEO jack or the AUDIO/VIDEO; If you make all t he connect ions; The audio input to be recorded will take; Не требует подключений.; принадлежностей
- 138 To add audio more precisely; Для более точного наложения звука
- 139 • Новая аудиозапись не может быть
- 140 Su p e r i m p o si n g a t i t l e; VACATION; Наложение титров; с помощью диска SEL/PUSH EXEC
- 141 Если на ленте есть незаписанный участок; Титр может отображаться некорректно.
- 142 If t he t ape has t oo many index signals; Как отключить отображение титров; • Цвет титра изменяется следующим
- 143 Set the POWER switch to CAMERA or VCR.; To ca n ce l e r a si n g a t i t l e; Select RETURN in step 4 or 5.; Для отмены стирания титра; В пункте 4 или 5 выберите опцию RETURN.
- 145 M a k i n g y o u r o w n t i t l e s; To ch a n g e a t i t l e y o u h a v e st o r e d; To delet e t he t it le; Создание собственных титров; Удаление титра
- 146 La b e l l i n g a ca sse t t e
- 147 To e r a se t h e l a b e l y o u h a v e m a d e; You cannot label the tape. Slide the write-protect; delete data you do not need.; If you have superimposed t it les in t he casset t e; When the label is displayed, up to four titles also; To ent er a space; Маркировка кассеты; Для стирания созданной Вами метки; Последний символ будет стерт.; Изменение созданной Вами метки; Ввод пробела
- 148 To ca n ce l d e l e t i n g; Для отмены удаления
- 149 — “ M e m o r y St i ck ” Op e r a t i o n s —; On f i l e f o r m a t; St ill image; Usi n g a “ M e m o r y St i ck ”; Работа с “Memory Stick”; О форматах файлов; Неподвижное изображение; Как использовать “Memory Stick”
- 150 N o t e s o n i m a g e d a t a co m p a t i b i l i t y
- 151 I n se r t i n g a “ M e m o r y St i ck ”; W hile t he access lamp is lit or f lashing; Как установить “Memory Stick”; была обращена лицом, как показано; Как извлечь “Memory Stick”; Слегка нажмите на “Memory Stick”.; MEMORY STICK ERROR”
- 152 Usi n g a t o u ch p a n e l
- 153 In the memory camera/; To ca n ce l se t t i n g s
- 155 Se l e ct i n g t h e st i l l i m a g e q u a l i t y; You can select the image quality in still image; с помощью
- 156 I m a g e q u a l i t y se t t i n g s; Set t ing; Настройки качества изображения; Параметр
- 158 Se l e ct i n g t h e i m a g e si ze; STILL SET; Выбор размера изображения; Движущиеся изображения:
- 159 I m a g e si ze se t t i n g s/; Type of “M emory St ick”s/
- 160 020, изображение может быть
- 161 Число записанных изображений; Перед началом записи; Вставьте “Memory Stick” в видеокамеру.
- 163 Re co r d i n g i m a g e s co n t i n u o u sl y; You can record still images continuously. Before; NORMAL
- 164 Нажмите кнопку PHOTO сильнее.
- 165 During recording st ill images cont inuously
- 168 A b o u t HOLOGRA M A F; , слегка нажмите кнопку; О системе HOLOGRAM AF; * HOLOGRAM AF удовлетворяет требованиям; HOLOGRAM AF emit t er/
- 170 – переключатель POWER установлен в
- 172 Выполнить запись звука с ленты нельзя.; Титры, уже записанные на кассетах
- 173 If your TV or VCR has an S video jack
- 174 In the following instances, recording is; – При попытке выполнить ввод изображений,
- 175 (цветовая рирпроекция
- 176 Голубой
- 177 изображения
- 178 MEM; To ca n ce l M EM ORY M I X; Для отмены установки MEMORY MIX
- 179 • Нельзя использовать функцию MEMORY; Если выбрана операция M. OVERLAP; Нельзя изменять параметры режима.
- 182 Размер неподвижных изображений; Образцы изображений
- 183 To st o p r e co r d i n g; Как прекратить запись
- 187 • При записи изображений с ленты на
- 188 Установите опцию DISPLAY в
- 189 REC ERROR”, и Вы не можете
- 191 Erase OUT first and then IN from of the last
- 192 • Невозможна перезапись титров, экранных; На незаписанном участке ленты
- 193 NOT READY appears on t he LCD screen w hen:
- 194 To st o p co p y i n g; • Вставьте в видеокамеру ленту с записью и; Для остановки копирования; Нажмите кнопу MENU или кнопку
- 195 Image size of st ill images; Image size is automatically set to 640; W hen t he access lamp is lit or f lashing; Do not shake or knock your camcorder. As well; Размер неподвижного изображения
- 196 To st o p M e m o r y Ph o t o p l a y b a ck; PB
- 197 Not es on t he f ile name
- 198 Recording dat a; DATA CODE on PAGE2. You can also use the; To make screen indicat ors disappear; Image number/Total number of recorded images/
- 199 : Для отображения предыдущих шести; метка
- 200 To st o p M PEG m o v i e p l a y b a ck; VOLUM E
- 201 To play back recorded pict ures on a TV screen; – при воспроизведении изображений,; Движущееся изображение
- 202 W hen recording t ime is t oo short
- 203 Recording dat e/ t ime; You can view recording date/time when you; To make screen indicat or disappear; Номер каталога данных/номер файла
- 204 To st o p co p y i n g i n t h e m i d d l e; Остановка в процессе копирования
- 205 During copying; Во время копирования; Индексный экран не записывается.; При копировании фильмов; После пункта 6, нажмите кнопку MPEG
- 206 Вставьте “Memory Stick” в Вашу видеокамеру.
- 207 To ca n ce l PB ZOOM; M oving pict ures recorded on “M emory St ick”s; В режиме PB ZOOM
- 208 To st o p t h e sl i d e sh o w; Остановка показа слайдов
- 209 Select the desired image using –/+ buttons; To view recorded images on TV; again from the beginning.; Замена “Memory Stick” во время просмотра
- 210 INDEX; MARK
- 211 D e l e t i n g se l e ct e d i m a g e s; Удаление выбранных изображений; • Для удаления защищенного изображения
- 212 D e l e t i n g i m a g e s – D ELETE; DEL; Удаление изображений – DELETE
- 213 Во время отображения индикации DELETING
- 214 M oving pict ures; Движущиеся изображения
- 215 Se t t i n g w i t h t h e m e n u; DATE; из установок меню, и; • Установите записанную “Memory Stick” в; Установка с помощью меню; Принтер
- 216 Usi n g t h e o p t i o n a l p r i n t e r; Se t t i n g w i t h t h e t o u ch p a n e l; Когда “Memory Stick” не содержит файлов
- 217 — V i e w i n g I m a g e s Usi n g y o u r Co m p u t e r —; Просмотр изображений на
- 219 There are two methods of USB connection,
- 220 N o t e s o n u si n g y o u r co m p u t e r; “ M e m o r y St i ck ”; • Надлежащее функционирование “Memory; Программное обеспечение; • В зависимости от Вашего программного
- 221 inst all a USB driver; на; драйвер USB; DirectX 8.0a или более поздняя версия; Акустическая система:
- 225 If you connect the USB cable before USB driver; W indow s XP Home Edit ion/ Prof essional users; If you go to USBCONNECT in the menu settings
- 226 V i e w i n g i m a g e s r e co r d e d o n a t a p e; Выберите язык установки.
- 228 Установите опцию USBCONNECT в
- 229 St ep 1: Uninst all t he incorrect USB driver
- 230 Select and delete the underlined devices; W indow s 98SE
- 231 St ep1: Uninst all t he incorrect USB driver
- 232 View ing images recorded on a t ape
- 233 Select
- 234 Ca p t u r i n g st i l l i m a g e s; Захват неподвижных изображений; Выберите опцию
- 235 Ca p t u r i n g m o v i n g p i ct u r e s; Захват движущихся изображений
- 236 N o t e o n u si n g y o u r co m p u t e r; Co m m u n i ca t i o n s w i t h y o u r co m p u t e r; Если возникает какая-либо неисправность; Для закрытия системы встроенной помощи; Щелкните
- 237 V i e w i n g i m a g e s; Просмотр изображений; Перед началом операции; • Чтобы просматривать изображения
- 238 Folder cont aining moving pict ure dat a/; ssss
- 239 To unplug the USB cable, eject the “Memory; – Для пользователей Windows 2000
- 241 I n st a l l i n g t h e USB d r i v e r; Click the “USB Driver” to open the folder; Установка драйвера USB
- 244 Следуйте описанной ниже процедуре.
- 245 A f t e r ca p t u r i n g i m a g e s a n d so u n d; После ввода изображений и звука; VIDEO
- 246 • Вам необходимо установить программное
- 247 — Usi n g t h e N e t w o r k f u n ct i o n —; – D CR-TRV 5 0 E o n l y; You can access the Internet using a Bluetooth; Лампа Bluetooth; Доступ к сети; – Только для модели DCR-TRV50E
- 248 A cce ssi n g t h e n e t w o r k; Hold your camcorder with your hand through; A f t e r u si n g t h e st y l u s; Put it back in the holder. Hold the stylus; После использования пера
- 249 On t rademarks; • The BLUETOOTH trademarks are owned by; You cannot use the optional printer.; О торговых марках; • Торговые марки BLUETOOTH являются
- 250 — Cu st o m i si n g Y o u r Ca m co r d e r —; PUSH EXEC dial. The default settings can be; Выполнение индивидуальных; Изменение установок по; RETURN и нажмите
- 251 To m a k e t h e m e n u d i sp l a y d i sa p p e a r; продолжение на следующей странице
- 262 Изменение установок по умолчанию с помощью меню; Выбор настройки режимов по каждому пункту; M ANUAL SET; Примечание к функции FLASH LVL
- 263 Режим; Примечания по функции устойчивой съемки; на функцию устойчивой съемки.; В случае отмены функции устойчивой съемки; Появится индикатор выключенной функции устойчивой съемки
- 264 Пояснения; Примечания по NTSC PB; приблизительно на 10 процентов.
- 266 M EM ORY SET; Примечания о форматировании; Stick” установлен в положение LOCK.
- 267 Примечание по опции PRINT SET
- 268 TAPE SET; Примечание к режиму LP; чтобы максимально использовать возможности видеокамеры.; Примечание к режиму AUDIO MODE; баланс между звуковыми каналами с помощью режима AUDIO MIX.
- 270 OTHERS
- 282 Во время записи; Признаки; Разновидности неисправностей и методы их устранения
- 284 Во время воспроизведения
- 285 Во время записи и воспроизведения
- 289 Пятизначный код
- 290 Предупреждающие индикаторы и сообщения; • Изображение не может быть записано на; Предупреждающие индикаторы; • Повреждены данные “Memory Stick”
- 291 Предупреждающие сообщения
- 292 — A d d i t i o n a l I n f o r m a t i o n —; Usa b l e ca sse t t e s; Se l e ct i n g ca sse t t e t y p e s; Дополнительная информация; Используемые кассеты; Выбор типов кассет; любые другие кассеты форматов 8 mm,
- 293 mark on t he casset t e; Pl a y i n g b a ck a n N TSC-r e co r d e d t a p e; Co p y r i g h t si g n a l; W h e n y o u p l a y b a ck; Знак; Емкость памяти кассет, помеченных знаком; Сигнал авторского права; При воспроизведении
- 294 A u d i o m o d e; Sound f rom speaker; STEREO
- 295 W h e n a f f i x i n g a l a b e l o n t h e ca sse t t e; Прикрепление наклейки на кассету
- 297 Re m a i n i n g b a t t e r y t i m e i n d i ca t o r; О батарейном блоке “InfoLITHIUM”; Хранение батарейного блока
- 298 A b o u t t h e n a m e “ i .LI N K”
- 299 i .LI N K b a u d r a t e
- 300 Usi n g y o u r ca m co r d e r a b r o a d; Countries and areas where you can use network; PAL syst em; Brazil; NTSC syst em; Бразилия; Система NTSC
- 301 M o i st u r e co n d e n sa t i o n; Not e on moist ure condensat ion; Конденсация влаги; Если произошла конденсация влаги; Примечания к конденсации влаги
- 302 M a i n t e n a n ce i n f o r m a t i o n; Cl e a n i n g t h e v i d e o h e a d s; Информация по уходу; Чистка видеоголовки
- 304 Pr e ca u t i o n s; Ca m co r d e r o p e r a t i o n; примерно через четыре месяца; Меры предосторожности; Эксплуатация видеокамеры
- 305 On h a n d l i n g t a p e s
- 307 Ba t t e r y p a ck; If bat t eries are leaking; В случае утечки электролита из батареек
- 310 Технические характеристики; Видеокамера
- 312 Ca m co r d e r
- 313 I d e n t i f y i n g p a r t s a n d co n t r o l s
- 315 ej; Динамик
- 317 Make sure that the length of the tripod screw
- 318 The buttons that have the same name on the; qf
- 319 To p r e p a r e t h e Re m o t e Co m m a n d e r; Not es on t he Remot e Commander; • Направляйте датчик дистанционного
- 320 LCD scr e e n a n d V i e w f i n d e r /; Рабочие индикаторы
- 321 This indicator appears only when the flash is
- 323 Алфавитный указатель
- 324 Sony Corporation












