Микроволновые печи Midea MM821LMK - инструкция пользователя по применению, эксплуатации и установке на русском языке. Мы надеемся, она поможет вам решить возникшие у вас вопросы при эксплуатации техники.
Если остались вопросы, задайте их в комментариях после инструкции.
"Загружаем инструкцию", означает, что нужно подождать пока файл загрузится и можно будет его читать онлайн. Некоторые инструкции очень большие и время их появления зависит от вашей скорости интернета.

10
ПОРЯДОК РАБОТЫ
УСТРОЙСТВО ПЕЧИ
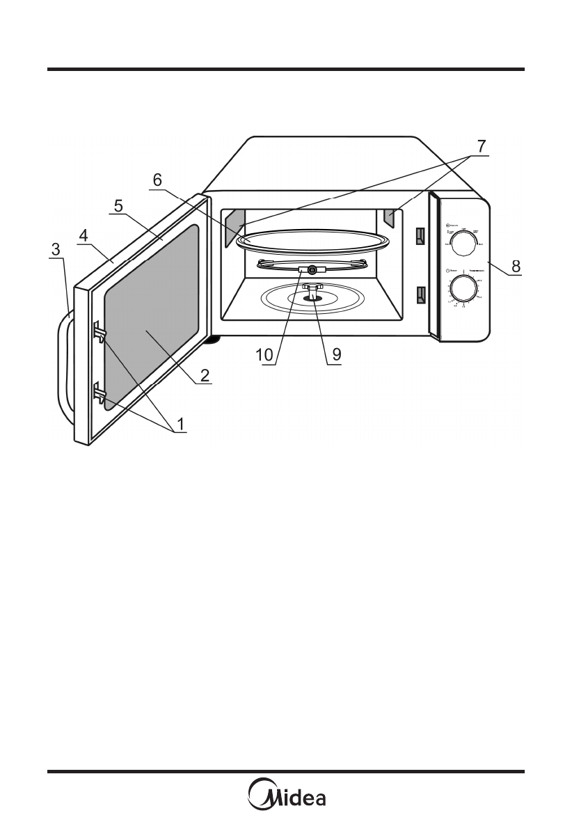
Устройство печи приведено на рисунке 1.
1
Защелки дверцы
2
Окно печи
3
Ручка дверцы
4
Дверца
5
Уплотнительная прокладка дверцы
6
Стеклянное блюдо
7
Вентиляционные отверстия
8
Панель управления
9
Муфта вала мотора
10
Кольцо роликовое
Рисунок 1
Содержание
- 3 СОДЕРЖАНИЕ
- 4 ТЕХНИЧЕСКИЕ ХАРАКТЕРИСТИКИ; ОСНОВНЫЕ ПАРАМЕТРЫ И ХАРАКТЕРИСТИКИ
- 5 РЕКОМЕНДАЦИИ ПОКУПАТЕЛЮ; КОМПЛЕКТНОСТЬ
- 6 МЕРЫ БЕЗОПАСНОСТИ
- 7 МЕРЫ ПОЖАРНОЙ БЕЗОПАСНОСТИ
- 8 ПОДГОТОВКА К ПРИМЕНЕНИЮ
- 11 ПОРЯДОК РАБОТЫ; УСТРОЙСТВО ПЕЧИ
- 12 ПАНЕЛЬ УПРАВЛЕНИЯ; ПОДКЛЮЧЕНИЕ ПЕЧИ
- 13 РЕЖИМ «ПРИГОТОВЛЕНИЕ ПИЩИ»
- 14 РЕЖИМ «РАЗМОРАЖИВАНИЕ ПО ВЕСУ»; ПРЕРЫВАНИЕ РАБОТЫ ПЕЧИ В ПРОЦЕССЕ ПРИГОТОВЛЕНИЯ
- 15 ЧИСТКА ПЕЧИ
- 17 ПЕРЕЧЕНЬ РАБОТ, ВЫПОЛНЯЕМЫХ ПРИ ПРОДАЖЕ ПЕЧИ
- 18 ПОЯСНЕНИЯ СИМВОЛОВ; РЕЦЕПТЫ ДЛЯ ПРИГОТОВЛЕНИЯ В; Рецепты для приготовления в
- 19 ВВЕДЕНИЕ; МИКРОВОЛНОВАЯ КУЛИНАРИЯ
- 21 Таблица для размораживания пищевых продуктов
- 22 Таблица для разогревания
- 23 РЕЦЕПТЫ; Закусками принято называть небольшие порции более или
- 24 Коктейль из креветок
- 25 Фаршированные шампиньоны; Помидоры, фаршированные ветчиной и сыром
- 26 Крем из лосося; Чипсы
- 27 ГОРЯЧИЕ БУТЕРБРОДЫ; Горячие бутерброды, строго говоря, следует отнести к за-
- 28 Чизбургер
- 29 Горячие бутерброды с сыром и ветчиной
- 30 СУПЫ; Как правило, супы готовятся на основе готового мясного
- 31 Суп из чернослива
- 32 Суп-крем из шампиньонов; Суп харчо
- 33 Суп из курицы; Щи из квашеной капусты
- 34 ГАРНИРЫ; Гарнир - это основная составляющая любого второго блю-
- 35 Картофельное пюре
- 36 Макаронные изделия; Рис
- 37 МЯСНЫЕ БЛЮДА; Одной из привлекательных сторон микроволновых печей
- 38 Телятина, тушенная с черносливом
- 39 Мясо, тушеное с овощами
- 40 Бефстроганов с грибами
- 41 ПТИЦА; чается особенно сочным и нежным. В процессе зажаривания
- 42 Запеканка из курицы и ветчины; Куриные котлеты
- 43 Курица, тушенная с грибами
- 44 РЫБА И МОРЕПРОДУКТЫ; Приготовление рыбы и морепродуктов при помощи микро-
- 45 Камбала с шампиньонами и креветками; Треска, запеченная с картофелем
- 46 Тефтели рыбные
- 47 Гребешки в паровом соусе
- 48 ДЕСЕРТЫ И СЛАДКИЕ БЛЮДА; Приготовление сладких блюд в микроволновой печи проте-
- 49 Шоколадные шарики
- 50 Шоколадно-ореховый пудинг; Печеные яблоки с ореховой корочкой
- 51 Груши в карамели; Рисовая шоколадная бабка
- 52 МУЧНЫЕ ИЗДЕЛИЯ
- 53 Шоколадный кекс; Торт «Перевертыш» с ананасами
- 54 Пицца с креветками
- 55 КУЛИНАРНЫЕ АНЕКДОТЫ
- 56 КУЛИНАРНЫЕ АНЕКТОДЫ