Измерительные приборы Bosch GLM 250 - инструкция пользователя по применению, эксплуатации и установке на русском языке. Мы надеемся, она поможет вам решить возникшие у вас вопросы при эксплуатации техники.
Если остались вопросы, задайте их в комментариях после инструкции.
"Загружаем инструкцию", означает, что нужно подождать пока файл загрузится и можно будет его читать онлайн. Некоторые инструкции очень большие и время их появления зависит от вашей скорости интернета.

Português |
51
Bosch Power Tools
1 609 92A 0KT | (23.4.14)
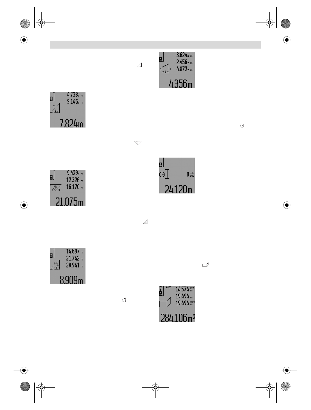
a) Medição simples de pitágoras (veja figura H)
Premir repetidamente a tecla para a comutação de função
3
até a indicação para a medição simples de pitágoras
apa-
recer no display.
Medir os percursos
“1”
e
“2”
nesta sequência, como numa
medição de comprimento. Observe que entre o percurso
“1”
e o percurso procurado
“E”
haja um ângulo recto.
Após o final da última medição, o re-
sultado para o percurso procurado
“E”
é indicado na linha de resultados
c
. Os valores de medição individuais
encontram-se nas linhas de
medição
a
.
b) Medição dupla de pitágoras (veja figura I)
Premir repetidamente a tecla para a comutação de função
3
até a indicação para a medição dupla de pitágoras
apa-
recer no display.
Medir os percursos
“1”
,
“2”
e
“3”
nesta sequência, como nu-
ma medição de comprimento. Observe que entre o percurso
“1”
e o percurso procurado
“E”
haja um ângulo recto.
Após o final da última medição, o re-
sultado para o percurso procurado
“E”
é indicado na linha de resultados
c
. Os valores de medição individuais
encontram-se nas linhas de
medição
a
.
c) Medição combinada de pitágoras (veja figura J)
Premir repetidamente a tecla para a comutação de função
3
até a indicação para a medição combinada de pitágoras
aparecer no display.
Medir os percursos
“1”
,
“2”
e
“3”
nesta sequência, como nu-
ma medição de comprimento. Observe que entre o percurso
“1”
e o percurso procurado
“E”
haja um ângulo recto.
Após o final da última medição, o re-
sultado para o percurso procurado
“E”
é indicado na linha de resultados
c
. Os valores de medição individuais
encontram-se nas linhas de
medição
a
.
d) Medição trapezoidal (veja figura K)
Premir repetidamente a tecla para a comutação de função
3
até a indicação para a medição trapezoidal
aparecer no
display.
Medir os percursos
“1”
,
“2”
e
“3”
nesta sequência, como nu-
ma medição de comprimento. Observe que a medição do per-
curso
“3”
comece exactamente no ponto final do percurso
“1”
e que entre os percursos
“1”
e
“2”
e entre
“1”
e
“3”
haja
um ângulo recto.
Após o final da última medição, o re-
sultado para o percurso procurado
“E”
é indicado na linha de resultados
c
. Os valores de medição individuais
encontram-se nas linhas de
medição
a
.
Medição temporizada de comprimento
A medição de comprimento temporizada ajuda, por ex. a me-
dir em locais de difícil acesso ou se deverá ser evitado que o
instrumento de medição se movimente durante a medição.
Para a medição temporizada de comprimento, deverá premir
repetidamente a tecla para comutação de função
3
, até a indi-
cação de medição temporizada de comprimento aparecer
no display.
Na linha de valor de medição
a
é indicado o período entre o
accionamento e a medição. O período de tempo pode ser
ajustado premindo a tecla +
6
ou a tecla –
12
durante 1 a
60 segundos.
Em seguida deverá premir a tecla de
medição
7
, para ligar o raio laser e pa-
ra mirar o ponto de alvo. Premir nova-
mente a tecla de medição
7
para ac-
cionar a medição. A medição é rea-
lizada após o período de tempo selec-
cionado. O valor de medição é indica-
do na linha de resultados
c
.
A adição e a subtracção dos resultados de medição, assim co-
mo a medição mínima e máxima, não são possíveis na medi-
ção temporizada de comprimento.
Medição da superfície da parede (veja figura L)
A medição da superfície da parede serve para averiguar a so-
ma de várias superfícies individuais com uma altura comum.
No exemplo ilustrado deve ser averiguada a área total de vá-
rias paredes, que têm a mesma altura do tecto
A
, mas diferen-
tes comprimentos
B
.
Para as medições de superfícies de paredes, deverá premir a
tecla para comutação de função
3
, até a indicação de medi-
ções de áreas de paredes
aparecer no display.
Medir a altura do recinto
A
como para uma medição de com-
primento. O valor de medição (
“cst”
) é indicado na linha su-
perior de valores de medição
a
. O laser permanece ligado.
Medir em seguida o comprimento
B
1
da primeira parede. A área é automa-
ticamente calculada e indicada e a li-
nha de resultados
c
é indicada. O valor
de medição de comprimento encontra-
se na linha de valor de medição central
a
. O laser permanece ligado.
1
2
1
3
2
1
3
2
1
3
2
OBJ_BUCH-947-005.book Page 51 Wednesday, April 23, 2014 9:23 AM
Содержание
- 164 Технические данные; Цифровой лазерный дальномер
- 165 Элементы индикации; Сборка; Установка/замена батареек; Работа с инструментом; Эксплуатация; включения
- 166 Режимы измерений
- 168 Измерение длины с выдержкой по времени
- 169 «cst»
- 170 Указания по применению
- 171 Выверка уровня; Неисправность – Причины и устранение; Причина
- 172 Контроль точности измерительного инструмента; Техобслуживание и сервис; Техобслуживание и очистка; Россия; Беларусь; Утилизация
Характеристики
Остались вопросы?Не нашли свой ответ в руководстве или возникли другие проблемы? Задайте свой вопрос в форме ниже с подробным описанием вашей ситуации, чтобы другие люди и специалисты смогли дать на него ответ. Если вы знаете как решить проблему другого человека, пожалуйста, подскажите ему :)












