Плита DeLonghi PEMX 965 GHI - инструкция пользователя по применению, эксплуатации и установке на русском языке. Мы надеемся, она поможет вам решить возникшие у вас вопросы при эксплуатации техники.
Если остались вопросы, задайте их в комментариях после инструкции.
"Загружаем инструкцию", означает, что нужно подождать пока файл загрузится и можно будет его читать онлайн. Некоторые инструкции очень большие и время их появления зависит от вашей скорости интернета.

47
19
10
11
12
13
14
15
16
21
Рис. 1.2
17
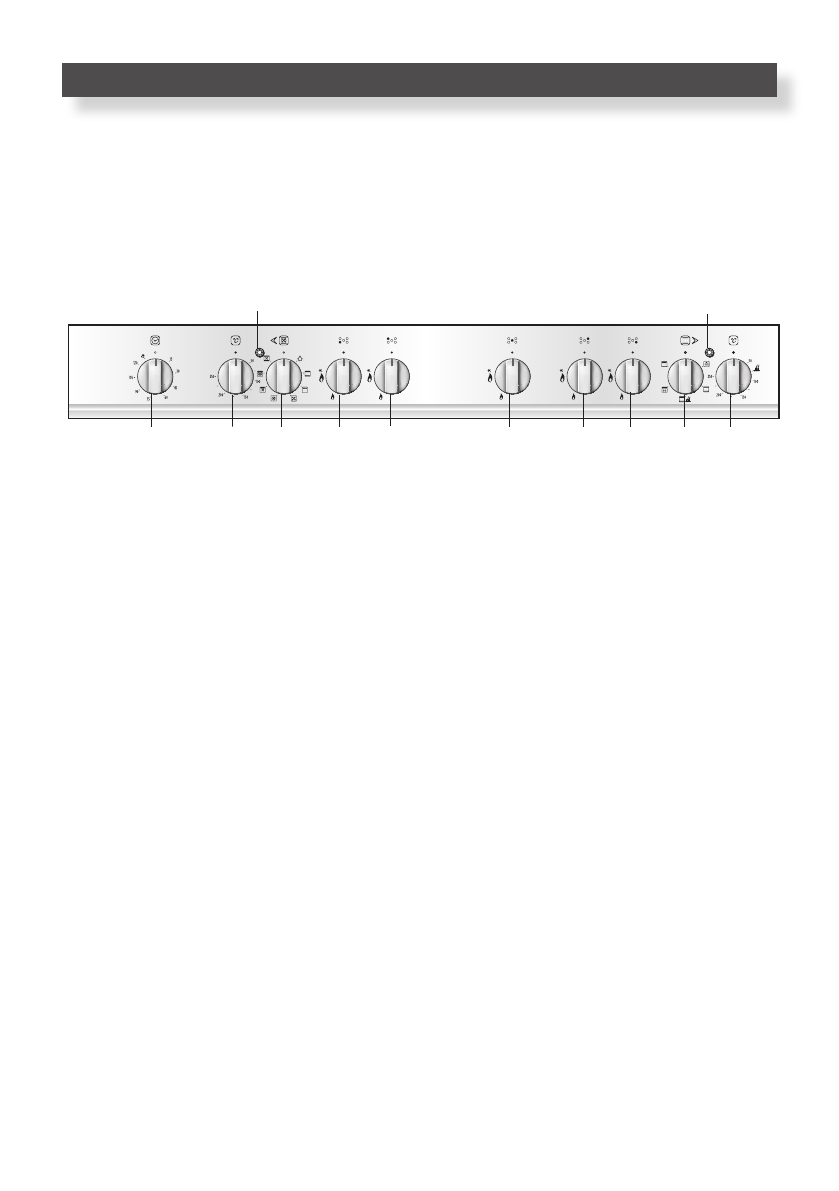
ОПИСАНИЕ ПАНЕЛИ УПРАВЛЕНИЯ
(Рис. 1.2)
10.
Ручка термостата электрической многофункциональной духовки (духовка слева)
11.
Ручка переключателя режимов электрической многофункциональной духовки (духовка
слева)
12.
Ручка левой передней горелки
13.
Ручка левой задней горелки
14.
Ручка центральной горелки
15.
Ручка правой задней горелки
16.
Ручка правой передней горелки
17.
Ручка переключателя режимов электрической духовки с естественной конвекцией
(духовка справа)
18.
Ручка термостата электрической духовки с естественной конвекцией (духовка справа)
19.
Ручка таймера (только для главной духовки слева)
20.
Индикаторная лампа температуры внутри электрической духовки с естественной
конвекцией (духовка справа)
21.
Индикаторная лампа температуры внутри электрической многофункциональной духовки
(духовка слева)
18
20
ПЕРЕДНЯЯ ПАНЕЛЬ УПРАВЛЕНИЯ
Содержание
- 2 ENGLISH
- 43 Уважаемый покупатель!; РУССКИЙ; Заявление о полном соответствии требованиям; ЕЭС
- 44 ВАЖНЫЕ ПРАВИЛА ПОЛЬЗОВАНИЯ И РЕКОМЕНДАЦИИ
- 45 ПРИ ПЕРВОМ ИСПОЛЬЗОВАНИИ ДУХОВКИ; РЕКОМЕНДАЦИИ ПО ЭКСПЛУАТАЦИИ
- 46 ВАРОЧНЫЕ ЗОНЫ; РАБОЧАЯ ПОВЕРХНОСТЬ
- 47 ОПИСАНИЕ ПАНЕЛИ УПРАВЛЕНИЯ; ПЕРЕДНЯЯ ПАНЕЛЬ УПРАВЛЕНИЯ
- 48 ГАЗОВЫЕ ГОРЕЛКИ; ИСПОЛЬЗОВАНИЕ РАБОЧЕЙ ПОВЕРХНОСТИ
- 49 ЗАЖИГАНИЕ ГОРЕЛОК
- 50 ВЫБОР ГОРЕЛКИ
- 51 Основная многофункциональная духовка; ОБЩИЕ ХАРАКТЕРИСТИКИ; ПРИНЦИПЫ РАБОТЫ
- 52 ОСВЕЩЕНИЕ ДУХОВКИ; ТРАДИЦИОННОЕ ПРИГОТОВЛЕНИЕ КОНВЕКЦИЕЙ
- 53 ПРИГОТОВЛЕНИЕ НА ГРИЛЕ; ОСВЕЩЕНИЕ ДУХОВОГО ШКАФА
- 56 ПРИГОТОВЛЕНИЕ НА РЕШЕТКЕ
- 59 ПОДОГРЕВАНИЕ ТАРЕЛОК; ПРИГОТОВЛЕНИЕ НА ВЕРТЕЛЕ
- 60 ПРИГОТОВЛЕНИЕ В ДУХОВКЕ
- 61 ИСПОЛЬЗОВАНИЕ ГРИЛЯ
- 62 Использование в качестве решетки; Использование в качестве плоской
- 63 ЧАСЫ С ТАЙМЕРОМ
- 64 ОЧИСТКА И ТЕХНИЧЕСКОЕ ОБСЛУЖИВАНИЕ
- 67 ТРОЙНАЯ КОРОНАРНАЯ ГОРЕЛКА
- 68 ДВЕРЦА ДУХОВКИ; ПОЛОСТЬ ПОД ДУХОВКОЙ
- 69 ДЕМОНТАЖ ДВЕРЦЫ ДУХОВКИ
- 70 Рекомендации
- 71 УСТАНОВКА
- 73 ПЕРЕДВИЖЕНИЕ ПЛИТЫ; РЕГУЛИРОВАНИЕ УРОВНЯ
- 74 ПОМЕЩЕНИЕ ДЛЯ УСТАНОВКИ
- 75 ТИПЫ ГАЗА; II; ПОДКЛЮЧЕНИЕ ГАЗА; ГАЗОВЫЕ ЭЛЕМЕНТЫ
- 79 ТАБЛИЦА С ДАННЫМИ О ФОРСУНКАХ; Приток воздуха, необходимый для обеспечения горения газа (2м
- 80 СМАЗКА КРАНОВ ПОДАЧИ ГАЗА
- 81 ЭЛЕКТРИЧЕСКИЕ ЭЛЕМЕНТЫ ОБОРУДОВАНИЯ