Микроволновые печи Gorenje GMO-20 DGE - инструкция пользователя по применению, эксплуатации и установке на русском языке. Мы надеемся, она поможет вам решить возникшие у вас вопросы при эксплуатации техники.
Если остались вопросы, задайте их в комментариях после инструкции.
"Загружаем инструкцию", означает, что нужно подождать пока файл загрузится и можно будет его читать онлайн. Некоторые инструкции очень большие и время их появления зависит от вашей скорости интернета.

38
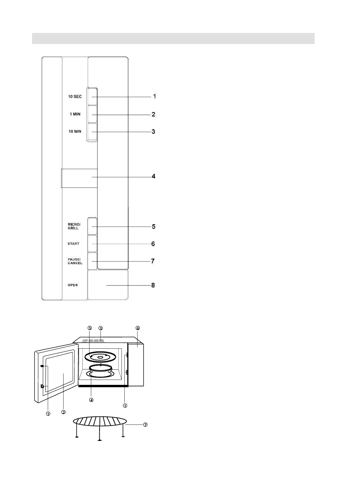
Diagramm des Mikrow ellenherdes
1
- Sicherheits-
TјЫЯ
erriegelung
2
- Sichtfenster
3
-
BОХјПЭЮЧРЬЬМСХТЭгОăШНОЫăBОХјПЭЮЧРЬЯОЧЭТХКЭШЫ
4
- Rollenring:
5
- Glasunterteller
6
- Bedienfeld
7
- Grillrost
1 -
10 -Sekunden-Taste
2 -
1-Minuten-Taste
3 -
10-Minuten-Taste
4 -
Digitalanzeige
5 -
Taste MICRO/GRILL
6 -
Taste START
7
- Taste PAUSE/CANCEL
8
-
нППЧОЧ