Котел De Dietrich MS 24 MI FF - инструкция пользователя по применению, эксплуатации и установке на русском языке. Мы надеемся, она поможет вам решить возникшие у вас вопросы при эксплуатации техники.
Если остались вопросы, задайте их в комментариях после инструкции.
"Загружаем инструкцию", означает, что нужно подождать пока файл загрузится и можно будет его читать онлайн. Некоторые инструкции очень большие и время их появления зависит от вашей скорости интернета.

62
71.03982.03 - IT
ISTRUZIONI DESTINATE ALL’INSTALLATORE
24
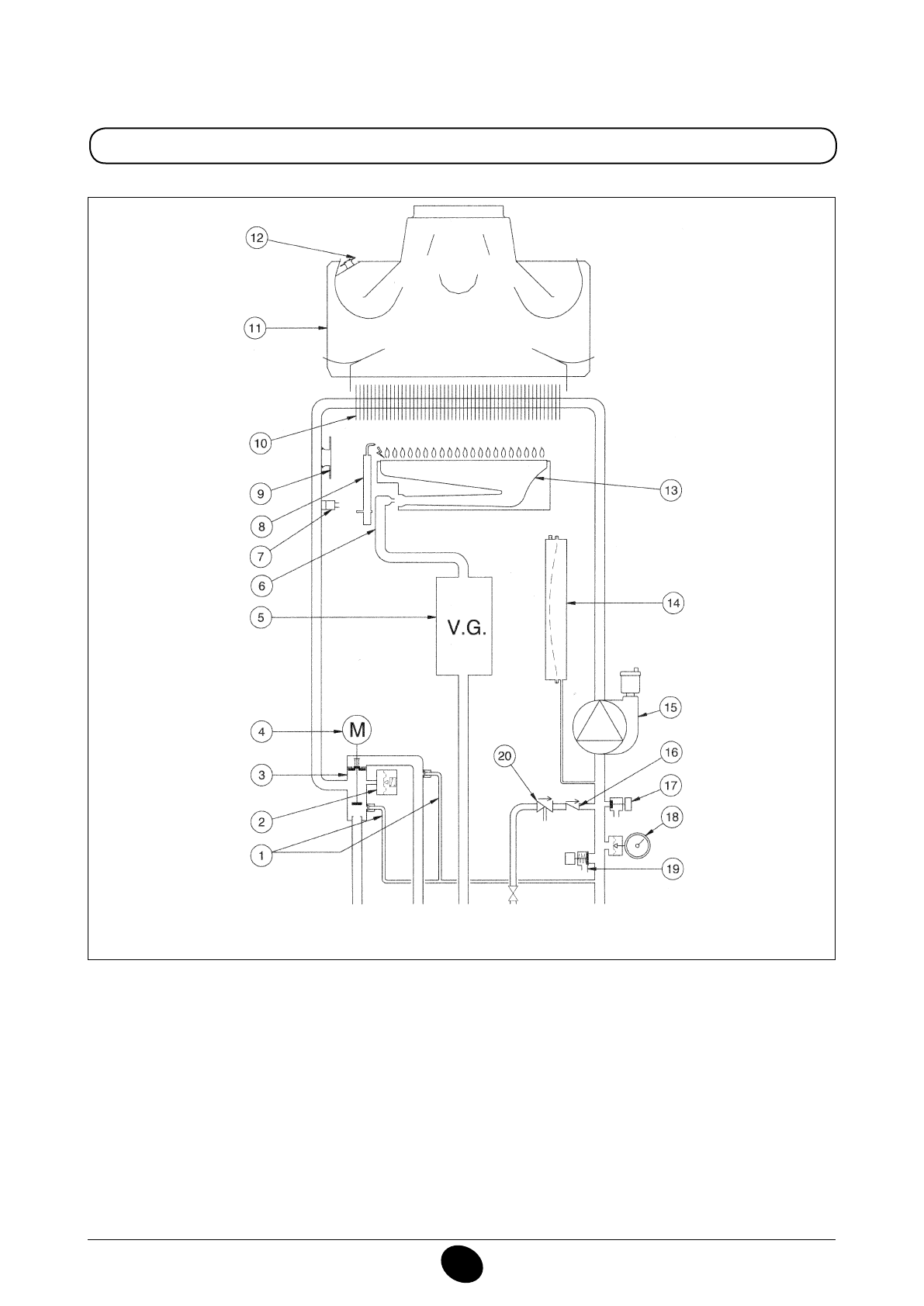
Legenda:
1
By-pass automatico con valvola di ritegno
2
Pressostato idraulico
3
Valvola tre vie
4
Motore valvola tre vie
5
Valvola gas con diaframma gas
6
Rampa gas con ugelli
7
Sonda NTC riscaldamento
8
Elettrodo di accensione / rivelazione iamma
9
Termostato di sicurezza
10
Scambiatore acqua fumi
11
Convogliatore fumi
12
Termostato fumi
13
Bruciatore
14
Vaso espansione
15
Pompa con separatore d’aria
16
Valvola di non ritorno
17
Rubinetto di scarico caldaia
18
Manometro
19
Valvola di sicurezza
20
Disconnettore
Figura 20
Mandata
riscaldamento
Gas
Entrata
sanitario
Ritorno
riscaldamento
CG_2268 / 1006_2103
Mandata
bollitore
Содержание
- 267 Уважае
- 268 ПОДГОТОВКА К УСТАНОВКЕ
- 271 ВЫКЛЮЧЕНИЕ КОТЛА; ЗАПОЛНЕНИЕ СИСТЕМЫ
- 272 СИСТЕМА БЕЗОПАСНОСТИ: ИНДИКАТОРЫ И СРАБАТЫВАНИЕ; ВЫКЛЮЧЕНИЕ НА ДЛИТЕЛЬНЫЙ ПЕРИОД. ЗАЩИТА ОТ ЗАМЕРЗАНИЯ; Неисправность
- 273 ПРОВЕРКИ ПЕРЕД УСТАНОВКОЙ КОТЛА
- 274 ПРИМЕЧАНИЕ ПО РАСШИРИТЕЛЬНОМУ БАКУ
- 276 УСТАНОВКА ДЫМОХОДА И ВОЗДУХОВОДА
- 277 ВАРИАНТЫ ГОРИЗОНТАЛЬНОЙ УСТАНОВКИ НАКОНЕЧНИКА ДЫМОХОДА
- 278 Модель котла
- 280 ПОДКЛЮЧЕНИЕ К ЭЛЕКТРОПИТАНИЮ; Внимание
- 281 ПОДСОЕДИНЕНИЕ КОМНАТНОГО ТЕРМОСТАТА
- 282 ПОРЯДОК ЗАМЕНЫ ГАЗА; газовый клапан
- 283 ФУНКЦИЯ КАЛИБРОВКИ ГАЗОВОГО КЛАПАНА; Примечание
- 284 ВЫВОД ИНФОРМАЦИИ НА ДИСПЛЕЙ КОТЛА
- 287 КОНТРОЛЬ ОТХОДЯЩИХ ГАЗОВ; ап
- 288 ПРИСОЕДИНЕНИЕ ДАТЧИКА УЛИЧНОЙ ТЕМПЕРАТУРЫ; СОЕДИНЕНИЕ НАРУЖНОГО БЛОКА БОЙЛЕРА
- 289 ЕЖЕГОДНОЕ ТЕХНИЧЕСКОЕ ОБСЛУЖИВАНИЕ
- 290 ОЧИСТКА ОТ ИЗВЕСТКОВОГО НАЛЕТА В СИСТЕМЕ ГВС
- 292 ФУНКЦИОНАЛЬНАЯ СХЕМА КОНТУРОВ
- 296 СХЕМЫ ЭЛЕКТРИЧЕСКИХ СОЕДИНЕНИЙ; Цвет проводов; олубой
- 300 ТЕХНИЧЕСКИЕ ДАННЫЕ
Добрый день. Может ли газовый котел Дитрих 24 одноконтурный постоянно работать на электролите?