Котел De Dietrich MS 24 MI FF - инструкция пользователя по применению, эксплуатации и установке на русском языке. Мы надеемся, она поможет вам решить возникшие у вас вопросы при эксплуатации техники.
Если остались вопросы, задайте их в комментариях после инструкции.
"Загружаем инструкцию", означает, что нужно подождать пока файл загрузится и можно будет его читать онлайн. Некоторые инструкции очень большие и время их появления зависит от вашей скорости интернета.

260
71.03982.03 - EL
ΟΔΗΓΙΕΣ ΓΙΑ ΤΟΝ ΕΓΚΑΤΑΣΤΑΤΗ
24
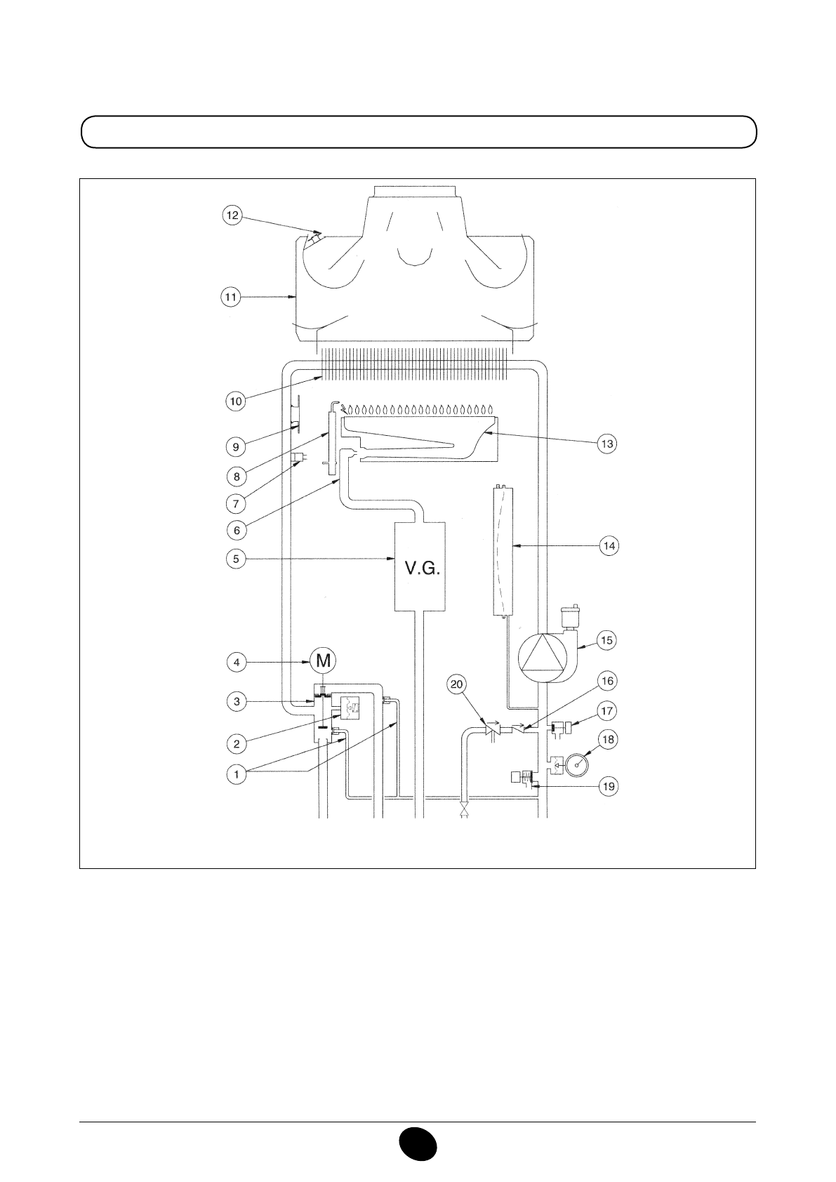
Υπόμνημα:
1
Βαλβίδα συγκράτησης σε αυτόματο by-pass
2
Υδραυλικός πρεσοστάτης
3
Τρίοδη βαλβίδα
4
Κινητήρας τρίοδη βαλβίδα
5
Βαλβίδα αερίου με διάφραγμα αερίου
6
Ράμπα αερίου με ακροφύσια
7
Αισθητήρας NTC θέρμανσης
8
Ηλεκτρόδιο ανάφλεξης/ανίχνευσης φλόγας
9
Θερμοστάτης ασφαλείας
10
Εναλλάκτης νερού-καυσαερίων
11
Συλλέκτης καπνών
12
Θερμοστάτης καυσαερίων
13
Καυστήρας
14
Δοχείο εκτόνωσης
15
Αντλία με διαχωριστή αέρα
16
Ανεπίστροφη βαλβίδα
17
Στρόφιγγα αποστράγγισης λέβητα
18
Μανόμετρο
19
Βαλβίδα ασφαλείας
20
Αποζεύκτης
Εικόνα 20
Παροχή
θέρμανσης
Αέριο
Είσοδος
νερού οικιακής
χρήσης
Επιστροφή
θέρμανσης
C
G_2268 / 1006_2103
Παροχή
μπόιλερ
Содержание
- 267 Уважае
- 268 ПОДГОТОВКА К УСТАНОВКЕ
- 271 ВЫКЛЮЧЕНИЕ КОТЛА; ЗАПОЛНЕНИЕ СИСТЕМЫ
- 272 СИСТЕМА БЕЗОПАСНОСТИ: ИНДИКАТОРЫ И СРАБАТЫВАНИЕ; ВЫКЛЮЧЕНИЕ НА ДЛИТЕЛЬНЫЙ ПЕРИОД. ЗАЩИТА ОТ ЗАМЕРЗАНИЯ; Неисправность
- 273 ПРОВЕРКИ ПЕРЕД УСТАНОВКОЙ КОТЛА
- 274 ПРИМЕЧАНИЕ ПО РАСШИРИТЕЛЬНОМУ БАКУ
- 276 УСТАНОВКА ДЫМОХОДА И ВОЗДУХОВОДА
- 277 ВАРИАНТЫ ГОРИЗОНТАЛЬНОЙ УСТАНОВКИ НАКОНЕЧНИКА ДЫМОХОДА
- 278 Модель котла
- 280 ПОДКЛЮЧЕНИЕ К ЭЛЕКТРОПИТАНИЮ; Внимание
- 281 ПОДСОЕДИНЕНИЕ КОМНАТНОГО ТЕРМОСТАТА
- 282 ПОРЯДОК ЗАМЕНЫ ГАЗА; газовый клапан
- 283 ФУНКЦИЯ КАЛИБРОВКИ ГАЗОВОГО КЛАПАНА; Примечание
- 284 ВЫВОД ИНФОРМАЦИИ НА ДИСПЛЕЙ КОТЛА
- 287 КОНТРОЛЬ ОТХОДЯЩИХ ГАЗОВ; ап
- 288 ПРИСОЕДИНЕНИЕ ДАТЧИКА УЛИЧНОЙ ТЕМПЕРАТУРЫ; СОЕДИНЕНИЕ НАРУЖНОГО БЛОКА БОЙЛЕРА
- 289 ЕЖЕГОДНОЕ ТЕХНИЧЕСКОЕ ОБСЛУЖИВАНИЕ
- 290 ОЧИСТКА ОТ ИЗВЕСТКОВОГО НАЛЕТА В СИСТЕМЕ ГВС
- 292 ФУНКЦИОНАЛЬНАЯ СХЕМА КОНТУРОВ
- 296 СХЕМЫ ЭЛЕКТРИЧЕСКИХ СОЕДИНЕНИЙ; Цвет проводов; олубой
- 300 ТЕХНИЧЕСКИЕ ДАННЫЕ
Добрый день. Может ли газовый котел Дитрих 24 одноконтурный постоянно работать на электролите?