Котел De Dietrich MS 24 MI FF - инструкция пользователя по применению, эксплуатации и установке на русском языке. Мы надеемся, она поможет вам решить возникшие у вас вопросы при эксплуатации техники.
Если остались вопросы, задайте их в комментариях после инструкции.
"Загружаем инструкцию", означает, что нужно подождать пока файл загрузится и можно будет его читать онлайн. Некоторые инструкции очень большие и время их появления зависит от вашей скорости интернета.

227
71.03982.03 - RO
INSTR
UCŢIUNI DESTINATE INSTALATORULUI
24
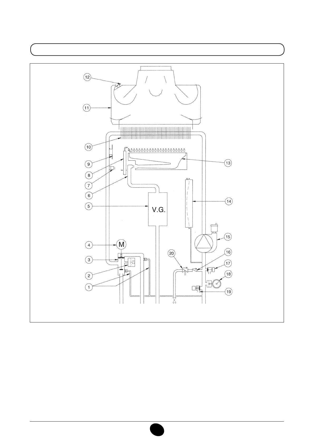
Legendă:
1
Val
vă de reţinere pe by-pass automat
2
Presostat hidraulic
3
Vană cu trei căi
4
Motor vană cu trei căi
5
Vană de gaz cu diafragmă
6
Rampă gaz cu duze
7
Sondă NTC circuit de încălzire
8
Electrod de aprindere/detectare a lăcării
9
Termostat de siguranţă
10
Schimbător apă-gaze arse
11
Colector gaze arse
12
Termostat gaze arse
13
Arzător
14
Vas de expansiune
15
Pompă cu separator aer
16
Supapă de sens
17
Robinet de golire centrală
18
Manometru
19
Valvă de siguranţă
20
Separator
Figura 20
Tur
încălzire
Gaz
Intrare
apă
menajeră
Retur
încălzire
C
G_2268 / 1006_2103
Tur
boiler
Содержание
- 267 Уважае
- 268 ПОДГОТОВКА К УСТАНОВКЕ
- 271 ВЫКЛЮЧЕНИЕ КОТЛА; ЗАПОЛНЕНИЕ СИСТЕМЫ
- 272 СИСТЕМА БЕЗОПАСНОСТИ: ИНДИКАТОРЫ И СРАБАТЫВАНИЕ; ВЫКЛЮЧЕНИЕ НА ДЛИТЕЛЬНЫЙ ПЕРИОД. ЗАЩИТА ОТ ЗАМЕРЗАНИЯ; Неисправность
- 273 ПРОВЕРКИ ПЕРЕД УСТАНОВКОЙ КОТЛА
- 274 ПРИМЕЧАНИЕ ПО РАСШИРИТЕЛЬНОМУ БАКУ
- 276 УСТАНОВКА ДЫМОХОДА И ВОЗДУХОВОДА
- 277 ВАРИАНТЫ ГОРИЗОНТАЛЬНОЙ УСТАНОВКИ НАКОНЕЧНИКА ДЫМОХОДА
- 278 Модель котла
- 280 ПОДКЛЮЧЕНИЕ К ЭЛЕКТРОПИТАНИЮ; Внимание
- 281 ПОДСОЕДИНЕНИЕ КОМНАТНОГО ТЕРМОСТАТА
- 282 ПОРЯДОК ЗАМЕНЫ ГАЗА; газовый клапан
- 283 ФУНКЦИЯ КАЛИБРОВКИ ГАЗОВОГО КЛАПАНА; Примечание
- 284 ВЫВОД ИНФОРМАЦИИ НА ДИСПЛЕЙ КОТЛА
- 287 КОНТРОЛЬ ОТХОДЯЩИХ ГАЗОВ; ап
- 288 ПРИСОЕДИНЕНИЕ ДАТЧИКА УЛИЧНОЙ ТЕМПЕРАТУРЫ; СОЕДИНЕНИЕ НАРУЖНОГО БЛОКА БОЙЛЕРА
- 289 ЕЖЕГОДНОЕ ТЕХНИЧЕСКОЕ ОБСЛУЖИВАНИЕ
- 290 ОЧИСТКА ОТ ИЗВЕСТКОВОГО НАЛЕТА В СИСТЕМЕ ГВС
- 292 ФУНКЦИОНАЛЬНАЯ СХЕМА КОНТУРОВ
- 296 СХЕМЫ ЭЛЕКТРИЧЕСКИХ СОЕДИНЕНИЙ; Цвет проводов; олубой
- 300 ТЕХНИЧЕСКИЕ ДАННЫЕ
Добрый день. Может ли газовый котел Дитрих 24 одноконтурный постоянно работать на электролите?