Акустика Yamaha NS-SW700 - инструкция пользователя по применению, эксплуатации и установке на русском языке. Мы надеемся, она поможет вам решить возникшие у вас вопросы при эксплуатации техники.
Если остались вопросы, задайте их в комментариях после инструкции.
"Загружаем инструкцию", означает, что нужно подождать пока файл загрузится и можно будет его читать онлайн. Некоторые инструкции очень большие и время их появления зависит от вашей скорости интернета.

D
eut
sc
h
3
De
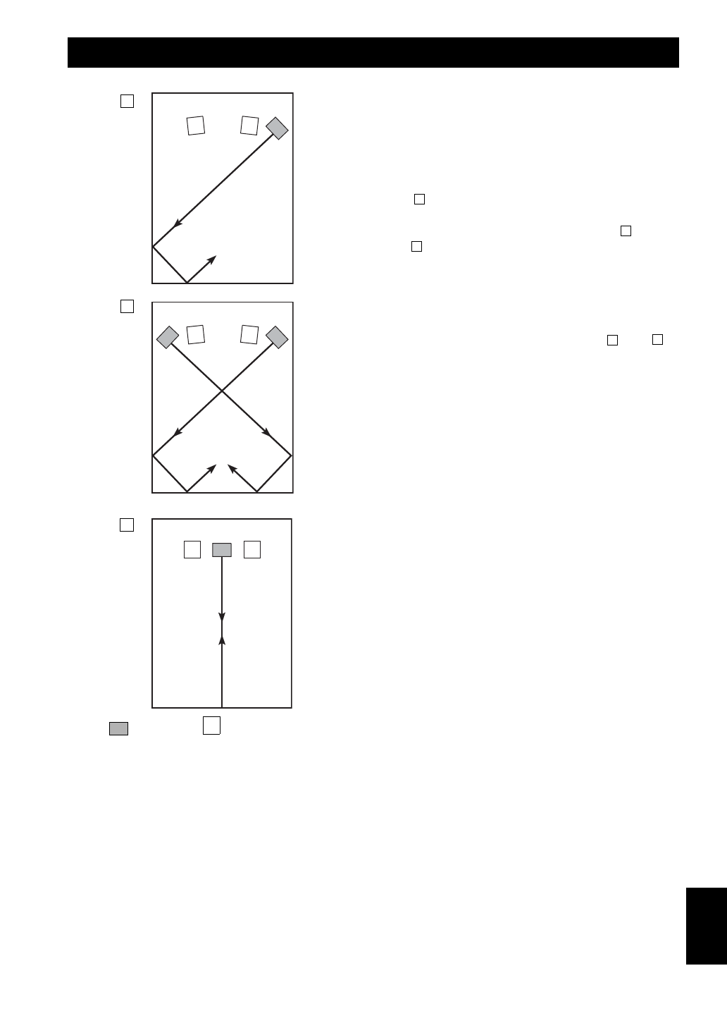
Mit einem Subwoofer können Sie die Tonwiedergabe stark
verbessern. Für einen größeren Effekt wird jedoch
empfohlen, zwei Subwoofer zu verwenden.
Bei Verwendung von nur einem Subwoofer wird
empfohlen, dass dieser auf der äußeren Seite des rechten
oder linken Front-Lautsprechers aufgestellt wird. (Siehe
Abb.
.) Bei Verwendung von zwei Subwoofern wird
empfohlen, dass diese auf der äußeren Seite jedes Front-
Lautsprechers aufgestellt werden. (Siehe Abb.
.) Die in
Abb.
dargestellte Aufstellung ist ebenfalls möglich.
Wenn aber das Subwoofer-System direkt gegen die Wand
gerichtet wird, wird unter Umständen kein Basseffekt
erzielt, weil der Ton des Systems und der von der Wand
reflektierte Ton sich gegenseitig aufheben können. Aus
diesem Grund sollte der Subwoofer möglichst schräg zu
einer Wand aufgestellt werden, wie in Abb.
oder
.
Hinweis
Es mag Fälle geben, in denen Sie vom Subwoofer keine
ausreichenden Tiefbassklänge erzielen können, wenn
Sie Ihre Hörposition in die Raummitte gelegt haben.
Die Ursache dafür ist, dass sich zwischen zwei
parallelen Wänden „stehende Wellen“ entwickelt
haben und diese die Bassklänge aufheben.
Stellen Sie den Subwoofer in einem solchen Fall schräg
zur Wand auf. Unter Umständen ist auch ein
Aufbrechen der parallelen Flächen durch Aufstellen
von Bücherregalen o. Ä. an der Wand entlang
erforderlich.
AUFSTELLUNG
A
B
C
(
: Subwoofer,
: Front-Lautsprecher)
A
B
C
A
B
Содержание
- 131 СОДЕРЖАНИЕ
- 133 Примечание; РАСПОЛОЖЕНИЕ
- 134 ЭЛЕМЕНТЫ УПРАВЛЕНИЯ И ИХ ФУНКЦИИ; ПРЕДУПРЕЖДЕНИЕ
- 136 Примечания; Использование одного сабвуфера; ПОДКЛЮЧЕНИЕ; Подключение к клеммам линейного выхода (контактным гнездам)
- 137 Использование двух сабвуферов
- 138 Использование одного сабвуфера (с кабелями акустических систем)
- 140 Перед подключением; Правильно Неправильно
- 141 ФУНКЦИЯ АВТОМАТИЧЕСКОГО ПЕРЕКЛЮЧЕНИЯ; Настройка переключателя AUTO STANDBY
- 142 РЕГУЛИРОВКА САБВУФЕРА ПЕРЕД
- 143 Частотные характеристики данного сабвуфера; Частотные характеристики
- 145 ПОИСК И УСТРАНЕНИЕ НЕИСПРАВНОСТЕЙ
- 146 ТЕХНИЧЕСКИЕ ХАРАКТЕРИСТИКИ