Акустика Yamaha NS-SW700 - инструкция пользователя по применению, эксплуатации и установке на русском языке. Мы надеемся, она поможет вам решить возникшие у вас вопросы при эксплуатации техники.
Если остались вопросы, задайте их в комментариях после инструкции.
"Загружаем инструкцию", означает, что нужно подождать пока файл загрузится и можно будет его читать онлайн. Некоторые инструкции очень большие и время их появления зависит от вашей скорости интернета.

Ру
сс
кий
3
Ru
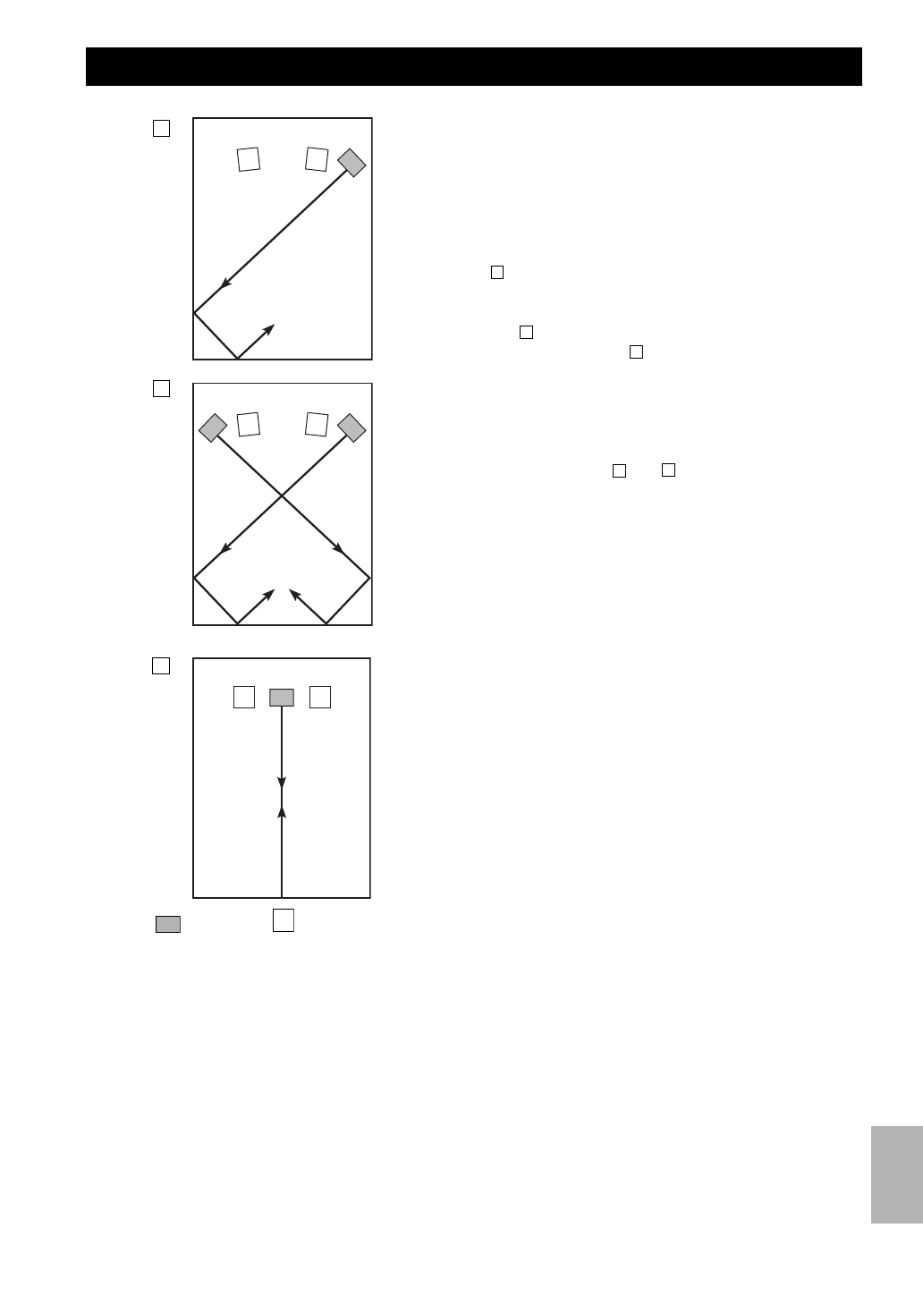
Использование одного сабвуфера положительно
скажется на качестве воспроизведения
аудиосистемы, однако для усиления этого эффекта
рекомендуется применять два сабвуфера.
При использовании одного сабвуфера
рекомендуется размещать его сбоку от правой или
левой фронтальных акустических систем. (См. рис.
.) При использовании двух сабвуферов
рекомендуется размещать их сбоку от правой и
левой фронтальных акустических систем. (См.
рис.
.) Возможно также расположение,
показанное на рис. однако, если система
сабвуферов расположена прямо по направлению к
стене, эффект воспроизведения низких частот
может быть снижен из-за гашения прямого и
отраженного звука. Чтобы избежать этого,
размещайте систему сабвуферов под углом, как
показано на рис. или .
Примечание
Может случиться так, что в центре комнаты
эффект воспроизведения сверхнизких частот
будет недостаточно сильным. Это происходит из-
за создания “стоячих волн” между двумя
параллельными стенами, препятствующими
получению эффекта сверхнизких частот.
В этом случае разместите сабвуферы под углом к
стене. Возможно, потребуется также нарушить
параллельность поверхностей стен, разместив на
них полки и т.д.
РАСПОЛОЖЕНИЕ
A
B
C
(
: сабвуфер,
: фронтальная
акустическая система)
A
B
C,
A
B
Содержание
- 131 СОДЕРЖАНИЕ
- 133 Примечание; РАСПОЛОЖЕНИЕ
- 134 ЭЛЕМЕНТЫ УПРАВЛЕНИЯ И ИХ ФУНКЦИИ; ПРЕДУПРЕЖДЕНИЕ
- 136 Примечания; Использование одного сабвуфера; ПОДКЛЮЧЕНИЕ; Подключение к клеммам линейного выхода (контактным гнездам)
- 137 Использование двух сабвуферов
- 138 Использование одного сабвуфера (с кабелями акустических систем)
- 140 Перед подключением; Правильно Неправильно
- 141 ФУНКЦИЯ АВТОМАТИЧЕСКОГО ПЕРЕКЛЮЧЕНИЯ; Настройка переключателя AUTO STANDBY
- 142 РЕГУЛИРОВКА САБВУФЕРА ПЕРЕД
- 143 Частотные характеристики данного сабвуфера; Частотные характеристики
- 145 ПОИСК И УСТРАНЕНИЕ НЕИСПРАВНОСТЕЙ
- 146 ТЕХНИЧЕСКИЕ ХАРАКТЕРИСТИКИ