Видеокамеры Sony DCR-TRV255E / DCR-TRV265E - инструкция пользователя по применению, эксплуатации и установке на русском языке. Мы надеемся, она поможет вам решить возникшие у вас вопросы при эксплуатации техники.
Если остались вопросы, задайте их в комментариях после инструкции.
"Загружаем инструкцию", означает, что нужно подождать пока файл загрузится и можно будет его читать онлайн. Некоторые инструкции очень большие и время их появления зависит от вашей скорости интернета.

Kopi
er
ing/
re
di
ge
ri
ng
Kopiering/redigering
69
Inspelning av bilder
från en
videobandspelare
( TRV265E)
Du kan spela in och redigera bilder från en
videobandspelare på ett band i
videokameran.
Sätt in det band i videokameran som du vill
spela in på.
1
Anslut videobandspelaren till
videokameran (sid. 63).
Använd en i.LINK-kabel (tillval) för
anslutningen.
2
Välj läget PLAY/EDIT genom att
skjuta POWER-omkopplaren.
3
På videokameran trycker du på
(rec), samtidigt som du trycker på
knappen till höger om den. Tryck
sedan omedelbart på
(paus) på
videokameran.
4
Starta uppspelningen av bandet på
videobandspelaren.
Det som spelas upp på den anslutna enheten
visas på videokamerans LCD-skärm.
5
Tryck på
(paus) vid den punkt
som du vill starta inspelningen från.
6
Du avbryter inspelningen genom att
trycka på
(stopp).
z
Tips!
• Indikatorn
visas när du ansluter
videokameran och andra enheter via en i.LINK-
kabel. (De är möjligt att den här indikatorn också
visas på TV:n.)
Kopiera valda avsnitt
från band
– Digital programredigering
( TRV255E/265E)
Du kan välja upp till 20 avsnitt (program) och
spela in dem i önskad ordning på en annan
inspelningsutrustning, t.ex. en
videobandspelare.
Steg 1: Förebered videokameran
oc h videobandspelaren f ör
användning
Utför följande procedur när du för första
gången utför digital programredigering till ett
band i en videobandspelare. Du kan hoppa
över den här inställningen om du tidigare
ställt in videobandspelaren genom att utföra
följande procedur.
b
Obs!
• Du kan inte utföra digital programredigering på
videobandspelare som inte kan hantera [IR SETUP]-
koder.
• När videokameran är ansluten till videokameran via
DV-gränssnittet kan du inte spela in titlar och
indikatorer.
1
Anslut videobandspelaren till
videokameran som inspelningsenhet
(sid. 63).
Du kan ansluta med antingen A/V-kabeln
eller i.LINK-kabeln. Kopieringsproceduren
är enklare med i.LINK-anslutningen.
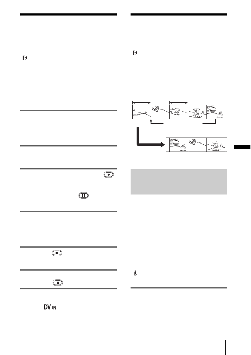
Ändra ordningen
Resultat av redigeringen
Radera oönskade avsnitt
,
forts.
Содержание
- 102 Примечание относительно кассет
- 104 Запись неподвижных изображений – Фотосъемка на кассету; Содержание
- 105 Поиск последнего эпизода самой последней записи; Воспроизведение; Поиск эпизода для воспроизведения на кассете
- 108 Краткое руководство; Запись фильмов; Присоедините заряженный батарейный блок к видеокамере.
- 109 Кра; Начните запись, глядя на экран LCD для контроля
- 110 шрифта увеличивается (
- 111 Подготовка к эксплуатации; Только для моделей со знаком
- 112 Можно зарядить; батарейный блок; Поднимите видоискатель.
- 113 После зарядки батареи
- 114 Время зарядки; Батарейный блок
- 115 Время воспроизведения; ПРЕДОСТЕРЕЖЕНИЕ
- 116 или монтаж изображений на кассете.; Выключение питания; видоискателя; Регулировка панели LCD
- 117 Регулировка видоискателя
- 119 и Hi8; Передвиньте рычажок
- 120 Нажмите кнопку; Извлечение кассеты; экране; Включите видеокамеру.
- 122 Запись
- 123 Оставшееся время записи
- 124 В меню
- 125 : автоматически включается; Запись в зеркальном режиме
- 127 изображений
- 128 Простая запись; Можно записывать только фильмы.; Нажмите кнопку EASY.; Нажмите кнопку EASY еще раз.; Запуск режима
- 129 На экране появится индикация; Нажмите кнопку EXPOSURE.
- 130 Запись в темноте; – NightShot plus; Появятся индикаторы
- 131 Ручная фокусировка; Автоматическая фокусировка
- 132 Это функция только для; Отмена операции
- 133 Наложение титра
- 135 последней записи
- 136 Нажмите кнопку END SEARCH еще раз.
- 137 кассету; Нажмите; Регулировка громкости; Пауза
- 138 Индикатор движения ленты
- 140 Воспроизведите кассету.; Можно использовать следующие; воспроизведения
- 141 Код данных
- 142 экране TV
- 143 на
- 144 кассете; Быстрый поиск эпизода
- 145 Поиск фото; Фотосканирование
- 147 Усовершенствованные; Настройка видеокамеры; Изменение; Отобразится экран меню.
- 148 . Набор настраиваемых; ПРОГР АЭ
- 150 АВТОЗАТВОР
- 153 для просмотра на экране широкоэкранного TV с размером экрана 16:9
- 154 Эта функция служит для компенсации подрагивания видеокамеры.
- 155 На этом экране; ЗВУК HiFi; МОНТАЖ
- 157 ЦВЕТ ЖКД
- 158 АУДИОРЕЖИМ
- 159 УСТАН ORC; ОСТАЛОСЬ
- 160 Поверните диск SEL/PUSH EXEC для выбора [; Загорится индикатор
- 161 Нажмите кнопку MENU, чтобы скрыть установки меню.; Начнет мигать индикатор
- 162 АВТОДАТА; ПОТОК USB
- 163 LANGUAGE
- 164 КОД ДАННЫХ
- 165 АВТЗТВ ВЫК; ПУЛЬТ ДУ; ДИСПЛЕЙ
- 167 ез
- 171 Нажмите кнопку EASY DUB.
- 173 Титр высветится на экране.
- 175 видеокамеры
- 176 эпизодов с кассеты
- 181 Можно удалить все программы.
- 182 Устранение неполадок; Общие функции; Неполадка
- 183 Кассеты
- 184 Экран LCD/видоискатель
- 188 сообщения; Индикация самодиагностики/Предупреждающие индикаторы; Индикация
- 189 Предупреждающие сообщения
- 190 Тема
- 191 Дополнительная информация; Подача питания; Система
- 192 Система Hi8; Эта система Hi8; Система Digital8; –кассета была извлечена во время; Сигнал авторского права; При воспроизведении; Примечания по эксплуатации
- 193 После использования кассеты; являются; Зарядка батарейного блока; • Перед использованием видеокамеры
- 194 О хранении батарейного блока
- 195 • Срок службы батарейного блока
- 196 О требуемом кабеле i.LINK
- 198 Конденсация влаги; Конденсация влаги. Извлеките; Примечания по конденсации влаги; Видеоголовка
- 199 Экран LCD; Очистка экрана LCD; Обращение с корпусом
- 200 Процедуры; Спецификации; Видеокамера
- 201 Для TRV
- 203 Типы различий
- 204 Краткий справочник; Динамик
- 205 Объектив
- 206 REW (ускоренная перемотка
- 207 Окуляр; Прикрепление плечевого ремня
- 208 Пульт дистанционного управления; Передатчик
- 209 ВНИМАНИЕ
- 210 Индикаторы экрана LCD и видоискателя; Индикаторы
- 211 Указатель












