Видеокамеры Sony DCR-TRV255E / DCR-TRV265E - инструкция пользователя по применению, эксплуатации и установке на русском языке. Мы надеемся, она поможет вам решить возникшие у вас вопросы при эксплуатации техники.
Если остались вопросы, задайте их в комментариях после инструкции.
"Загружаем инструкцию", означает, что нужно подождать пока файл загрузится и можно будет его читать онлайн. Некоторые инструкции очень большие и время их появления зависит от вашей скорости интернета.

Воспроизведение
38
Просмотр фильмов в
видоискателе
Закройте панель LCD.
Индикаторы, отображаемые во
время воспроизведения
Для TRV228E/428E:
Для TRV255E/265E:
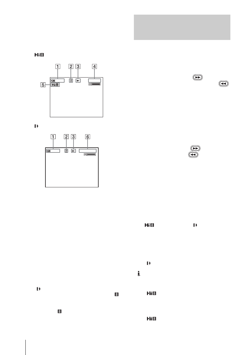
A
Оставшееся время работы
батарейного блока
B
Режим записи (SP или LP)
C
Индикатор движения ленты
D
Счетчик ленты (час: минуты:
секунды)
E
Формат Hi8
Этот индикатор появляется во время
воспроизведения кассет формата Hi8.
F
Код времени (час: минуты: секунды:
кадр) или счетчик ленты (час:
минуты: секунды)
b
Примечание
• Для TRV255E/265E:
При использовании кассеты standard 8 mm
обязательно воспроизводите кассету на
видеокамере. При воспроизведении кассеты
standard 8 mm
на других видеокамерах
(включая другие модели DCR-TRV255E/
TRV265E) могут появиться мозаичные
помехи.
Воспроизведение в различных
режимах
Ускоренная перемотка вперед
или назад во время
воспроизведения
– Поиск изображения
Продолжайте нажимать
(ускоренная перемотка вперед) или
(ускоренная перемотка назад) во время
воспроизведения.
Для перехода к обычному
воспроизведению отпустите кнопку.
Просмотр изображения при
ускоренной перемотке вперед
или назад – Поиск методом
прогона
Продолжайте нажимать
(ускоренная
перемотка вперед) или
(ускоренная
перемотка назад) во время ускоренной
перемотки ленты вперед или назад.
Для возобновления обычной перемотки
кассеты вперед или назад отпустите
кнопку.
Для просмотра изображений на
замедленной скорости
(замедленное
воспроизведение)
*
Для TRV228E/428E/
TRV265E:
Нажмите кнопку SLOW
y
на пульте
дистанционного управления во время
воспроизведения. Для возобновления
обычного воспроизведения нажмите
кнопку PLAY.
* Для TRV265E:
Изображения, выведенные через интерфейс
DV, нельзя воспроизвести в замедленном
режиме без помех.
b
Примечания
• Для TRV228E/428E:
Если замедленное воспроизведение длится
приблизительно более 1 минуты,
видеокамера автоматически вернется в
режим обычного воспроизведения.
• Для TRV228E/428E:
При воспроизведении кассеты, записанной в
0 : 0 0 : 0 0
6 0
мин
0 : 0 0 : 0 0 : 0 0
6 0
мин
Содержание
- 102 Примечание относительно кассет
- 104 Запись неподвижных изображений – Фотосъемка на кассету; Содержание
- 105 Поиск последнего эпизода самой последней записи; Воспроизведение; Поиск эпизода для воспроизведения на кассете
- 108 Краткое руководство; Запись фильмов; Присоедините заряженный батарейный блок к видеокамере.
- 109 Кра; Начните запись, глядя на экран LCD для контроля
- 110 шрифта увеличивается (
- 111 Подготовка к эксплуатации; Только для моделей со знаком
- 112 Можно зарядить; батарейный блок; Поднимите видоискатель.
- 113 После зарядки батареи
- 114 Время зарядки; Батарейный блок
- 115 Время воспроизведения; ПРЕДОСТЕРЕЖЕНИЕ
- 116 или монтаж изображений на кассете.; Выключение питания; видоискателя; Регулировка панели LCD
- 117 Регулировка видоискателя
- 119 и Hi8; Передвиньте рычажок
- 120 Нажмите кнопку; Извлечение кассеты; экране; Включите видеокамеру.
- 122 Запись
- 123 Оставшееся время записи
- 124 В меню
- 125 : автоматически включается; Запись в зеркальном режиме
- 127 изображений
- 128 Простая запись; Можно записывать только фильмы.; Нажмите кнопку EASY.; Нажмите кнопку EASY еще раз.; Запуск режима
- 129 На экране появится индикация; Нажмите кнопку EXPOSURE.
- 130 Запись в темноте; – NightShot plus; Появятся индикаторы
- 131 Ручная фокусировка; Автоматическая фокусировка
- 132 Это функция только для; Отмена операции
- 133 Наложение титра
- 135 последней записи
- 136 Нажмите кнопку END SEARCH еще раз.
- 137 кассету; Нажмите; Регулировка громкости; Пауза
- 138 Индикатор движения ленты
- 140 Воспроизведите кассету.; Можно использовать следующие; воспроизведения
- 141 Код данных
- 142 экране TV
- 143 на
- 144 кассете; Быстрый поиск эпизода
- 145 Поиск фото; Фотосканирование
- 147 Усовершенствованные; Настройка видеокамеры; Изменение; Отобразится экран меню.
- 148 . Набор настраиваемых; ПРОГР АЭ
- 150 АВТОЗАТВОР
- 153 для просмотра на экране широкоэкранного TV с размером экрана 16:9
- 154 Эта функция служит для компенсации подрагивания видеокамеры.
- 155 На этом экране; ЗВУК HiFi; МОНТАЖ
- 157 ЦВЕТ ЖКД
- 158 АУДИОРЕЖИМ
- 159 УСТАН ORC; ОСТАЛОСЬ
- 160 Поверните диск SEL/PUSH EXEC для выбора [; Загорится индикатор
- 161 Нажмите кнопку MENU, чтобы скрыть установки меню.; Начнет мигать индикатор
- 162 АВТОДАТА; ПОТОК USB
- 163 LANGUAGE
- 164 КОД ДАННЫХ
- 165 АВТЗТВ ВЫК; ПУЛЬТ ДУ; ДИСПЛЕЙ
- 167 ез
- 171 Нажмите кнопку EASY DUB.
- 173 Титр высветится на экране.
- 175 видеокамеры
- 176 эпизодов с кассеты
- 181 Можно удалить все программы.
- 182 Устранение неполадок; Общие функции; Неполадка
- 183 Кассеты
- 184 Экран LCD/видоискатель
- 188 сообщения; Индикация самодиагностики/Предупреждающие индикаторы; Индикация
- 189 Предупреждающие сообщения
- 190 Тема
- 191 Дополнительная информация; Подача питания; Система
- 192 Система Hi8; Эта система Hi8; Система Digital8; –кассета была извлечена во время; Сигнал авторского права; При воспроизведении; Примечания по эксплуатации
- 193 После использования кассеты; являются; Зарядка батарейного блока; • Перед использованием видеокамеры
- 194 О хранении батарейного блока
- 195 • Срок службы батарейного блока
- 196 О требуемом кабеле i.LINK
- 198 Конденсация влаги; Конденсация влаги. Извлеките; Примечания по конденсации влаги; Видеоголовка
- 199 Экран LCD; Очистка экрана LCD; Обращение с корпусом
- 200 Процедуры; Спецификации; Видеокамера
- 201 Для TRV
- 203 Типы различий
- 204 Краткий справочник; Динамик
- 205 Объектив
- 206 REW (ускоренная перемотка
- 207 Окуляр; Прикрепление плечевого ремня
- 208 Пульт дистанционного управления; Передатчик
- 209 ВНИМАНИЕ
- 210 Индикаторы экрана LCD и видоискателя; Индикаторы
- 211 Указатель












