Синтезаторы Yamaha CLP-130 Clavinova - инструкция пользователя по применению, эксплуатации и установке на русском языке. Мы надеемся, она поможет вам решить возникшие у вас вопросы при эксплуатации техники.
Если остались вопросы, задайте их в комментариях после инструкции.
"Загружаем инструкцию", означает, что нужно подождать пока файл загрузится и можно будет его читать онлайн. Некоторые инструкции очень большие и время их появления зависит от вашей скорости интернета.

CLP-130/120
ÇÓÒÔÓËÁ‚‰ÂÌË Á‡ÔËÒÂÈ ÔÂÒÂÌ
35
ÇÓÒÔÓËÁ‚‰ÂÌË Á‡ÔËÒÂÈ ÔÂÒÂÌ
á‡ÔËÒ‡ÌÌ˚ ÔÂÒÌË ÏÓÊÌÓ ‚ÓÒÔÓËÁ‚Ó‰ËÚ¸ Ò ÔÓÏÓ˘¸˛ ÙÛÌ͈ËË Record
(ÒÚ. 30–34). à„‡Ú¸ ÏÓÊÌÓ Ó‰ÌÓ‚ÂÏÂÌÌÓ Ò ÔÓË„˚‚‡ÌËÂÏ ‚ÒÚÓÂÌÌÓÈ
ÔÂÒÌË.
ÇÓÒÔÓËÁ‚‰ÂÌË ÔÂÒÌË
1.
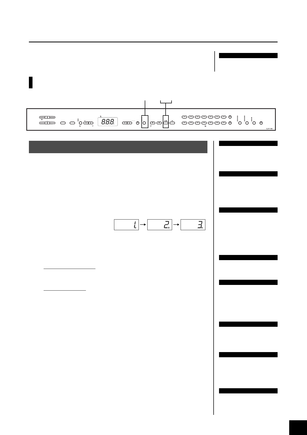
Ç˚·Ó ÌÛÊÌÓÈ ÔÂÒÌË (CLP-130)
óÚÓ·˚ ‚˚·‡Ú¸ ÔÂÒÌ˛ ‰Îfl Á‡ÔËÒË, ̇ÊÏËÚ ÍÌÓÔÍÛ
[USER 1/2/3]
.
ᇄÓËÚÒfl Ë̉Ë͇ÚÓ ‚˚·‡ÌÌÓÈ ÔÂÒÌË. (ÖÒÎË Ë̉Ë͇ÚÓ˚ Ì „ÓflÚ,
ÔÂÒÌfl Ì ‚˚·‡Ì‡.)
2.
á‡ÔÛÒÍ ‚ÓÒÔÓËÁ‚‰ÂÌËfl
ç‡ÊÏËÚ ÍÌÓÔÍÛ
SONG [START/STOP]
.
èË ‚ÓÒÔÓËÁ‚‰ÂÌËË ÔÓfl‚ÎflÂÚÒfl ÌÓÏ ÚÂÍÛ˘Â„Ó Ú‡ÍÚ‡.
•
ÇÓ ‚ÂÏfl ‚ÓÒÔÓËÁ‚‰ÂÌËfl ÔÂÒÌË ÏÓÊÌÓ Ë„‡Ú¸ ̇ Í·‚˯‡ı.
à„‡Ú¸ ÏÓÊÌÓ ‚ ÚÂÏ·Â, ÓÚ΢ÌÓÏ ÓÚ ÚÂÏ·‡ ‚ÓÒÔÓËÁ‚‰ÂÌËfl,
‚˚·‡‚ ÚÂÏ· ̇ Ô‡ÌÂÎË.
ç‡ÒÚÓÈ͇ „ÓÏÍÓÒÚË
ç‡ÒÚÓÈÚ „ÓÏÍÓÒÚ¸ „ÛÎflÚÓÓÏ
[MASTER VOLUME]
.
ç‡ÒÚÓÈ͇ ÚÂÏÔ‡
ÑÎfl ̇ÒÚÓÈÍË ÚÂÏÔ‡ ‚ÓÒÔÓËÁ‚‰ÂÌËfl ÏÓÊÌÓ ËÒÔÓθÁÓ‚‡Ú¸ ÍÌÓÔÍË
[TEMPO/FUNCTION#
▼
,
▲
]
. ÇÓÁ‚‡Ú Í Ó·˚˜ÌÓÏÛ ÚÂÏÔÛ ÔÂÒÌË ÔÓËÒıÓ‰ËÚ
ÔË Ó‰ÌÓ‚ÂÏÂÌÌÓÏ Ì‡Ê‡ÚËË ÍÌÓÔÓÍ
[
▼
]
Ë
[
▲
]
.
3.
éÒÚ‡Ìӂ͇ ‚ÓÒÔÓËÁ‚‰ÂÌËfl
äÓ„‰‡ ÔÂÒÌfl Á‡Í‡Ì˜Ë‚‡ÂÚÒfl, Clavinova ‡‚ÚÓχÚ˘ÂÒÍË ÓÒڇ̇‚ÎË‚‡ÂÚÒfl Ë
̇ıÓ‰ËÚ Ì‡˜‡ÎÓ ÔÂÒÌË. óÚÓ·˚ ÓÒÚ‡ÌÓ‚ËÚ¸ ÔÂÒÌ˛ ̇ Ò‰ËÌÂ, ̇ÊÏËÚÂ
ÍÌÓÔÍÛ
SONG [START/STOP]
.
èêàåÖóÄçàÖ
чÌÌ˚ ÔÂÒÂÌ Ì Ô‰‡˛ÚÒfl
˜ÂÂÁ ‡Á˙ÂÏ˚ MIDI.
2
1
3
MASTER VOLUME
BRILLIANCE
DEMO
METRONOME
TEMPO / FUNCTION
TEMPO / OTHER VALUE
MELLOW
BRIGHT
START/STOP
TEMPO
FUNCTION
MIN
MAX
— / NO + / YES
PRESET
USER 1
USER 2
TRACK
1
TRACK
2
START/STOP
REC
GRAND
PIANO 1
CHURCH
ORGAN
E.PIANO
1
STRINGS
E.PIANO
2
HARPSI-
CHORD
E.CLAVI-
CHORD
VIBRA-
PHONE
CHOIR
GUITAR
E.BASS
SPLIT
ROOM
HALL 1
HALL 2
STAGE
CHORUS
PHASER
TREMOLO
DELAY
HARD
MEDIUM
SOFT
ON
VARIATION
GRAND
PIANO 2
JAZZ
ORGAN
WOOD
BASS
USER 3
VOICE
REVERB
EFFECT
TOUCH
TRANSPOSE
SONG
èêàåÖóÄçàÖ (CLP-130)
Ç ÂÊËÏ ‰ÂÏÓÌÒÚ‡ˆËË ‰Îfl
‚˚·Ó‡ ÔÂÒÌË ÌÂθÁfl ËÒÔÓθÁÓ-
‚‡Ú¸ ÍÌÓÔÍÛ
[USER 1/2/3]
.
èêàåÖóÄçàÖ
á‡ÔËÒ‡ÌÌ˚ ÔÂÒÌË ÌÂθÁfl
‚ÓÒÔÓËÁ‚ÂÒÚË ‚ ÂÊËÏÂ
‰ÂÏÓÌÒÚ‡ˆËË Ë ÂÊËÏÂ
‚ÒÚÓÂÌÌÓÈ ÔÂÒÌË.
èêàåÖóÄçàÖ
áÂÎÂÌ˚ Ë̉Ë͇ÚÓ˚ Ì Á‡„Ó‡-
˛ÚÒfl ‡‚ÚÓχÚ˘ÂÒÍË ÔË ‚Íβ-
˜ÂÌËË ÔËÚ‡ÌËfl, ‰‡Ê ÂÒÎË ‚
ÛÒÚÓÈÒÚ‚Â ÂÒÚ¸ ‰‡ÌÌ˚Â. è‰
‚ÓÒÔÓËÁ‚‰ÂÌËÂÏ Ì‡ÊÏËÚÂ
ÍÌÓÔÍË ‰ÓÓÊÂÍ.
èêàåÖóÄçàÖ
ÖÒÎË ‚ ÛÒÚÓÈÒÚ‚Â ÌÂÚ ‰‡ÌÌ˚ı,
‚ÓÒÔÓËÁ‚‰ÂÌË Ì‚ÓÁÏÓÊÌÓ.
ä ëÇÖÑÖçàû
åÓÊÌÓ Ë„‡Ú¸ Ò Ò‡ÏËÏ ÒÓ·ÓÈ,
Á‡ÔËÒ‡‚ Ô‡Ú˲ ËÎË ÔÂÒÌ˛ ‰Îfl
‰‚Ûı ÙÓÚÂÔ¸flÌÓ, Á‡ÚÂÏ Ë„‡Ú¸
Ó‰ÌÛ ˜‡ÒÚ¸ Ò‡ÏÓÏÛ, ÔÓ͇ ˉÂÚ
‚ÓÒÔÓËÁ‚‰ÂÌË Á‡ÔËÒ‡ÌÌÓ„Ó.
ä ëÇÖÑÖçàû
ÖÒÎË ËÒÔÓθÁÓ‚‡ÎÒfl ÏÂÚÓÌÓÏ,
ÔÓ ÓÍÓ̘‡ÌËË ‚ÓÒÔÓËÁ‚‰ÂÌËfl
ÓÌ ÓÚÍβ˜ËÚÒfl ‡‚ÚÓχÚ˘ÂÒÍË.
ä ëÇÖÑÖçàû
àÁÏÂÌÂÌË ÚËÔ‡ ‚·‡ˆËË
̇ Ô‡ÌÂÎË ËÁÏÂÌflÂÚ Í‡Í Â‚Â-
·Â‡ˆË˛ ‚ÓÒÔÓËÁ‚‰ÂÌËfl, Ú‡Í
Ë Í·‚ˇÚÛ˚.
ä ëÇÖÑÖçàû
àÁÏÂÌÂÌË ÚËÔ‡ ˝ÙÙÂÍÚ‡ ̇ Ô‡-
ÌÂÎË ËÁÏÂÌflÂÚ ˝ÙÙÂÍÚ Ë ‚ÓÒ-
ÔÓËÁ‚‰ÂÌËfl, Ë Í·‚ˇÚÛ˚.
ÑÂÈÒÚ‚Ëfl