Пилы торцовочные Makita MLS100 - инструкция пользователя по применению, эксплуатации и установке на русском языке. Мы надеемся, она поможет вам решить возникшие у вас вопросы при эксплуатации техники.
Если остались вопросы, задайте их в комментариях после инструкции.
"Загружаем инструкцию", означает, что нужно подождать пока файл загрузится и можно будет его читать онлайн. Некоторые инструкции очень большие и время их появления зависит от вашей скорости интернета.

73
PO
Č
KEJTE, DOKUD SE KOTOU
Č
ÚPLN
Ě
NEZASTAVÍ.
POZOR:
•
P
ř
i šikmém
ř
ezání vždy kontrolujte, zda se kotou
č
p
ř
esunul dol
ů
ve sm
ě
ru úkosu. Udržujte ruce mimo
dráhu pilového kotou
č
e.
•
P
ř
i šikmém
ř
ezání m
ů
že dojít k tomu, že se
od
ř
ezaný kus zap
ř
e oproti boku pilového kotou
č
e.
Bude-li kotou
č
zvednut když se stále otá
č
í, m
ů
že
být tento kousek kotou
č
em zachycen a v d
ů
sledku
toho m
ů
že dojít k vyst
ř
elení úlomk
ů
. Tato situace
m
ů
že být nebezpe
č
ná. Kotou
č
zvedn
ě
te až PO
úplném zastavení.
•
P
ř
i posunování držadla dol
ů
vyvíjejte tlak
rovnob
ě
žn
ě
s kotou
č
em. Nebude-li b
ě
hem
ř
ezání
tlak vyvíjen rovnob
ě
žn
ě
s kotou
č
em, m
ů
že dojít ke
zm
ě
n
ě
úhlu kotou
č
e a následn
ě
snížení p
ř
esnosti
ř
ezu.
4. Složené
ř
ezání
Složené
ř
ezání je proces, p
ř
i kterém se na dílu
provádí
ř
ez s úkosovým úhlem a sou
č
asn
ě
s
pokosovým úhlem. Složené
ř
ezání lze provád
ě
t s
úhlem uvedeným v tabulce.
Úhel pokosu
Úhel úkosu
Vlevo a vpravo 0 - 45
45
006366
P
ř
i složeném
ř
ezání použijte informace uvedené v
odstavcích „Tlakové
ř
ezání", „Pokosové
ř
ezání" a
„Šikmý
ř
ez".
5.
Ř
ezání hliníkových výlisk
ů
Fig.27
P
ř
i uchycování hliníkových výlisk
ů
používejte jako
prevenci deformace hliníku distan
č
ní bloky nebo
kusy odpadního materiálu, jak je ilustrováno na
obrázku. P
ř
i
ř
ezání hliníkových výlisk
ů
používejte
ř
eznou kapalinu, aby se zabránilo nahromad
ě
ní
hliníku na kotou
č
i.
POZOR:
•
Nikdy se nepokoušejte
ř
ezat silné nebo kruhové
hliníkové výlisky. Hliníkové výlisky o velké tlouš
ť
ce
se mohou b
ě
hem provozu uvolnit. Pomocí tohoto
nástroje nelze
ř
ádn
ě
upevnit kruhové hliníkové
výlisky.
6. D
ř
ev
ě
ná deska
D
ř
ev
ě
ná deska vám pom
ů
že zajistit
ř
ezy v dílech
bez rozšt
ě
pení. D
ř
ev
ě
nou desku upevn
ě
te k
vodicímu pravítku prost
ř
ednictvím otvor
ů
v
pravítku.
Doporu
č
ené rozm
ě
ry d
ř
ev
ě
né desky najdete na
obrázku.
Více než 10 mm
Více než 460 mm
1
1
25mm
100mm 115mm
100mm
115mm
007833
POZOR:
•
Použijte rovnou d
ř
ev
ě
nou desku rovnom
ě
rné
tlouš
ť
ky.
•
D
ř
ev
ě
nou desku upevn
ě
te k vodicímu pravítku
pomocí šroub
ů
. Šrouby je nutno nainstalovat tak,
aby se jejich hlavy nacházely pod povrchem
d
ř
ev
ě
né desky.
•
Je-li nainstalována d
ř
ev
ě
ná deska, neotá
č
ejte
oto
č
ný st
ů
l p
ř
i spušt
ě
ném držadle. V opa
č
ném
p
ř
ípad
ě
dojde k poškození kotou
č
e a/nebo
d
ř
ev
ě
né desky.
•
Maximální ší
ř
ka
ř
ezu bude menší o ší
ř
ku d
ř
ev
ě
né
č
elní plochy.
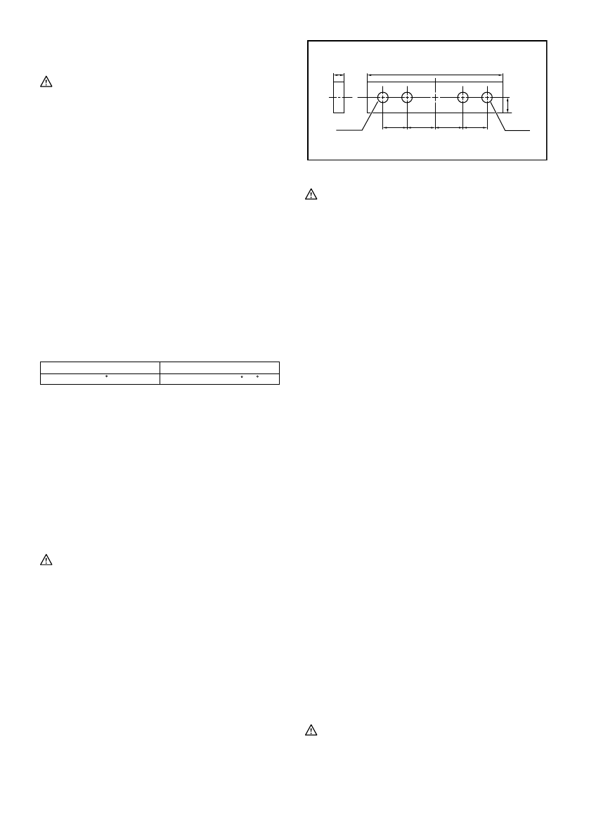
7. Opakované
ř
ezání stejných délek
Fig.28
P
ř
i
ř
ezání n
ě
kolika kus
ů
materiálu se stejnou
délkou v rozmezí od 240 do 380 mm použijte
dorazovou desku (volitelné p
ř
íslušenství), jež vám
umožní efektivn
ě
jší práci. Dorazovou desku
namontujte na držák (volitelné p
ř
íslušenství) podle
obrázku.
Vyrovnejte rysku
ř
ezání na dílu bu
ď
s levou nebo
pravou stranou drážky v desce se spárou. P
ř
idržte
díl, abyste zabránili jeho pohybu, a posu
ň
te
montážní desku tak, aby byla zarovnána s koncem
zpracovávaného dílu. Poté zajist
ě
te montážní
desku šroubem. Pokud montážní desku
nepoužíváte, povolte šroub a oto
č
te montážní
desku mimo oblast práce.
P
ř
enášení nástroje
Fig.29
P
ř
esv
ě
d
č
te se, zda je nástroj odpojen od zdroje
napájení. Zajist
ě
te kotou
č
v poloze úkosu 0° a p
ř
esu
ň
te
oto
č
ný st
ů
l pln
ě
na levý úhel pokosu. Spus
ť
te držadlo
úpln
ě
dol
ů
a v této poloze jej zajist
ě
te stla
č
ením
zarážkového
č
epu.
Nástroj p
ř
enášejte za rukoje
ť
jak je ilustrováno na
obrázku. Nástroj lze p
ř
enášet snadn
ě
ji, pokud
demontujete držáky, vak na prach, atd.
Fig.30
POZOR:
•
P
ř
ed p
ř
enášením nástroje vždy zajist
ě
te všechny
pohyblivé díly.
1. Otvor
Характеристики
Остались вопросы?Не нашли свой ответ в руководстве или возникли другие проблемы? Задайте свой вопрос в форме ниже с подробным описанием вашей ситуации, чтобы другие люди и специалисты смогли дать на него ответ. Если вы знаете как решить проблему другого человека, пожалуйста, подскажите ему :)