Пилы торцовочные Makita MLS100 - инструкция пользователя по применению, эксплуатации и установке на русском языке. Мы надеемся, она поможет вам решить возникшие у вас вопросы при эксплуатации техники.
Если остались вопросы, задайте их в комментариях после инструкции.
"Загружаем инструкцию", означает, что нужно подождать пока файл загрузится и можно будет его читать онлайн. Некоторые инструкции очень большие и время их появления зависит от вашей скорости интернета.

56
•
Ne fejtsen ki túlzott nyomást a fogantyúra a vágás
során. A túlzott er
ő
ltetés a motor túlterhelését
és/vagy a vágási hatásfok csökkenését
eredményezheti. A fogantyút csak akkora er
ő
vel
nyomja, amennyi er
ő
az egyenletes vágáshoz
szükséges és nem csökkenti le nagyon a f
ű
részlap
sebességét.
•
A vágás elvégzéséhez lassan nyomja lefelé a
fogantyút. Ha a fogantyút er
ő
vel nyomja lefelé,
vagy arra laterális er
ő
t is kifejt, a f
ű
részlap rezegni
fog és elhagyja a jelölést (f
ű
részelési jelölés) a
munkadarabon és a vágás pontossága romlik.
1. Nyomóvágás
Fig.25
Rögzítse a munkadarabot a befogóval. Kapcsolja
be a szerszámot úgy, hogy a f
ű
részlap ne érjen
semmihez és várja meg amíg a f
ű
részlap eléri a
maximális sebességét. Ezután lassan engedje le a
fogantyút a teljesen leengedett állásba a
munkadarab átvágásához. A vágás befejeztével
kapcsolja ki a szerszámot és VÁRJA MEG AMÍG A
F
Ű
RÉSZLAP TELJESEN MEGÁLL miel
ő
tt
visszaviszi azt a teljesen felemelt pozícióba.
2. Gérvágás
Tájékozódjon a korábbi "A gérvágási szög
beállítása" fejezetb
ő
l.
3. Ferdevágás
Fig.26
Lazítsa meg a gombot és döntse meg a f
ű
részt a
ferdevágási szög beállításához (Tájékozódjon a
korábbi „A ferdevágási szög beállítása” fejezetb
ő
l).
A kiválasztott ferdevágási szög rögzítéséhez ne
felejtse el meghúzni a gombot. Rögzítse a
munkadarabot a befogóval. Kapcsolja be a
készüléket anélkül, hogy a f
ű
részlap bármihez
hozzáérne, majd várja meg, amíg a f
ű
részlap eléri
maximális fordulatszámát. Ezután lassan engedje
le a fogantyút teljesen leengedett állásba, a
f
ű
részlappal párhuzamos irányú nyomást kifejtve.
A vágás befejeztével kapcsolja ki a szerszámot, és
miel
ő
tt teljesen felemelt pozícióba emelné, VÁRJA
MEG, AMÍG A F
Ű
RÉSZLAP TELJESEN MEGÁLL.
VIGYÁZAT:
•
Mindig ellen
ő
rizze, hogy a f
ű
részlap a ferdevágás
irányába fog mozogni ferdevágáskor. Tartsa távol a
kezeit a f
ű
részlap útvonalától.
•
Ferdevágáskor létrejöhet olyan helyzet, hogy a
levágott darab felfekszik a f
ű
részlap oldalára. Ha a
f
ű
részlapot felemeli úgy, hogy közben még forog,
ezt a darabot a f
ű
rész elkaphatja, és a darabokat
szétszórhatja, ami veszélyes. A f
ű
részlapot CSAK
azután szabad felemelni, hogy az teljesen megállt.
•
A fogantyú lenyomásakor fejtsen ki a f
ű
részlappal
párhuzamos irányú nyomást. Ha a nyomás nem
párhuzamos a f
ű
részlappal a vágás során, akkor a
f
ű
részlap szöge megváltozhat és a vágás
pontossága romlik.
4. Kombinált
vágás
A kombinált vágás egy olyan m
ű
velet amelynél a
ferdevágással egyszerre gérvágás is történik a
munkadarabon. Kombinált vágásokat a
táblázatban látható szögeknél lehet végezni.
Gérvágási szög
Ferdevágási szög
Bal és Jobb 0 - 45
45
006366
Kombinált vágás végzésekor tájékozódjon a
"Nyomóvágás", "Gérvágás" és "Ferdevágás"
fejezetekb
ő
l.
5. Sajtolt
alumínium
vágása
Fig.27
A sajtolt alumínium rögzítésekor használja a
távtartó tömböket vagy hulladékdarabokat az
alumínium deformálódásának elkerüléséhez az
ábrának megfelel
ő
módon. A sajtol alumínium
vágásakor használjon ken
ő
anyagot az alumínium
felhalmozódásának elkerülésére a f
ű
részlapon.
VIGYÁZAT:
•
Soha ne próbáljon vastag vagy kerek sajtolt
alumínium idomokat vágni. A vastag sajtol
alumínium idomok a m
ű
velet során kilazulhatnak,
a kerek idomokat pedig nem lehet megfelel
ő
en
rögzíteni a szerszámmal.
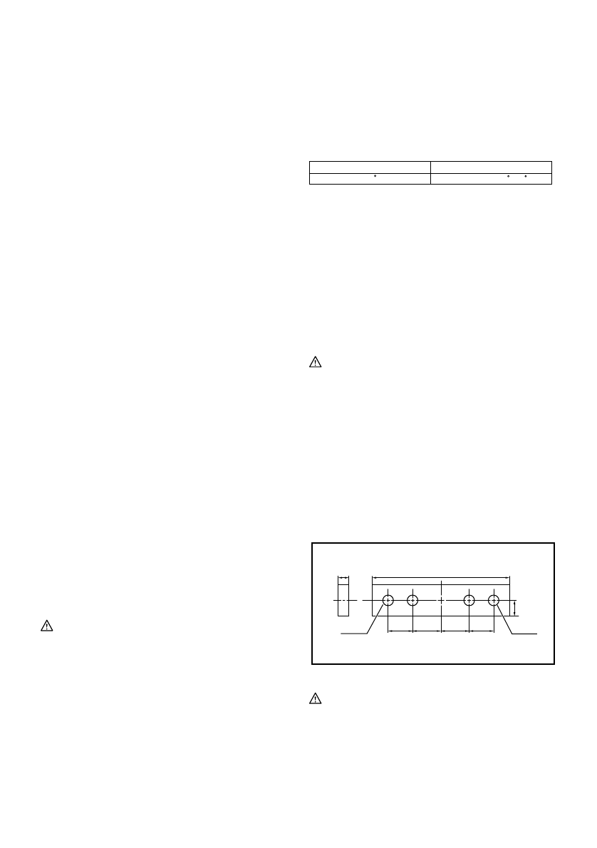
6. Fabetét
Fabetét használatával biztosítható a
munkadarabok felszakadásmentes vágása.
Illessze a fabetétet a vezet
ő
léchez a vet
ő
lécben
található furatok segítségével.
Tájékozódjon az ábráról a fabetét ajánlott
méretével kapcsolatban.
Több, mint 10 mm
Több, mint 460 mm
1
1
25mm
100mm 115mm
100mm
115mm
007833
VIGYÁZAT:
•
Fabetétként használjon egyenes, azonos
vastagságú fadarabot.
•
A fabetétet csavarokkal rögzítse a vezet
ő
léchez. A
csavarokat úgy kell becsavarni, hogy a csavarfejek
a fabetét felülete alatt legyenek.
1. Furat
Характеристики
Остались вопросы?Не нашли свой ответ в руководстве или возникли другие проблемы? Задайте свой вопрос в форме ниже с подробным описанием вашей ситуации, чтобы другие люди и специалисты смогли дать на него ответ. Если вы знаете как решить проблему другого человека, пожалуйста, подскажите ему :)