Пилы торцовочные Makita MLS100 - инструкция пользователя по применению, эксплуатации и установке на русском языке. Мы надеемся, она поможет вам решить возникшие у вас вопросы при эксплуатации техники.
Если остались вопросы, задайте их в комментариях после инструкции.
"Загружаем инструкцию", означает, что нужно подождать пока файл загрузится и можно будет его читать онлайн. Некоторые инструкции очень большие и время их появления зависит от вашей скорости интернета.

65
zaistili zvolený uhol skosenia. Zaistite obrobok
pomocou zveráka. Zapnite náradie bez toho, aby
sa
č
epe
ľ
nie
č
oho dotýkala a po
č
kajte, kým
č
epe
ľ
nedosiahne plné otá
č
ky. Potom jemne znížte páku
do úplne dolnej polohy, zatia
ľ
č
o vytvoríte tlak
rovnobežne s
č
epe
ľ
ou. Ke
ď
je rez dokon
č
ený,
vypnite náradie a pred vrátením
č
epele do úplne
zdvihnutej polohy a PO
Č
KAJTE, AŽ KÝM SA
Č
EPE
Ľ
ÚPLNE NEZASTAVÍ.
POZOR:
•
Vždy dbajte na to, aby sa
č
epe
ľ
pohybovala
smerom dole ku smeru skosenia po
č
as skoseného
rezu. Ruky si dajte pre
č
z dráhy
č
epele píly.
•
Po
č
as skoseného rezu sa môže vytvori
ť
taký stav,
kde odrezaný kus zostane oproti strane
č
epele. Ak
sa
č
epe
ľ
nadvihne, zatia
ľ
č
o
č
epe
ľ
ešte stále rotuje,
tento kus môže
č
epe
ľ
zachyti
ť
, zaprí
č
iniac tým, že
sa úlomky roztrúsia,
č
o je nebezpe
č
né.
Č
epe
ľ
sa
môže nadvihnú
ť
LEN potom, ako sa
č
epe
ľ
úplne
zastavila.
•
Ke
ď
budete stlá
č
a
ť
rukovä
ť
dole, zatla
č
te
rovnobežne na
č
epe
ľ
. Ak tlak nie je rovnobežný s
č
epe
ľ
ou po
č
as rezu, uhol
č
epele sa môže posunú
ť
a presnos
ť
rezu bude narušená.
4. Zložené
rezanie
Zložené rezanie je postup, pri ktorom sa vytvorí
uhol skosenia vtedy, ke
ď
sa na obrobku bude
vyrezáva
ť
zrezaný uhol. Zložené rezanie je možné
vykona
ť
v uhle, ktorý je zobrazený v tabu
ľ
ke.
Uhol zrezania
Uhol skosenia
Vľavo a vpravo 0° - 45°
45°
006366
Ke
ď
budete vykonáva
ť
zložene rezy, pozrite si
vysvetlenia v
č
astiach "Tlakové rezanie", "Zrezané
rezanie" a "Skosené rezanie".
5.
Rezanie hliníkových výliskov
Fig.27
Na zaistenie hliníkových výliskov použite bloky
rozpery alebo kusy zvyškov tak, ako je to
zobrazené na obrázku, aby ste predišli deformácii
hliníka. Použite reznú kvapalinu, ke
ď
budete reza
ť
hliníkové výlisky, aby nedochádzalo k usadzovaniu
hliníkového materiálu na
č
epeli.
POZOR:
•
Nikdy sa nepokúšajte reza
ť
hrubé alebo oblé
hliníkové výlisky. Hrubé hliníkové výlisky sa po
č
as
prevádzky môžu uvo
ľ
ni
ť
a oblé hliníkové výlisky
nie je možné pevne zaisti
ť
s týmto nástrojom.
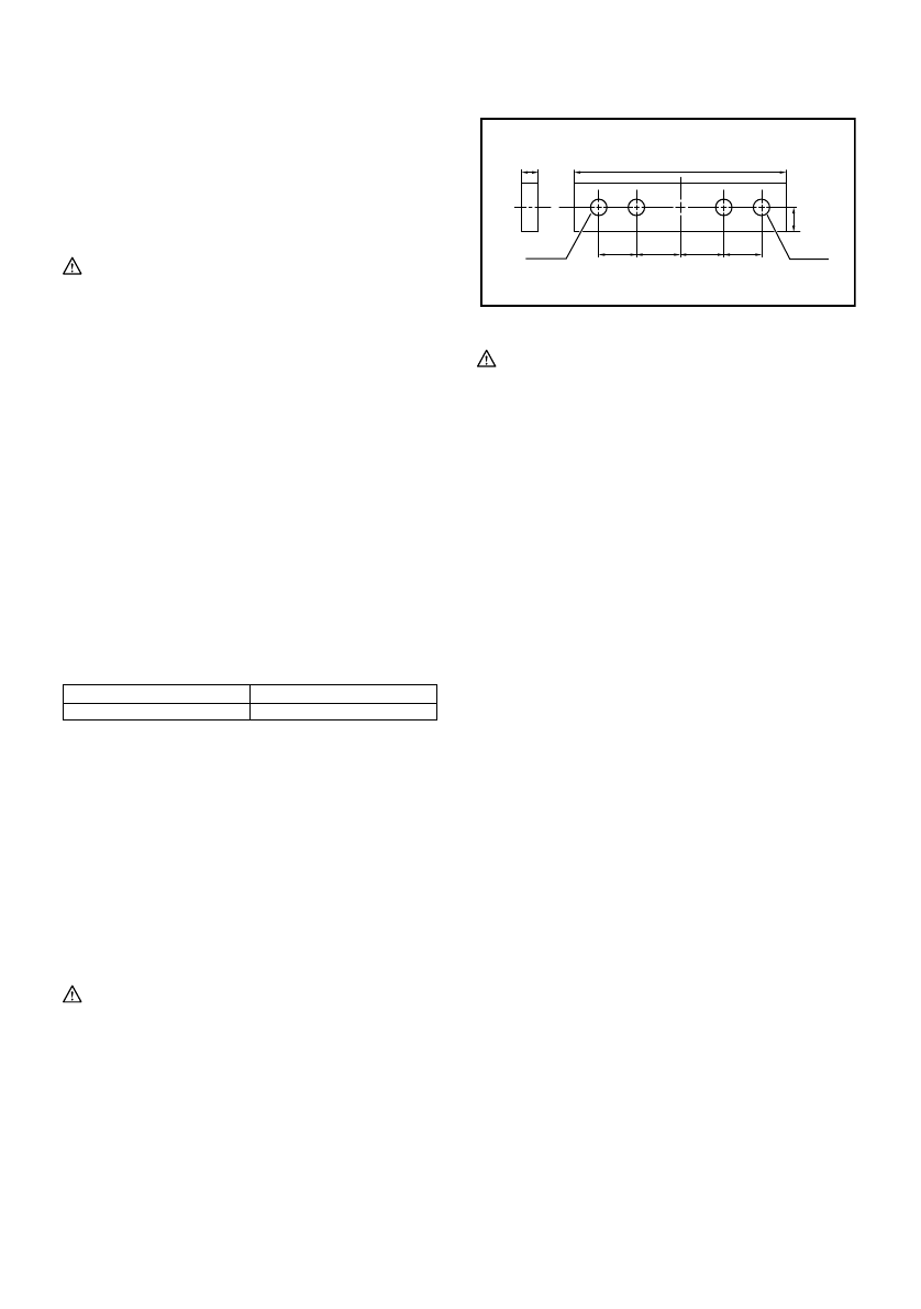
6. Drevené
obloženie
Použitie dreveného obloženia pomáha zabezpe
č
i
ť
rezy v obrobkoch bez triesok. Pripojte drevené
obloženie ku vodidlu ochranného zariadenia,
použite otvory na vodidle ochranného zariadenia.
Pozrite si obrázok, kde sú rozmery odporú
č
aného
dreveného obloženia.
Viac ako 10mm
Viac ako 460mm
1
1
25mm
100mm 115mm
100mm
115mm
007833
POZOR:
•
Použite rovné drevo rovnakej hrúbky ako má
drevené obloženie.
•
Použite skrutky na pripojenie dreveného obloženia
ku vodidlu ochranného zariadenia. Skrutky sa
musia nainštalova
ť
tak, že hlavice skrutiek budú
pod povrchom dreveného obloženia.
•
Ke
ď
je pripojené drevené obloženie, neotá
č
ajte
rota
č
nú základ
ň
u so zníženou rukovä
ť
ou.
Č
epe
ľ
a/alebo drevené obloženie sa poškodia.
•
Maximálna rezná šírka bude menšia o šírku
č
ela
dreva.
7.
Rezanie opakujúcich sa d
ĺ
žok
Fig.28
Ke
ď
budete reza
ť
nieko
ľ
ko kusov z toho istého
zásobníka na rovnakú d
ĺ
žku, v rozpätí od 240 mm
do 380 mm, použitie nastavovacej dosky (volite
ľ
ný
doplnok) umožní výkonnejšiu prevádzku.
Nainštalujte nastavovaciu dosku do držiaka
(volite
ľ
ný doplnok) tak, ako je to zobrazené na
obrázku.
Vyrovnajte
č
iaru rezania na vašom obrobku bu
ď
ľ
avou alebo pravou stranou žliabku v zárezovej
doske a zatia
ľ
č
o budete drža
ť
obrobok, aby sa
nehýbal, posu
ň
te nastavovaciu dosku v jednej
rovine oproti koncu obrobku. Potom zaistite
nastavovaciu dosku pomocou skrutky. Ak sa
nastavovacia doska nepoužíva, uvo
ľ
nite skrutku a
oto
č
te nastavovaciu dosku, aby neprekážala.
Prenášanie nástroja
Fig.29
Uistite sa, že nástroj je odpojený zo siete. Zaistite
č
epe
ľ
v skosenom uhle 0° úplne oto
č
te rota
č
nú základ
ň
u v
ľ
avom zrezanom uhle. Úplne znížte rukovä
ť
a uzamknite
ju v dolnej polohe vtla
č
ením kolíka zarážky.
Nástroj preneste pomocou svoriek na prenášanie. Ak
odstránite držiaky, vrecko na prach at
ď
., nástroj sa vám
bude
ľ
ahšie prenáša
ť
.
Fig.30
1. Otvor
Характеристики
Остались вопросы?Не нашли свой ответ в руководстве или возникли другие проблемы? Задайте свой вопрос в форме ниже с подробным описанием вашей ситуации, чтобы другие люди и специалисты смогли дать на него ответ. Если вы знаете как решить проблему другого человека, пожалуйста, подскажите ему :)