Сварочное оборудование Graphite IGBT (56H812) - инструкция пользователя по применению, эксплуатации и установке на русском языке. Мы надеемся, она поможет вам решить возникшие у вас вопросы при эксплуатации техники.
Если остались вопросы, задайте их в комментариях после инструкции.
"Загружаем инструкцию", означает, что нужно подождать пока файл загрузится и можно будет его читать онлайн. Некоторые инструкции очень большие и время их появления зависит от вашей скорости интернета.

44
•
Dok radite s aparatom za zavarivanje, Vaše tijelo i odjeća
trebaju biti suhe. Nikada nemojte inicirati rad s aparatom za
zavarivanje u vlažnoj okolini, bez odgovarajuće zaštite od
strujnog udara.
•
Nikada nemojte dirati elektrodu niti bilo koji metalni dio pod
naponom koji je u dodiru s električnim krugom zavarivanja
dok je aparat za zavarivanje uključen.
•
Nemojte upotrebljavati radne vodove s oštećenom izolacijom,
oštećena izolacija na vodovima predstavlja opasnost od
strujnog udara.
•
Nemojte koristiti uređaj ako je njegovo kućište skinuto.
•
Elektrodu nikada ne potapajte u vodu s ciljem hlađenja iste.
•
Uređaj priključujte isključivo na električnu instalaciju sa
zaštitnim uređajem diferencijalne struje.
Z AVA R I VAČ K I D R Ž AČ I:
• Upotrebljavajte isključivo izolirane zavarivačke držače
elektroda.
Nakon završetka zavarivanja iz vadite elektrodu iz
držača. Zabranjeno je koristiti držače na kojima strše vijci za
pričvršćivanje.
P R I K L J U ČC I:
•
Za priključivanje vodova za zavarivanje upotrebljavajte
isključivo izolirane priključke.
VO D OV I:
•
Često provjeravajte vodove kako biste ustanovili nemaju li
tragova istrošenosti, puknuća ili drugih oštećenja. Sve vodove
s oštećenom ili istrošenom izolacijom
BEZ OKLIJEVANJA
ZAMIJENITE
, kako biste izbjegli opasnost od strujnog udara.
Z A Š T I T E:
•
Nikada nemojte isključivati ili demontirati sigurnosne zaštite
koje štite od električnog udara ili od pregrijavanja. Prije
nego počnete instalirati, provjeravati ili popravljati aparat
za zavarivanje, isti isključite iz struje kako biste spriječili
nehotično pokretanje uređaja. Ako aparat za zavarivanje
ostavljate bez nadzora, uvijek ga isključite iz mreže.
SIGURNOST L JUDI S PACEMAKEROM:
• Elektromagnetsko polje koje stvara struja zavarivanja
može biti opasno za osobe s pacemakerom.
Korisnici
pacemakera trebaju kontaktirati doktora i upitati smiju li
boraviti blizu aparata za elektrolučno ili točkasto zavarivanje.
U P O ZO R E N J E
Sve električni elementi aparata za zavarivanje su presvučeni
zaštitnom smolom. Iz tog razloga tijekom pr vih nekoliko minuta
nakon uključivanja aparata za zavarivanje može iz njega izlaziti
dim. To je normalna pojava, a dim nestaje nakon nekoliko minuta.
U P O ZO R E N J E
Uređaj je namijenjen za rad u zatvorenim prostorijama,
štitite
ga od vlage.
O D R Ž AVA N J E
• Prije svih radova na održavanju alata ili zamjene rezervnih
dijelova, isključite uređaj uz električnog napona.
Tek
nakon što provjerite da je uređaj isključen iz napona a
elementi uređaja nisu prevrući, možete poduzeti aktivnosti na
održavanju i zamijeniti zamjenske dijelove.
Š E M A P R I K L J U Č I VA N J A U T I K AČ A
Aparat za zavarivanje 56H811 je opremljen originalnim utikačem
16A. Zavarivači 56H812 i 56H813 mogu uzimati struju koja
premašuje 16A, i zato je potrebno instalirati utikače namijenjene za
veće vrijednosti struje, ovisno o uređaju uzimana struja je navedena
na tipskoj ploči uređaja. Ako aparat za zavarivanje priključujete
na električnu instalaciju za stalno korištenje, provjerite da li ista
instalacija može biti opterećena maksimalnom strujom koju uzima
aparat za zavarivanje.
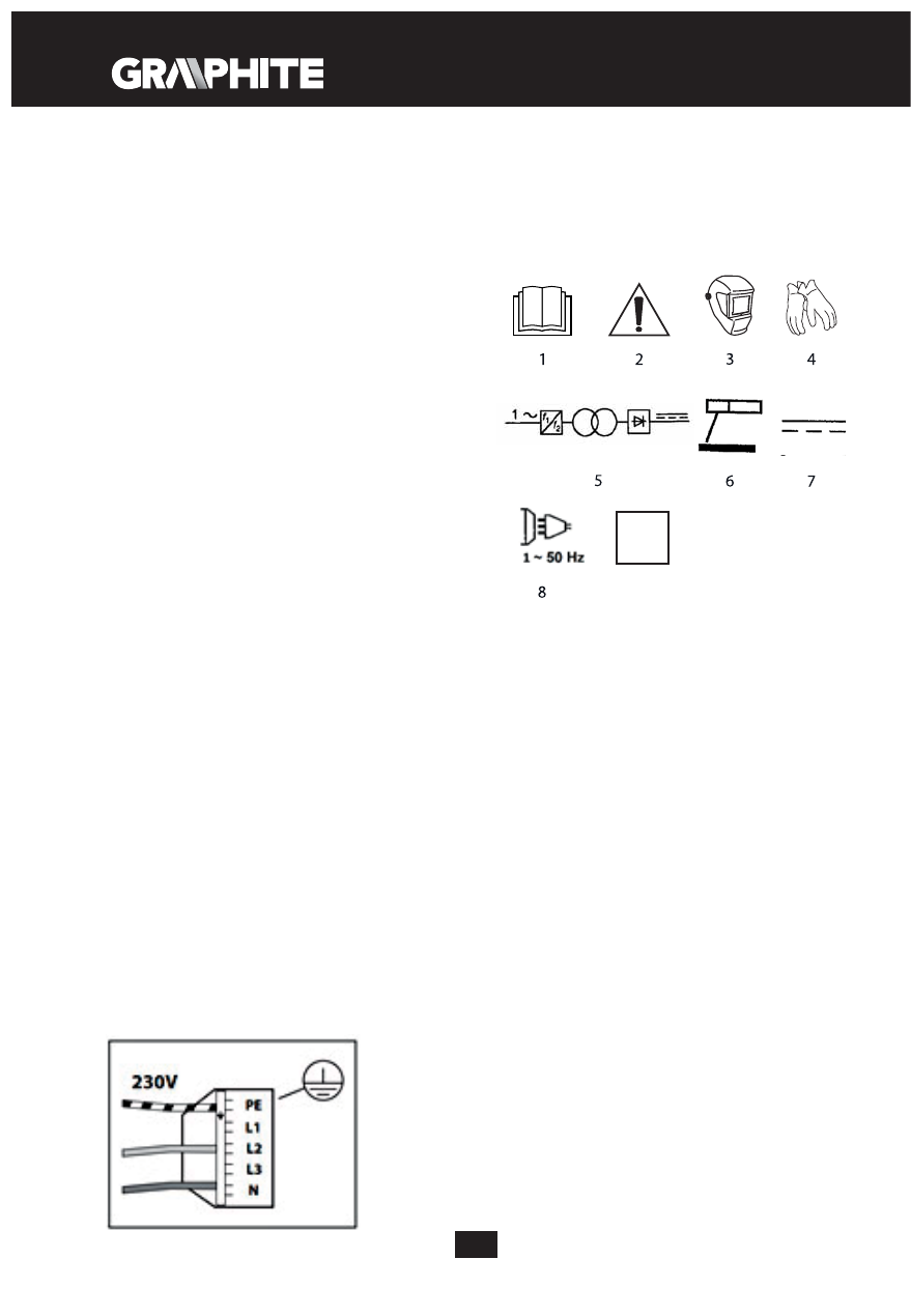
O B J A Š N J E N J E KO R I Š T E N I H P I K TO G R A M A:
9
IP21S
1
0
S
1.
Pročitajte upute za korištenje i uzmite u obzir upozorenja i
sigurnosne upute o kojima je riječ u uputama!
2.
Pozor, pridržavajte se sigurnosnih uputa.
3.
Koristite zaštitnu masku za zavarivanje (vizir)
4.
Koristite zaštitne rukavice
5.
Jednofazni transformator
6.
Ručno zavarivanje obloženom elektrodom
7.
Iz vor energije isporučuje istosmjernu struju (DC)
8.
Jednofazni krug napajanja izmjenične struje frekvencije
50 Hz
9.
Odgovarajuće za zavarivanje u uvjetima s povećanom
opasnošću od strujnog udara
10.
Zavarivački iz vor energije projektiran za rad u zatvorenim
prostorijama
K L A S I F I K AC I J A E M C
EN 55011 – Klasa B
K KO N S T R U KC I J A I N A M J E N A
Alat za zavarivanje je uređaj za zavarivanje I klase izolacije i služi
za MMA zavarivanje. Za MMA zavarivanje se koriste obložene
elektrode montirane u stezaljci zavarivačkog voda MMA. Te se
elektrode tope zajedno s zavarivanim materijalom. Aparati za
zavarivanje imaju stalne strujne karakteristike.
O P I S G R A F I Č K I H S T R A N I C A
Dolje navedeni brojevi se odnose na elemente uređaja koji se
nalaze na grafičkim prikazima ovih uputa
1.
Priključak voda za uzemljenje (-)
2.
Priključak zavarivačkog voda MMA (+)
3.
Kotačić za postavljanje struje zavarivanja
4.
Dioda za signalizaciju priključivanja uređaja
5.
Dioda za signalizaciju pregrijavanja zavojnice
P R I B O R D O DAT N A O P R E M A
1.
Zaštitna maska za zavarivanje
- 1 kom.
2.
Zavarivački čekić i četka
- 1 kom.
3.
Zavarivački
vod
MMA
-
1
kom.
4.
Vod
za
uzemljenje -
1
kom.
Характеристики
Остались вопросы?Не нашли свой ответ в руководстве или возникли другие проблемы? Задайте свой вопрос в форме ниже с подробным описанием вашей ситуации, чтобы другие люди и специалисты смогли дать на него ответ. Если вы знаете как решить проблему другого человека, пожалуйста, подскажите ему :)