Плита Zanussi ZDE 320 - инструкция пользователя по применению, эксплуатации и установке на русском языке. Мы надеемся, она поможет вам решить возникшие у вас вопросы при эксплуатации техники.
Если остались вопросы, задайте их в комментариях после инструкции.
"Загружаем инструкцию", означает, что нужно подождать пока файл загрузится и можно будет его читать онлайн. Некоторые инструкции очень большие и время их появления зависит от вашей скорости интернета.

36
Para alargar la duración de la placa y obtener un mayor
ahorro de energia es aconsejable observar las siguientes
instrucciones:
-
usar sólo recipientes de cocina con fondo plano y de
diametro mayor que el de la placa;
-
evitar que los líquidos en ebullición rebosen y se
viertan sobra la placa;
-
no olvidar nunca la placa conectada sin ollas o con
ollas vacias, y no emplear nunca la placa para calentar
el ambiente;
-
conectar la placa solo después de haber colocado el
recipiente de cocina sobra esta;
-
para evitar formaciones de humedad perjudiciales no
colocar sobre la placa sartenes u ollas con bordes
bajos ni dejar enfriar las ollas calientes.
Las cacerolas con fondos delgados se deforman con el tiempo.
C u a n d o e s t o o c u r r e , s e p i e r d e n l a s v e n t a j a s d e l a s p l a c a s
eléctricas: la distribución uniforme de calor y el ahorro de energía.
El tiempo para cocinar es mayor. Por lo tanto, le recomendamos
adquirir una batería de cocina especifica para utilizar en placas
eléctricas. Además, estas piezas som más fáciles de usar y limpiar.
Pueden colocarse directamente en la placa recipientes de cristal
resistente al calor (pyrex) o recipientes de ceramica resistentes al
horno, si se siguen sus instrucciónes de uso.
¡Nunca deje la placa encendida sin la cacerola!
Desenchúfe la placa justo antes de finalizar el
tiempo necesario para cocinar los alimentos. El
calor acumulado por la placa terminara de
Consejos utiles
U t i l i z a c i ó n d e l a s p l a c a s
eléctricas
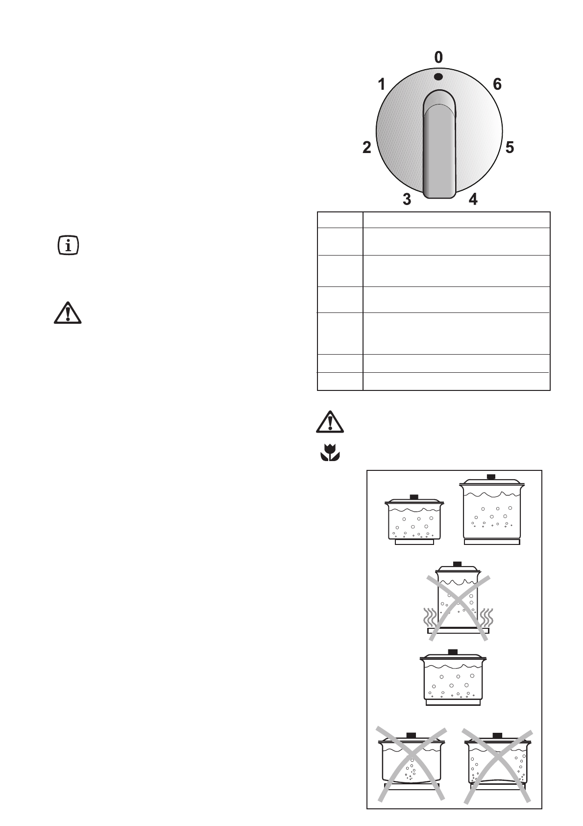
Para endender una de las placas, gire el mando de la
placa a la posición deseada .
La placa eléctrica se regula mediante un mando con 7
posisciones que van desde “0” a “6”:
Posición
0
= apagado
Posición
1
= mínima aportación de calor
Posición
6
= máxima aportación de calor
En las posiciones intermedias (2-3-4-5) se obtienen
mayores potencias.
P a r a o b t e n e r l o s m e j o r e s r e s u l t a d o s l e
aconsejamos que al principio sitúe el mando en
la posición 6 para acelerar el calentamiento de la
placa y posteriormente, seleccione la posición
más adecuada para los alimentos que va a cocinar.
Cuando cocine con aceites o grasas debe
tener el máximo cuidado ya que pueden ar-
der cuando sobrecalientan.
Lámpara indicadora
La lámpara indicadora general colocada en el tablero de
mandos indica la conexión de la placa eléctrica.
Posición
1
Para mantener los alimentos calientes.
Para derretir mantequilla o chocolate
2
Para preparar salsas, guisos, pudín, y
huevos fritos.
3
Para sopas de verdura. Descongelar
alimentos, calentar agua o leche.
4
Para patatas, verduras frescas, pasta,
sopa de legumbres, concentrados,
rosquillas, pescado.
5
Tortillas, filetes, tortas.
6
Filetes, carne empanada, frituras.
Instrucciónes para el usuario
¡Nunca deje la placa encendida sin la cacerola!
Desenchúfe la placa justo antes de finalizar
e l t i e m p o n e c e s a r i o p a r a c o c i n a r l o s
alimentos. El calor acumulado por la placa
terminara de cocinarlos y ahorra energía.
Содержание
- 65 РУССКИЙ; Для Вашей безопасности
- 66 Информация для пользователя
- 67 Электрические конфорки; Индикаторная лампочка; Эксплуатация варочной панели; Советы и рекомендации
- 68 Поверхность варочной панели; Конфорки; Чистка и уход; Технические характеристики
- 69 Указания для установщика; Электрическое подключение
- 70 Встраивание
- 71 Варианты установки












