Котел Neva LUX 7224 - инструкция пользователя по применению, эксплуатации и установке на русском языке. Мы надеемся, она поможет вам решить возникшие у вас вопросы при эксплуатации техники.
Если остались вопросы, задайте их в комментариях после инструкции.
"Загружаем инструкцию", означает, что нужно подождать пока файл загрузится и можно будет его читать онлайн. Некоторые инструкции очень большие и время их появления зависит от вашей скорости интернета.

Руководство для технического персонала
24
13.
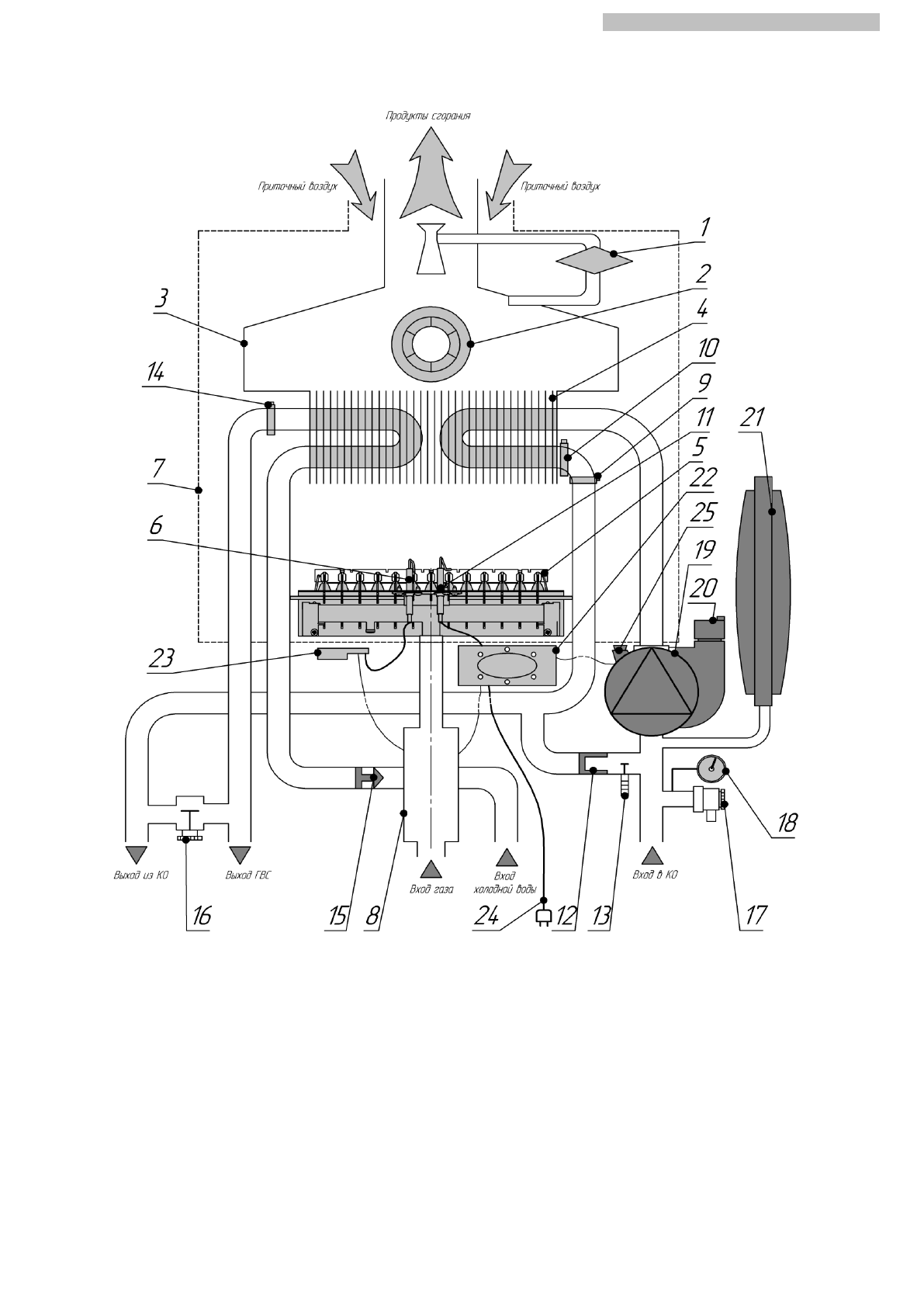
ФУНКЦИОНАЛЬНАЯ СХЕМА И УПРАВЛЕНИЕ РАБОТОЙ КОТЛА
13.1.
Функциональная схема котлов «NEVALUX−7224» и «NEVALUX−7218»
1 -
прессостат воздушный;
2 -
вентилятор;
3 -
газоотводящее устройство;
4 -
теплообменник;
5 -
блок горелочный (горелка);
6 -
свеча розжига;
7 -
камера герметичная;
8 -
регулятор подачи газа;
9 -
термореле;
10 -
датчик температуры контура
отопления;
11 -
свеча ионизации;
12 -
клапан байпаса;
13 -
клапан дренажный;
14 -
датчик температуры контура
ГВС;
15 -
датчик протока контура ГВС;
16 -
кран подпитки контура
отопления;
17 -
клапан предохранительный
(контура отопления);
18 -
манометр;
19 -
насос;
20 -
клапан отвода воздуха
(автоматический);
21 -
бак расширительный;
22 -
плата электронная;
23 -
трансформатор розжига;
24 -
кабель питания;
25 -
датчик давления.
Рис. 12. Функциональная схема
Содержание
- 3 Уважаемый покупатель!; Телефон Службы единой технической поддержки 8; руководстве по эксплуатации.
- 4 МЕРЫ БЕЗОПАСНОСТИ
- 5 ТЕХНИЧЕСКОЕ ОПИСАНИЕ; помещений площадью до 240 м; Технические характеристики
- 6 Габаритные и присоединительные размеры; Рис. 1. Габаритные и присоединительные размеры котла
- 7 РУКОВОДСТВО ПОЛЬЗОВАТЕЛЯ; Обозначение
- 8 Символ; Режимы работы котла; Режим ожидания
- 9 Дополнительные функции
- 10 Работа котла при пониженном/повышенном напряжении питания; ОБСЛУЖИВАНИЕ КОТЛА; обслуживания – перед началом отопительного сезона.; Осмотр; трубопроводов при ее замерзании.
- 11 Операции, выполняемые при техническом обслуживании
- 12 ОПЕРАЦИИ ПЕРЕД МОНТАЖОМ; характеристик и тепловой мощности.; Новая система отопления; Подбор дополнительного расширительного бака
- 13 МОНТАЖ КОТЛА; габариты корпуса котла не менее чем на 10 см; Подключение котла к системе отопления и системе ГВС; техобслуживания без слива воды из всей системы отопления; отопления при минусовой температуре окружающего воздуха.; Подключение котла к газовой сети
- 14 Подключение котла к баллону со сжиженным газом; Во избежание несчастных случаев ЗАПРЕЩАЕТСЯ:; Подсоединение котла к электросети; производить специализированная сервисная организация.
- 15 МОНТАЖ ДЫМООТВОДА; трубы во избежание отравления продуктами сгорания.; Монтаж коаксиального дымоотвода
- 16 Монтаж раздельных труб дымоотвода и воздуховода; равноценен 1 м трубы, каждое колено 45; Монтаж раздельных труб дымоотвода и воздуховода при помощи; как с левой, так и с правой стороны от дымоотводящей трубы.
- 17 диаметром 5 мм и наружным 8...10 мм (материал – паронит) – 4 шт.
- 18 Рис. 9. Схема установки разделителя каналов
- 19 Водородный показатель РН 6; Заполнение водой контура отопления и предпусковые проверки
- 20 Проверка параметров горения; Подключение комнатного термостата
- 21 Подключение внешнего датчика температуры; по подключению датчика поставляется в комплекте с ним.; Подключение компьютера для диагностики; подключению платы контроля зон поставляются в комплекте с ней.; Выключение котла; отсоединить вилку кабеля питания от розетки электросети; Слив воды из контура отопления котла
- 22 РЕГУЛИРОВКА МОЩНОСТИ КОТЛА
- 23 Регулировка минимального давления
- 24 ФУНКЦИОНАЛЬНАЯ СХЕМА И УПРАВЛЕНИЕ РАБОТОЙ КОТЛА
- 25 Основные компоненты; Система управления
- 26 Устройства безопасности; Сервисные функции; Функция программирования параметров
- 27 Функция газоанализа; Логика работы котла; Работа котла в режиме отопления:
- 28 Работа котла в режиме ГВС:
- 29 ПОИСК И УСТРАНЕНИЕ НЕИСПРАВНОСТЕЙ; Таблица 4
- 31 Прочие неисправности; Таблица 5; Неисправность
- 32 СДАЧА КОТЛА ПОТРЕБИТЕЛЮ; В обязательном; ТЕХНИЧЕСКОЕ ОБСЛУЖИВАНИЕ И ПРОВЕРКА РАБОТЫ; Чистка блока горелочного; сажей и увеличит срок его службы.
- 33 Внешняя чистка теплообменника; Проверка работы котла; Проверка герметичности газовой и водяной систем котла; открытого пламени). Появление пузырьков означает утечку газа.
- 34 Проверка работы устройств безопасности
- 35 Проверка устройств контроля за удалением продуктов сгорания; отсутствия тяги в дымоходе.; Проверка датчика температуры контура отопления; Проверка датчика температуры контура ГВС; котел должен автоматически включиться.; Проверка датчика протока воды в контуре ГВС; Проверка давления воздуха в баке расширительном; ,02) МПа. Если давление воздуха в расширительном баке ниже; Проверка системы забора воздуха и отвода продуктов сгорания на
- 36 РАЗБОРКА КОТЛА И ДЕМОНТАЖ ОСНОВНЫХ УЗЛОВ; место и плотно зафиксированы саморезом.
- 37 Демонтаж теплообменника
- 38 Демонтаж клапана байпаса
- 39 ГАРАНТИЙНЫЕ ОБЯЗАТЕЛЬСТВА; гарантийный срок не устанавливается.
- 40 недостатка в работе котла.; СВИДЕТЕЛЬСТВО О ПРИЕМКЕ; годным для эксплуатации.; СВИДЕТЕЛЬСТВО О ПЕРЕВОДЕ НА ДРУГОЙ ВИД ГАЗА
- 41 ОТМЕТКА ОБ УСТАНОВКЕ КОТЛА И ПРОВЕДЕНИИ ТЕХНИЧЕСКОГО; изделие не распространяется.
- 42 КОМПЛЕКТ ПОСТАВКИ; Таблица 6
- 45 Приложение I; Стенка задняя в сборе
- 46 бар
- 47 Составные части гидрогруппы поз. 6
- 48 OTMA
- 49 Составные части узла подпитки поз. 67; Составные части блока горелочного поз. 7
- 50 Составные части свечей в сборе поз. 98; Составные части электропроводки; Подключение насоса
- 51 Приложение II
- 55 Приложение IV