Винные шкафы AEG SWB61501DG - инструкция пользователя по применению, эксплуатации и установке на русском языке. Мы надеемся, она поможет вам решить возникшие у вас вопросы при эксплуатации техники.
Если остались вопросы, задайте их в комментариях после инструкции.
"Загружаем инструкцию", означает, что нужно подождать пока файл загрузится и можно будет его читать онлайн. Некоторые инструкции очень большие и время их появления зависит от вашей скорости интернета.

94 www.electrolux.com
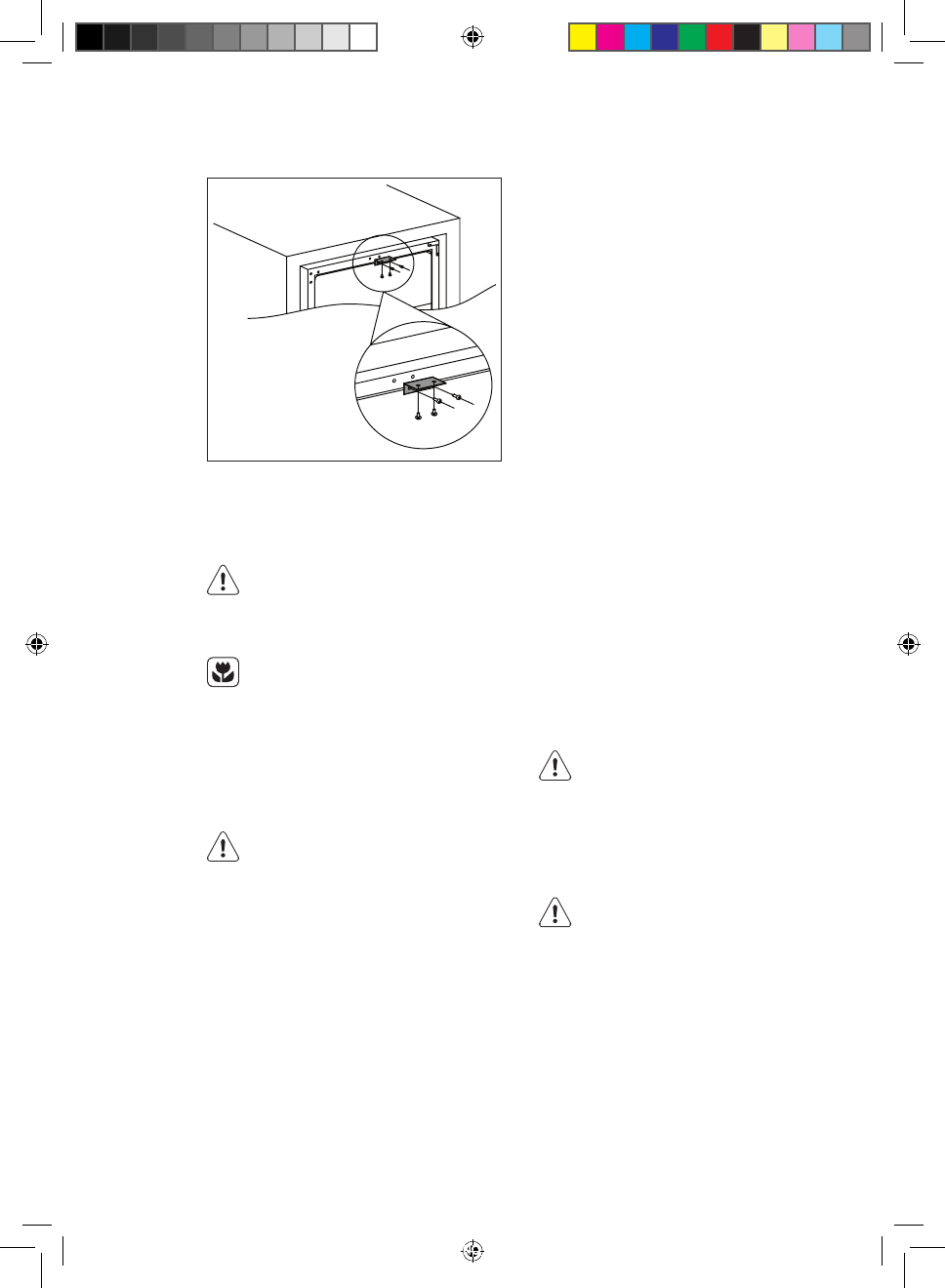
INSTALLER DEN ØVRE BRAKETTEN
Bruk to skruer til å installere den øvre
braketten oppå vinkjøleren, trykk
vinkjøleren inn i kabinettet og bruk
to skruer til å feste den øvre braketten
på kabinettet. Se tegningen nedenfor.
FORSIKTIG!
Trekk støpselet ut av stikkontakten
før du foretar enhver rengjøring
av skapet.
Dette produktet inneholder
hydrokarboner i kjølekretsen.
Vedlikehold må derfor bare utføres
av autoriserte serviceteknikere.
REGELMESSIG RENGJØRING
Utstyret skal rengjøres regelmessig:
Ikke trekk i, flytt eller påfør skade
på noen rør og/eller kabler inne
i kabinettet.
Bruk aldri sterke vaskemidler,
skurepulver, sterkt parfymerte
rengjøringsprodukter eller
vokspoleringsmidler for å rengjøre
innvendig. Dette skader overflaten
og etterlater sterk lukt.
•
Vask overflatene på innsiden med
bakepulver oppløst i varmt vann.
Løsningen skal være omtrent 2 ss
bakepulver til 1 l vann.
STELL OG VEDLIKEHOLD
•
Vreng ut ekstra vann fra svampen eller
kluten når du rengjør kontrollområdet
eller andre elektriske deler.
•
Vask utsiden av kjøleren med varmt
vann og et mildt vaskemiddel.
•
Kontroller dørpakningene regelmessig
og vask dem for å sikre at de er rene
og fri for matrester.
•
Skyll og tørk grundig.
Unngå skader på kjølesystemet.
Etter rengjøring settes støpselet inn
i stikkontakten igjen.
SKIFTE LYSPÆRE
ADVARSEL!
Advarsel! Dersom LED-lampen svikter,
IKKE BYTT DEN SELV.
Dersom LED-lampen blir byttet
av en person som ikke er kvalifisert,
er det risiko for skade og alvorlige feil.
LED-lampen må bli byttet ut av
en ekspert for å forhindre skader.
Snakk med ditt nærmeste servicesenter.
SWB61501DG-SWE61501DG_Wine_cellar_AEG_CZ_DA_EN_FI_FR_IT_NO_PL_RU_SK_SV_UK.indd 94
2017-06-28 10:06:06
Содержание
- 115 СВЕДЕНИЯ ПО ТЕХНИКЕ БЕЗОПАСНОСТИ
- 116 УКАЗАНИЯ ПО БЕЗОПАСНОСТИ
- 117 ЭКСПЛУАТАЦИЯ
- 119 ВКЛЮЧЕНИЕ; ЕЖЕДНЕВНОЕ ИСПОЛЬЗОВАНИЕ; ОЧИСТКА
- 120 ХРАНЕНИЕ ВИНА
- 121 РАЗМЕЩЕНИЕ; УСТАНОВКА; И ТРЕБОВАНИЯ К ВЕНТИЛЯЦИИ
- 122 УХОД И ОЧИСТКА; ЗАМЕНА ЛАМПЫ
- 123 ПЕРЕРЫВЫ В; ПОИСК И УСТРАНЕНИЕ НЕИСПРАВНОСТЕЙ; СБОЙ В СЕТИ
- 125 ШУМЫ ПРИ РАБОТЕ
- 126 ТЕХНИЧЕСКИЕ ДАННЫЕ
- 127 ОХРАНА ОКРУЖАЮЩЕЙ СРЕДЫ; УПАКОВОЧНЫЕ
Характеристики
Остались вопросы?Не нашли свой ответ в руководстве или возникли другие проблемы? Задайте свой вопрос в форме ниже с подробным описанием вашей ситуации, чтобы другие люди и специалисты смогли дать на него ответ. Если вы знаете как решить проблему другого человека, пожалуйста, подскажите ему :)













