Винные шкафы AEG SWB61501DG - инструкция пользователя по применению, эксплуатации и установке на русском языке. Мы надеемся, она поможет вам решить возникшие у вас вопросы при эксплуатации техники.
Если остались вопросы, задайте их в комментариях после инструкции.
"Загружаем инструкцию", означает, что нужно подождать пока файл загрузится и можно будет его читать онлайн. Некоторые инструкции очень большие и время их появления зависит от вашей скорости интернета.

38 www.electrolux.com
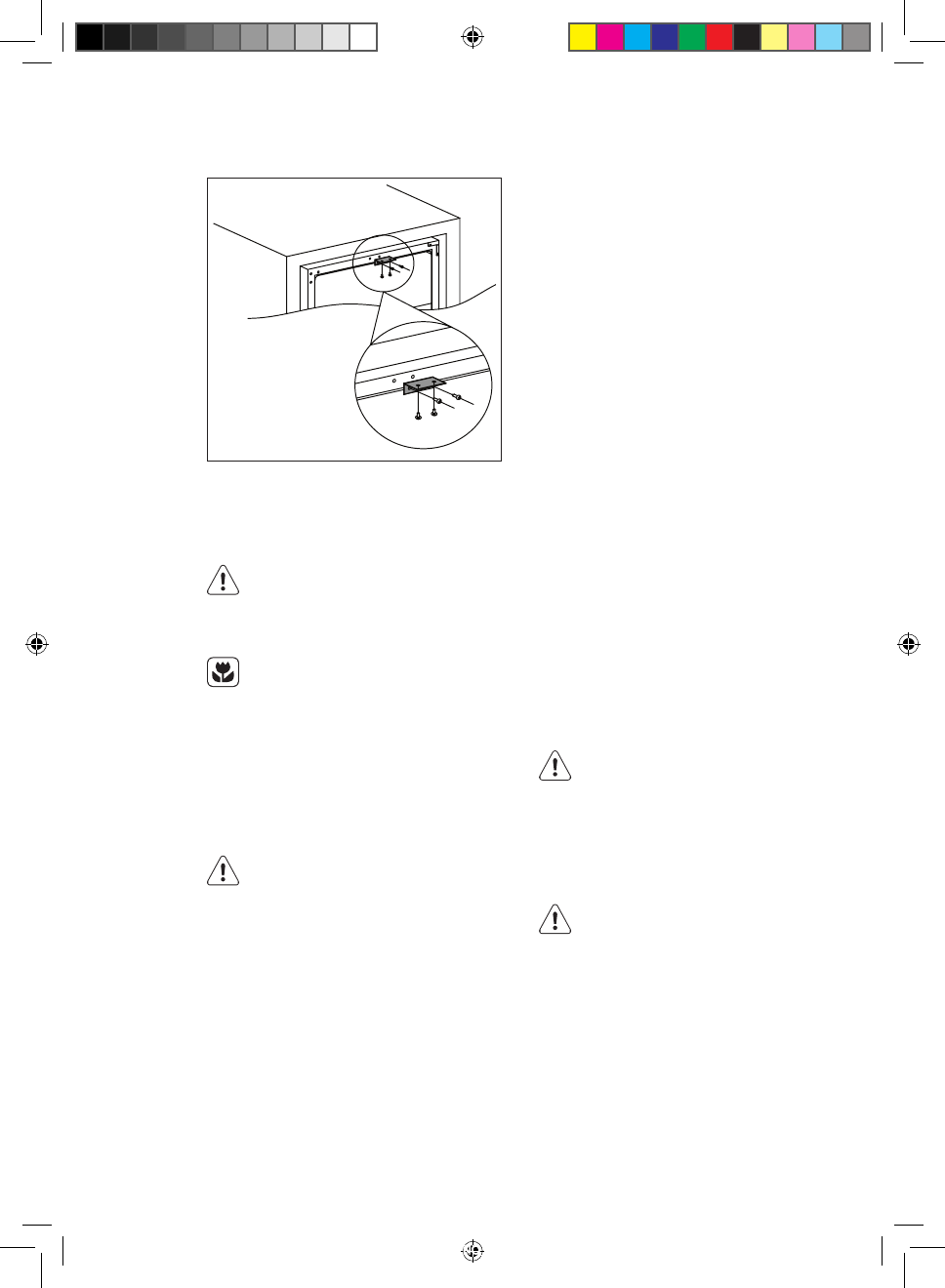
INSTALLING THE UPPER BRACKET
Use two screws to install the upper
bracket on the top of wine cooler, then
push wine cooler into cabinet and use
two screws to fix the upper bracket on
the cabinet. Below drawing for reference.
CAUTION!
Unplug the appliance before carry-
ing out any maintenance opera-
tion.
This appliance contains hy-
drocarbons in its cooling unit;
maintenance and recharging must
therefore only be carried out by
authorized technicians.
PERIODIC CLEANING
The equipment has to be cleaned regu-
larly:
Do not pull, move or damage any
pipes and/or cables inside the
cabinet.
Never use detergents, abra-
sivepowders, highly perfumed
cleaning products or wax polishes
to clean the interior as this will
damage the surface and leave a
strong odour.
•
Wash the inside surfaces with a warm
water and baking soda solution. The
solution should be about 2 table-
spoons of baking soda to a quart of
water.
CARE AND MAINTENANCE
•
Wring excess water out of the sponge
or cloth when cleaning area of the
controls, or any electrical parts.
•
Wash the outside cooler with warm
water and mild liquid detergent.
•
Regularly check the door seals and
wipe clean to ensure they are clean
and free from debris.
•
Rinse and dry thoroughly.
Take care of not to damage the
cooling system.
After cleaning, reconnect the equipmen
to the mains supply.
CHANGING THE LIGHT BULB
WARNING!
Warning! If the LED lamp is faulty, DO
NOT CHANGE IT YOURSELF.
If the LED lamp is changed by a person
who is not qualified to do so, there is a
risk of injury and there could be serious
malfunctions.
The LED lamp must be replaced by an
expert in order to prevent any damage.
Speak Your local Service Force Centre.
SWB61501DG-SWE61501DG_Wine_cellar_AEG_CZ_DA_EN_FI_FR_IT_NO_PL_RU_SK_SV_UK.indd 38
2017-06-28 10:05:59
Содержание
- 115 СВЕДЕНИЯ ПО ТЕХНИКЕ БЕЗОПАСНОСТИ
- 116 УКАЗАНИЯ ПО БЕЗОПАСНОСТИ
- 117 ЭКСПЛУАТАЦИЯ
- 119 ВКЛЮЧЕНИЕ; ЕЖЕДНЕВНОЕ ИСПОЛЬЗОВАНИЕ; ОЧИСТКА
- 120 ХРАНЕНИЕ ВИНА
- 121 РАЗМЕЩЕНИЕ; УСТАНОВКА; И ТРЕБОВАНИЯ К ВЕНТИЛЯЦИИ
- 122 УХОД И ОЧИСТКА; ЗАМЕНА ЛАМПЫ
- 123 ПЕРЕРЫВЫ В; ПОИСК И УСТРАНЕНИЕ НЕИСПРАВНОСТЕЙ; СБОЙ В СЕТИ
- 125 ШУМЫ ПРИ РАБОТЕ
- 126 ТЕХНИЧЕСКИЕ ДАННЫЕ
- 127 ОХРАНА ОКРУЖАЮЩЕЙ СРЕДЫ; УПАКОВОЧНЫЕ
Характеристики
Остались вопросы?Не нашли свой ответ в руководстве или возникли другие проблемы? Задайте свой вопрос в форме ниже с подробным описанием вашей ситуации, чтобы другие люди и специалисты смогли дать на него ответ. Если вы знаете как решить проблему другого человека, пожалуйста, подскажите ему :)













