Винные шкафы AEG SWB61501DG - инструкция пользователя по применению, эксплуатации и установке на русском языке. Мы надеемся, она поможет вам решить возникшие у вас вопросы при эксплуатации техники.
Если остались вопросы, задайте их в комментариях после инструкции.
"Загружаем инструкцию", означает, что нужно подождать пока файл загрузится и можно будет его читать онлайн. Некоторые инструкции очень большие и время их появления зависит от вашей скорости интернета.

108 www.electrolux.com
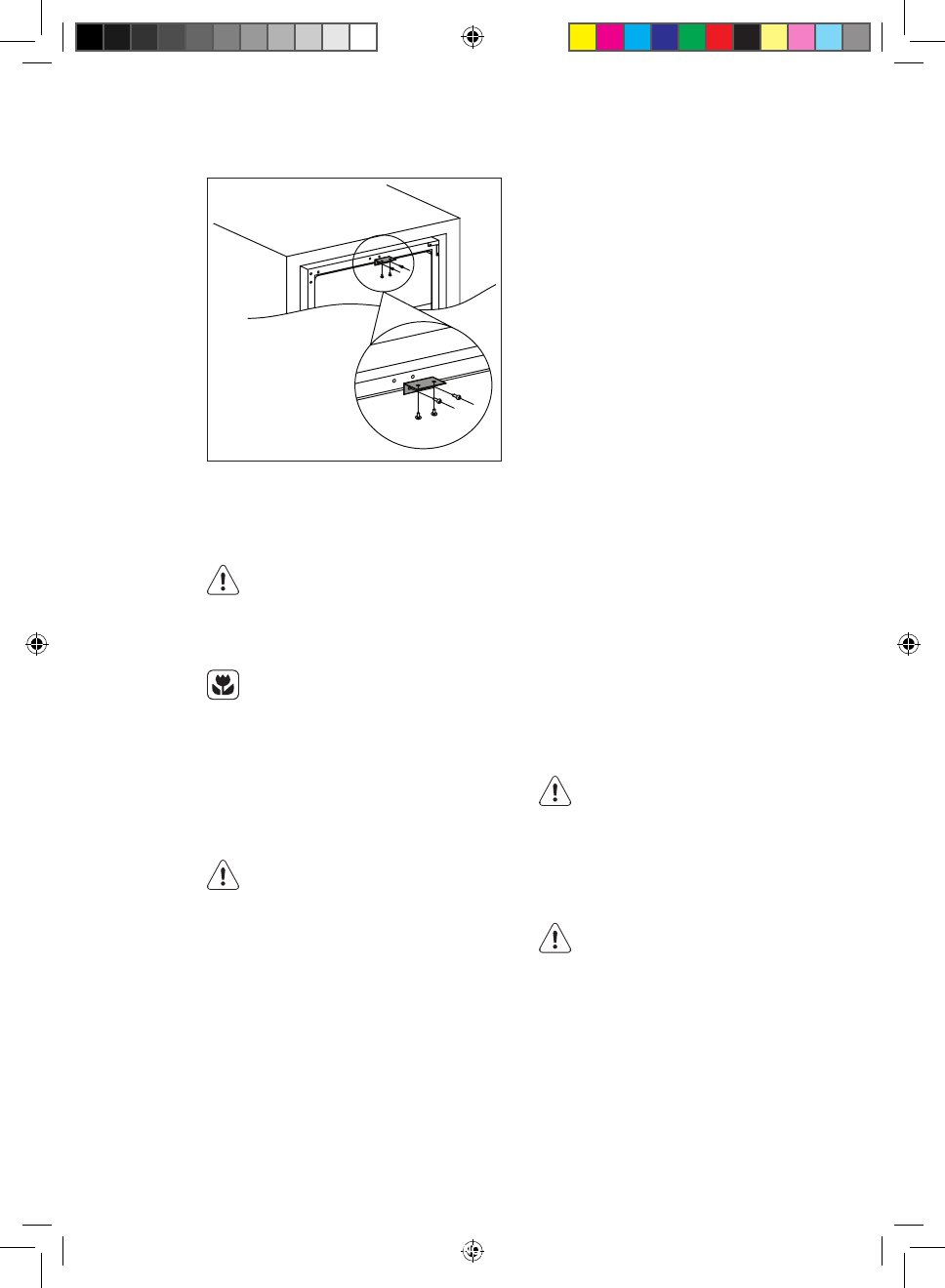
MONTAŻ GÓRNEGO ELEMENTU MOCUJĄCEGO
Zamontować górny element mocujący
w górnej części chłodziarki do wina
za pomocą dwóch wkrętów, wstawić
chłodziarkę do szafki i przymocować
ją do szafki dwoma wkrętami. Patrz
poniższa ilustracja.
OSTROŻNIE!
Przed przeprowadzeniem
jakichkolwiek prac konserwa-
cyjnych należy odłączyć
urządzenie od zasilania.
Układ chłodniczy urządzenia
zawiera węglowodory, dlatego
wszelkie prace konserwacyjne
i napełnianie układu powinny
być wykonywane przez wykwalif-
ikowanych pracowników serwisu.
OKRESOWE CZYSZCZENIE
Urządzenie należy regularnie czyścić:
Nie należy ciągnąć, przesuwać ani
uszkadzać rurek i/lub przewodów
w urządzeniu.
Nigdy nie należy stosować
środków czyszczących, ściernych,
produktów do czyszczenia
o intensywnym zapachu lub
woskowych środków czyszczących
do czyszczenia wnętrza urządzenia,
ponieważ mogłoby to spowodować
uszkodzenie powierzchni i
pozostawić silny zapach.
•
Wewnętrzne powierzchnie umyć ciepłą
wodą z dodatkiem sody oczyszczonej.
Do przygotowania roztworu użyć
2 łyżek stołowych sody oczyszczonej
na litr wody.
CZYSZCZENIE I KONSERWACJA
•
Dobrze wykręcić gąbkę lub szmatkę
przed czyszczeniem obszaru
elementów sterujących lub części
elektrycznych.
•
Zewnętrzną część chłodziarki umyć
ciepłą wodą z dodatkiem łagodnego
środka myjącego w płynie.
•
Regularnie sprawdzać i przecierać
uszczelki drzwi, aby nie gromadził
się na nich osad.
•
Dokładnie opłukać i wysuszyć.
Należy chronić układ chłodniczy
przed uszkodzeniem.
Po czyszczeniu ponownie podłączyć
urządzenie do źródła zasilania.
WYMIANA ŻARÓWKI
OSTRZEŻENIE!
Ostrzeżenie! Jeśli lampa LED
przepali się, NIE WYMIENIAĆ
JEJ SAMODZIELNIE.
Wymiana lampy LED przez
niewykwalifikowaną osobę grozi
obrażeniami ciała lub wadliwym
działaniem urządzenia.
Wymianę lampy LED należy zlecić
specjaliście, aby uniknąć uszkodzeń.
Skontaktować się w tym celu z punktem
serwisowym.
SWB61501DG-SWE61501DG_Wine_cellar_AEG_CZ_DA_EN_FI_FR_IT_NO_PL_RU_SK_SV_UK.indd 108
2017-06-28 10:06:09
Содержание
- 115 СВЕДЕНИЯ ПО ТЕХНИКЕ БЕЗОПАСНОСТИ
- 116 УКАЗАНИЯ ПО БЕЗОПАСНОСТИ
- 117 ЭКСПЛУАТАЦИЯ
- 119 ВКЛЮЧЕНИЕ; ЕЖЕДНЕВНОЕ ИСПОЛЬЗОВАНИЕ; ОЧИСТКА
- 120 ХРАНЕНИЕ ВИНА
- 121 РАЗМЕЩЕНИЕ; УСТАНОВКА; И ТРЕБОВАНИЯ К ВЕНТИЛЯЦИИ
- 122 УХОД И ОЧИСТКА; ЗАМЕНА ЛАМПЫ
- 123 ПЕРЕРЫВЫ В; ПОИСК И УСТРАНЕНИЕ НЕИСПРАВНОСТЕЙ; СБОЙ В СЕТИ
- 125 ШУМЫ ПРИ РАБОТЕ
- 126 ТЕХНИЧЕСКИЕ ДАННЫЕ
- 127 ОХРАНА ОКРУЖАЮЩЕЙ СРЕДЫ; УПАКОВОЧНЫЕ
Характеристики
Остались вопросы?Не нашли свой ответ в руководстве или возникли другие проблемы? Задайте свой вопрос в форме ниже с подробным описанием вашей ситуации, чтобы другие люди и специалисты смогли дать на него ответ. Если вы знаете как решить проблему другого человека, пожалуйста, подскажите ему :)













