Винные шкафы AEG SWB61501DG - инструкция пользователя по применению, эксплуатации и установке на русском языке. Мы надеемся, она поможет вам решить возникшие у вас вопросы при эксплуатации техники.
Если остались вопросы, задайте их в комментариях после инструкции.
"Загружаем инструкцию", означает, что нужно подождать пока файл загрузится и можно будет его читать онлайн. Некоторые инструкции очень большие и время их появления зависит от вашей скорости интернета.

122 www.electrolux.com
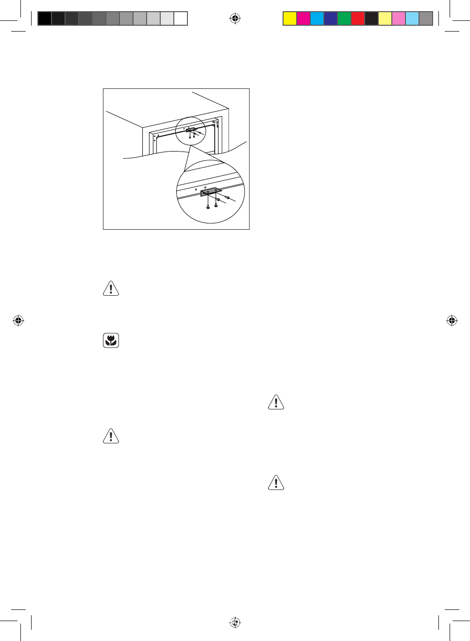
УСТАНОВКА ВЕРХНЕЙ СКОБЫ
Закрепите скобу наверху холодильника
для вин двумя винтами, затем задвиньте
холодильник для вин в мебель и
закрепите его скобу на мебели при
помощи двух винтов. См. рисунок ниже.
ВНИМАНИЕ!
Перед выполнением каких-либо
операций по чистке или уходу за
прибором выньте вилку сетевого
шнура из розетки.
Холодильный контур данного
прибора содержит углеводороды,
поэтому техническое
обслуживание и перезарядка
должны выполняться только
авторизованным специалистом.
ПЕРИОДИЧЕСКАЯ ЧИСТКА
Прибор необходимо регулярно чистить:
Запрещается вытягивать,
перемещать или повреждать
какие-либо трубки и (или) кабели,
находящиеся внутри корпуса.
Никогда не пользуйтесь для
чистки внутренних поверхностей
моющими средствами,
абразивными порошками,
чистящими средствами с сильным
запахом или полиролями, так как
они могут повредить поверхность
и оставить стойкий запах.
•
Очищайте наружные поверхности
теплой водой с растворенной в ней
пищевой содой. Раствор должен
содержать примерно 2 столовые ложки
пищевой соды на кварту (1,14л) воды.
УХОД И ОЧИСТКА
•
При очистке элементов управления
или каких-либо электрических
компонентов сначала выжмите
излишки воды из губки или тряпки.
•
Мойте наружную поверхность
холодильника раствором мягкого
моющего средства в теплой воде.
•
Регулярно проверяйте и протирайте
уплотнение дверцы, чтобы обеспечить
чистоту и отсутствие загрязнений.
•
Ополосните чистой водой и вытрите
насухо.
Соблюдайте осторожность,
чтобы не повредить систему
охлаждения.
После чистки заново подключите прибор
к сети электропитания.
ЗАМЕНА ЛАМПЫ
ВНИМАНИЕ!
Внимание! В случае неисправности
светодиодной лампы НЕ ПРОИЗВОДИТЕ
ЕЕ ЗАМЕНУ САМОСТОЯТЕЛЬНО.
В случае замены светодиодной лампы
лицом, не имеющим для этого достаточной
квалификации, имеется риск получения
травмы или серьезной неисправности.
Во избежание ущерба светодиодную
лампу должен заменять специалист.
Обратитесь в местный сервисный центр.
SWB61501DG-SWE61501DG_Wine_cellar_AEG_CZ_DA_EN_FI_FR_IT_NO_PL_RU_SK_SV_UK.indd 122
2017-06-28 10:06:11
Содержание
- 115 СВЕДЕНИЯ ПО ТЕХНИКЕ БЕЗОПАСНОСТИ
- 116 УКАЗАНИЯ ПО БЕЗОПАСНОСТИ
- 117 ЭКСПЛУАТАЦИЯ
- 119 ВКЛЮЧЕНИЕ; ЕЖЕДНЕВНОЕ ИСПОЛЬЗОВАНИЕ; ОЧИСТКА
- 120 ХРАНЕНИЕ ВИНА
- 121 РАЗМЕЩЕНИЕ; УСТАНОВКА; И ТРЕБОВАНИЯ К ВЕНТИЛЯЦИИ
- 122 УХОД И ОЧИСТКА; ЗАМЕНА ЛАМПЫ
- 123 ПЕРЕРЫВЫ В; ПОИСК И УСТРАНЕНИЕ НЕИСПРАВНОСТЕЙ; СБОЙ В СЕТИ
- 125 ШУМЫ ПРИ РАБОТЕ
- 126 ТЕХНИЧЕСКИЕ ДАННЫЕ
- 127 ОХРАНА ОКРУЖАЮЩЕЙ СРЕДЫ; УПАКОВОЧНЫЕ
Характеристики
Остались вопросы?Не нашли свой ответ в руководстве или возникли другие проблемы? Задайте свой вопрос в форме ниже с подробным описанием вашей ситуации, чтобы другие люди и специалисты смогли дать на него ответ. Если вы знаете как решить проблему другого человека, пожалуйста, подскажите ему :)













