Винные шкафы AEG SWB61501DG - инструкция пользователя по применению, эксплуатации и установке на русском языке. Мы надеемся, она поможет вам решить возникшие у вас вопросы при эксплуатации техники.
Если остались вопросы, задайте их в комментариях после инструкции.
"Загружаем инструкцию", означает, что нужно подождать пока файл загрузится и можно будет его читать онлайн. Некоторые инструкции очень большие и время их появления зависит от вашей скорости интернета.

10 www.electrolux.com
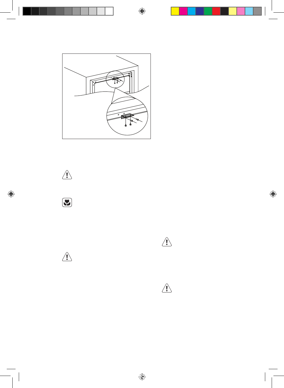
INSTALACE HORNÍ KONZOLY
K instalací horní konzoly na vrchní část
vinotéky použijte dva šrouby a poté
zatlačte vinotéku do skříně a pomocí
dvou šroubů připevněte konzolu na skříň.
Níže je uvedené referenční vyobrazení.
POZOR!
Před každou údržbou nebo
čištěním spotřebič odpojte
od elektrické sítě.
Tento spotřebič obsahuje
uhlovodíky v chladicí jednotce;
údržbu a doplnění smí tedy
provádět pouze oprávněný
technik.
PRAVIDELNÉ ČIŠTĚNÍ
Spotřebič je nutné pravidelně čistit:
Nehýbejte s žádnými trubkami
nebo kabely uvnitř spotřebiče,
netahejte za ně a nepoškozujte
je. Nikdy nepoužívejte k čištění
vnitřku spotřebiče mycí
prostředky, abrazivní prášky,
vysoce parfémované čisticí
prostředky nebo vosková leštidla,
protože mohou poškodit povrch
a zanechat silný zápach.
•
Vnitřní povrchy myjte roztokem teplé
vody s jedlou sodou. Tento roztok
by měl být vytvořen z cca dvou
polévkových lžic jedlé sody a cca
1,13 l vody.
PÉČE A ÚDRŽBA
•
Při čištění oblasti ovládacích prvků
nebo jakýchkoliv elektrických částí
vyždímejte přebytečnou vodu
z houbičky či hadru.
•
Vnější části spotřebiče myjte teplou
vodou s jemným tekutým mycím
prostředkem.
•
Pravidelně kontrolujte těsnění dveří
a otírejte je, aby bylo čisté, bez
usazených nečistot.
•
Vše důkladně opláchněte a osušte.
Dbejte na to, abyste nepoškodili
chladicí systém.
Po čištění znovu připojte spotřebič
k elektrické síti.
VÝMĚNA ŽÁROVKY
VAROVÁNÍ!
Varování! Pokud je LED žárovka vadná,
NEMĚŇTE JI SAMI.
Pokud LED žárovku vymění osoba bez
příslušné kvalifikace, existuje zde riziko
poranění a vážných poruch.
LED žárovku musí vyměnit expert, aby
se zabránilo jakýmkoliv škodám. Obraťte
se na místní servisní středisko.
SWB61501DG-SWE61501DG_Wine_cellar_AEG_CZ_DA_EN_FI_FR_IT_NO_PL_RU_SK_SV_UK.indd 10
2017-06-28 10:05:55
Содержание
- 115 СВЕДЕНИЯ ПО ТЕХНИКЕ БЕЗОПАСНОСТИ
- 116 УКАЗАНИЯ ПО БЕЗОПАСНОСТИ
- 117 ЭКСПЛУАТАЦИЯ
- 119 ВКЛЮЧЕНИЕ; ЕЖЕДНЕВНОЕ ИСПОЛЬЗОВАНИЕ; ОЧИСТКА
- 120 ХРАНЕНИЕ ВИНА
- 121 РАЗМЕЩЕНИЕ; УСТАНОВКА; И ТРЕБОВАНИЯ К ВЕНТИЛЯЦИИ
- 122 УХОД И ОЧИСТКА; ЗАМЕНА ЛАМПЫ
- 123 ПЕРЕРЫВЫ В; ПОИСК И УСТРАНЕНИЕ НЕИСПРАВНОСТЕЙ; СБОЙ В СЕТИ
- 125 ШУМЫ ПРИ РАБОТЕ
- 126 ТЕХНИЧЕСКИЕ ДАННЫЕ
- 127 ОХРАНА ОКРУЖАЮЩЕЙ СРЕДЫ; УПАКОВОЧНЫЕ
Характеристики
Остались вопросы?Не нашли свой ответ в руководстве или возникли другие проблемы? Задайте свой вопрос в форме ниже с подробным описанием вашей ситуации, чтобы другие люди и специалисты смогли дать на него ответ. Если вы знаете как решить проблему другого человека, пожалуйста, подскажите ему :)













