Винные шкафы AEG SWB61501DG - инструкция пользователя по применению, эксплуатации и установке на русском языке. Мы надеемся, она поможет вам решить возникшие у вас вопросы при эксплуатации техники.
Если остались вопросы, задайте их в комментариях после инструкции.
"Загружаем инструкцию", означает, что нужно подождать пока файл загрузится и можно будет его читать онлайн. Некоторые инструкции очень большие и время их появления зависит от вашей скорости интернета.

164 www.electrolux.com
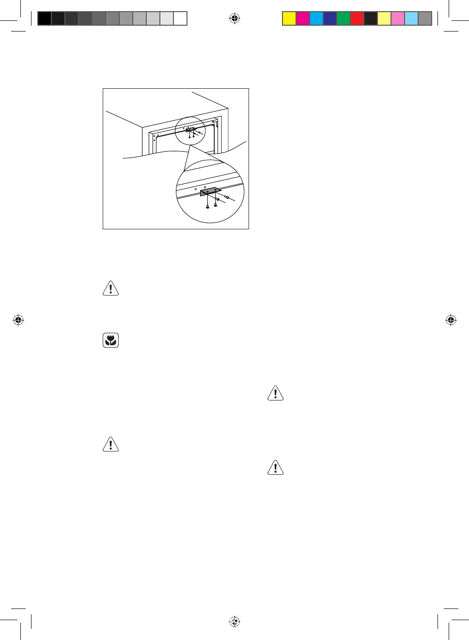
ВСТАНОВЛЕННЯ ВЕРХНЬОГО КРОНШТЕЙНА
Використовуйте два гвинти, щоб
встановити верхню скобу на верхній
частині холодильник для вина, а потім
вставте холодильник для вина у корпус
і за допомогою двох гвинтів закріпіть
верхню скобу на корпусі. Нижче
наводиться малюнок для довідки.
УВАГА!
Перш ніж виконувати операції
з технічного обслуговування,
завжди виймайте вилку
з розетки.
У холодильному агрегаті
цього приладу містяться
вуглеводні, тому його
технічне обслуговування
та перезаправляння має
виконувати лише уповноважений
кваліфікований майстер.
ПЕРІОДИЧНЕ ОЧИЩЕННЯ
Прилад необхідно регулярно чистити:
Не тягніть, не пересувайте
та не пошкоджуйте трубки
й кабелі всередині камери.
Не застосовуйте для очищення
камери засоби для миття,
абразивні порошки, засоби для
очищення із сильним запахом
або воскові поліролі, бо вони
можуть пошкодити поверхню
та залишити сильний запах.
•
Вимийте внутрішні поверхні
розчином теплої води і харчової соди
у співвідношенні приблизно 2 столові
ложки харчової соди на літр води.
ДОГЛЯД І ОБСЛУГОВУВАННЯ
•
Відіжміть зайву воду з губки або
тканини при очищенні області панелі
управління та електричних частин.
•
Помийте холодильник зовні теплою
водою з м'яким рідким миючим
засобом.
•
Регулярно перевіряйте ущільнювач
дверцят і очищуйте його від бруду
та залишків продуктів.
•
Промийте чистою водою і ретельно
витріть.
Дбайте про те, щоб не пошкодити
систему охолодження.
Завершивши миття, знову підключіть
прилад до електромережі.
ЗАМІНА ЛАМПОЧКИ
ПОПЕРЕДЖЕННЯ!
Увага! Якщо світлодіодна лампа
несправна, НЕ ЗАМІНЮЙТЕ ЇЇ
САМОСТІЙНО.
У випадку заміни світлодіодних ламп
особою без належної кваліфікації існує
ризик отримання травм та суттєвих
несправностей приладу.
З метою попередження пошкоджень
світлодіодну лампу повинен замінювати
спеціаліст. Зверніться у місцевий центр
сервісного обслуговування.
SWB61501DG-SWE61501DG_Wine_cellar_AEG_CZ_DA_EN_FI_FR_IT_NO_PL_RU_SK_SV_UK.indd 164
2017-06-28 10:06:21
Содержание
- 115 СВЕДЕНИЯ ПО ТЕХНИКЕ БЕЗОПАСНОСТИ
- 116 УКАЗАНИЯ ПО БЕЗОПАСНОСТИ
- 117 ЭКСПЛУАТАЦИЯ
- 119 ВКЛЮЧЕНИЕ; ЕЖЕДНЕВНОЕ ИСПОЛЬЗОВАНИЕ; ОЧИСТКА
- 120 ХРАНЕНИЕ ВИНА
- 121 РАЗМЕЩЕНИЕ; УСТАНОВКА; И ТРЕБОВАНИЯ К ВЕНТИЛЯЦИИ
- 122 УХОД И ОЧИСТКА; ЗАМЕНА ЛАМПЫ
- 123 ПЕРЕРЫВЫ В; ПОИСК И УСТРАНЕНИЕ НЕИСПРАВНОСТЕЙ; СБОЙ В СЕТИ
- 125 ШУМЫ ПРИ РАБОТЕ
- 126 ТЕХНИЧЕСКИЕ ДАННЫЕ
- 127 ОХРАНА ОКРУЖАЮЩЕЙ СРЕДЫ; УПАКОВОЧНЫЕ
Характеристики
Остались вопросы?Не нашли свой ответ в руководстве или возникли другие проблемы? Задайте свой вопрос в форме ниже с подробным описанием вашей ситуации, чтобы другие люди и специалисты смогли дать на него ответ. Если вы знаете как решить проблему другого человека, пожалуйста, подскажите ему :)













