Винные шкафы AEG SWB61501DG - инструкция пользователя по применению, эксплуатации и установке на русском языке. Мы надеемся, она поможет вам решить возникшие у вас вопросы при эксплуатации техники.
Если остались вопросы, задайте их в комментариях после инструкции.
"Загружаем инструкцию", означает, что нужно подождать пока файл загрузится и можно будет его читать онлайн. Некоторые инструкции очень большие и время их появления зависит от вашей скорости интернета.

24 www.electrolux.com
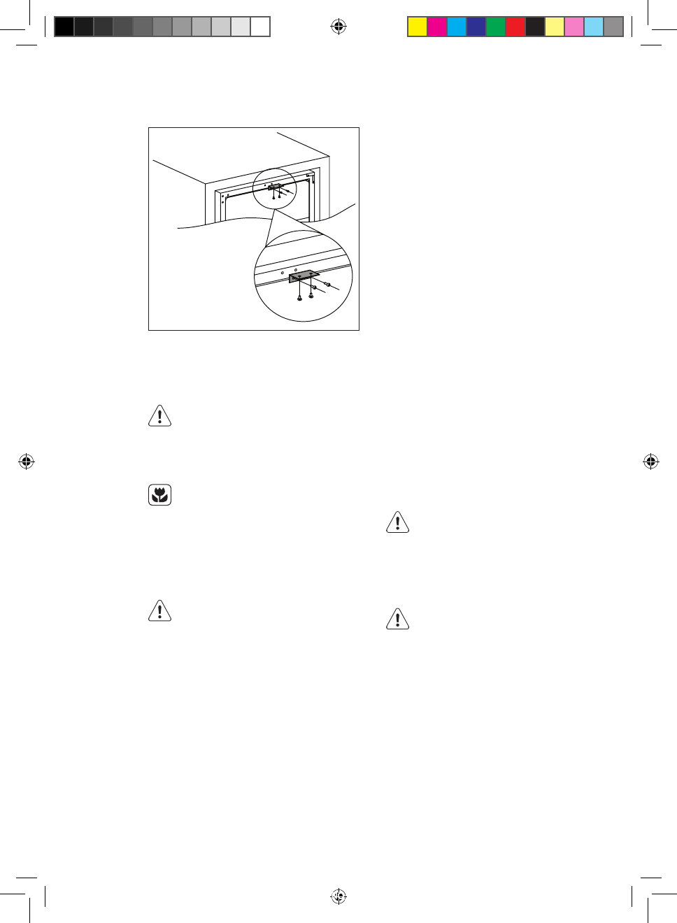
INSTALLATION AF DET ØVERSTE BESLAG
Brug to skruer til at installere det øverste
beslag øverst på vinkøleren, og skub
derefter vinkøleren ind i skabet, og
brug to skruer til at fastgøre det øverste
beslag på skabet. Nedenstående
illustration til reference.
PAS PÅ!
Kobl apparatet fra
strømforsyningen, før der
udføres nogen som helst form
for vedligeholdelse.
Apparatets kølesystem indeholder
kulbrinter, og service og påfyldning
af kølemiddel må derfor kun
udføres af en autoriseret tekniker.
REGELMÆSSIG RENGØRING
Apparatet skal jævnlig rengøres:
Undgå at trække i, flytte eller
beskadige evt. rør og/eller
ledninger i skabet.
Brug aldrig opvaskemiddel,
skurepulver, stærkt parfumeret
rengøringsmiddel eller
voksprodukter til indvendig
rengøring af skabet. Det skader
overfladen og efterlader kraftig lugt.
•
Vask de indvendige overflader med
en opløsning af varmt vand og natron.
Opløsningen bør være ca. 2 spsk.
natron til en liter vand.
•
Vrid overskydende vand ud af
svampen eller kluden, når du rengør
kontrolområdet eller elektriske dele.
PLEJE OG VEDLIGEHOLDELSE
•
Vask den udvendige køler med
varmt vand og et mildt flydende
opvaskemiddel.
•
Efterse jævnlig dørpakningerne,
og tør dem af, så de er rene og fri
for belægninger.
•
Skyl og tør grundigt af.
Undgå at beskadige kølesystemet.
Sæt stikket i stikkontakten efter
rengøringen.
UDSKIFTNING AF PÆRE
ADVARSEL!
Advarsel! Hvis kontrollampen er defekt,
MÅ DU IKKE SELV UDSKIFTE DEN.
Hvis kontrollampen udskiftes af en
person, der ikke er kvalificeret til det,
er der risiko for personskade, og der
kan være alvorlige funktionsfejl.
Kontrollampen skal udskiftes af en
ekspert for at forhindre beskadigelse.
Kontakt det lokale servicecenter.
SWB61501DG-SWE61501DG_Wine_cellar_AEG_CZ_DA_EN_FI_FR_IT_NO_PL_RU_SK_SV_UK.indd 24
2017-06-28 10:05:57
Содержание
- 115 СВЕДЕНИЯ ПО ТЕХНИКЕ БЕЗОПАСНОСТИ
- 116 УКАЗАНИЯ ПО БЕЗОПАСНОСТИ
- 117 ЭКСПЛУАТАЦИЯ
- 119 ВКЛЮЧЕНИЕ; ЕЖЕДНЕВНОЕ ИСПОЛЬЗОВАНИЕ; ОЧИСТКА
- 120 ХРАНЕНИЕ ВИНА
- 121 РАЗМЕЩЕНИЕ; УСТАНОВКА; И ТРЕБОВАНИЯ К ВЕНТИЛЯЦИИ
- 122 УХОД И ОЧИСТКА; ЗАМЕНА ЛАМПЫ
- 123 ПЕРЕРЫВЫ В; ПОИСК И УСТРАНЕНИЕ НЕИСПРАВНОСТЕЙ; СБОЙ В СЕТИ
- 125 ШУМЫ ПРИ РАБОТЕ
- 126 ТЕХНИЧЕСКИЕ ДАННЫЕ
- 127 ОХРАНА ОКРУЖАЮЩЕЙ СРЕДЫ; УПАКОВОЧНЫЕ
Характеристики
Остались вопросы?Не нашли свой ответ в руководстве или возникли другие проблемы? Задайте свой вопрос в форме ниже с подробным описанием вашей ситуации, чтобы другие люди и специалисты смогли дать на него ответ. Если вы знаете как решить проблему другого человека, пожалуйста, подскажите ему :)













