Винные шкафы AEG SWB61501DG - инструкция пользователя по применению, эксплуатации и установке на русском языке. Мы надеемся, она поможет вам решить возникшие у вас вопросы при эксплуатации техники.
Если остались вопросы, задайте их в комментариях после инструкции.
"Загружаем инструкцию", означает, что нужно подождать пока файл загрузится и можно будет его читать онлайн. Некоторые инструкции очень большие и время их появления зависит от вашей скорости интернета.

150 www.electrolux.com
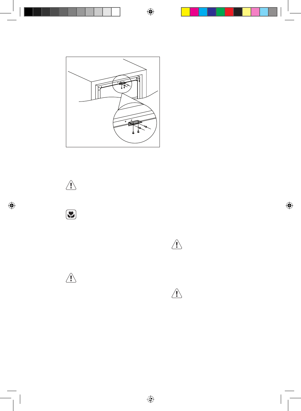
INSTALLERA DET ÖVRE FÄSTET
Använd två skruvar för att installera det
övre fästet på toppen av vinkylen, för
sedan in vinkylen i skåpet och använd
två skruvar för att fixera det övre fästet
på skåpet. Se bild nedan för referens.
VARNING!
Koppla loss produkten från
eluttaget innan du utför någon
form av underhåll.
Kylenheten i denna produkt
innehåller kolväten. Underhåll
och påfyllning får därför endast
utföras av en auktoriserad
servicetekniker.
REGELBUNDEN RENGÖRING
Utrustningen måste rengöras med jämna
mellanrum:
Dra inte i, flytta inte och undvik
att skada rörledningarna och
kablarna inne i kylskåpet.
Använd aldrig skarpa
rengöringsmedel, skurpulver,
parfymerade rengöringsprodukter
eller vaxpolermedel för att
rengöra kylen/frysen invändigt
eftersom sådana produkter
skadar ytfinishen och efterlämnar
en stark lukt.
•
Tvätta insidans ytor med varmt vatten
och bikarbonatlösning. Lösningen bör
bestå av ca 2 matskedar bikarbonat
och en liter vatten.
SKÖTSEL OCH UNDERHÅLL
•
Vrid ur överblivet vatten ur svampen
eller trasan innan du rengör kontroller
eller elektriska delar.
•
Tvätta vinkylens utsida med varmt vat-
ten och milt flytande rengöringsmedel.
•
Inspektera regelbundet dörrtätningarna
och torka dem rena från eventuell
smuts.
•
Skölj av och torka noggrant.
Var försiktig så att du inte skadar
kylsystemet.
Anslut produkten till eluttaget igen efter
rengöringen
BYTE AV GLÖDLAMPAN
VARNING!
VARNING! Om LED-lampan är trasig
SKA DU INTE BYTA DEN SJÄLV.
Om LED-lampan byts av en icke
kvalificerad person finns risk för
skada och fel på produkten.
LED-lampan måste bytas av en expert
för att förhindra skada. Kontakta din
lokala serviceavdelning.
SWB61501DG-SWE61501DG_Wine_cellar_AEG_CZ_DA_EN_FI_FR_IT_NO_PL_RU_SK_SV_UK.indd 150
2017-06-28 10:06:18
Содержание
- 115 СВЕДЕНИЯ ПО ТЕХНИКЕ БЕЗОПАСНОСТИ
- 116 УКАЗАНИЯ ПО БЕЗОПАСНОСТИ
- 117 ЭКСПЛУАТАЦИЯ
- 119 ВКЛЮЧЕНИЕ; ЕЖЕДНЕВНОЕ ИСПОЛЬЗОВАНИЕ; ОЧИСТКА
- 120 ХРАНЕНИЕ ВИНА
- 121 РАЗМЕЩЕНИЕ; УСТАНОВКА; И ТРЕБОВАНИЯ К ВЕНТИЛЯЦИИ
- 122 УХОД И ОЧИСТКА; ЗАМЕНА ЛАМПЫ
- 123 ПЕРЕРЫВЫ В; ПОИСК И УСТРАНЕНИЕ НЕИСПРАВНОСТЕЙ; СБОЙ В СЕТИ
- 125 ШУМЫ ПРИ РАБОТЕ
- 126 ТЕХНИЧЕСКИЕ ДАННЫЕ
- 127 ОХРАНА ОКРУЖАЮЩЕЙ СРЕДЫ; УПАКОВОЧНЫЕ
Характеристики
Остались вопросы?Не нашли свой ответ в руководстве или возникли другие проблемы? Задайте свой вопрос в форме ниже с подробным описанием вашей ситуации, чтобы другие люди и специалисты смогли дать на него ответ. Если вы знаете как решить проблему другого человека, пожалуйста, подскажите ему :)













