Микроволновые печи Midea MG820CFB-W - инструкция пользователя по применению, эксплуатации и установке на русском языке. Мы надеемся, она поможет вам решить возникшие у вас вопросы при эксплуатации техники.
Если остались вопросы, задайте их в комментариях после инструкции.
"Загружаем инструкцию", означает, что нужно подождать пока файл загрузится и можно будет его читать онлайн. Некоторые инструкции очень большие и время их появления зависит от вашей скорости интернета.

9
ПОРЯДОК РАБОТЫ
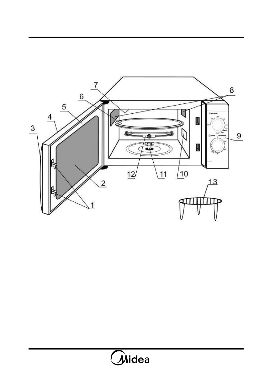
УСТРОЙСТВО ПЕЧИ
Устройство пе и приве ено на рисунке
2.
1
Защелки вер ы
2
Окно пе и
3
Ру ка вер ы
4
Двер а
5
Уплотнител ная прокла ка вер ы
6
Стеклянное бл
о
7
На ревател ный элемент риля
8
Вентиля ионные отверстия
9
Панел управления
10
Сл
яная пластина.
НЕ УДАЛЯТЬг
11
Муфта вала мотора
12
Кол о роликовое
13
Ре етка ля риля
Рисунок 2