Видеокамеры Sony DCR-PC106E / DCR-PC107E - инструкция пользователя по применению, эксплуатации и установке на русском языке. Мы надеемся, она поможет вам решить возникшие у вас вопросы при эксплуатации техники.
Если остались вопросы, задайте их в комментариях после инструкции.
"Загружаем инструкцию", означает, что нужно подождать пока файл загрузится и можно будет его читать онлайн. Некоторые инструкции очень большие и время их появления зависит от вашей скорости интернета.

За
пи
сь
Запись
31
b
Примечания
• Нельзя использовать баланс белого
совместно с функцией NightShot plus.
• Настройка вернется в режим [
АВТО],
если отключить видеокамеру от источника
питания более чем на 5 минут.
• Не трясите видеокамеру и не ударяйте по ней,
когда индикатор
быстро мигает.
• Если индикатор
мигает медленно,
баланс белого не установлен или его не
удается установить.
• Если индикатор
продолжает мигать
даже после нажатия
, установите для
параметра [БАЛ БЕЛ] значение [
АВТО].
z
Советы
• Когда для [БАЛ БЕЛ] установлено значение
[
АВТО], для улучшенной настройки
баланса цвета направьте видеокамеру на
ближайший белый предмет приблизительно
на 10 секунд после установки переключателя
POWER в режим CAMERA, когда:
– батарейный блок отсоединяется для
замены;
– видеокамера выносится из помещения на
улицу или наоборот (вносится с улицы в
помещение), сохраняя фиксированную
экспозицию.
• Выполните операцию [1 НАЖАТ] снова,
если:
– изменены настройки функции [ПРОГР
АЭ], когда для параметра [БАЛ БЕЛ]
установлено значение [1 НАЖАТ];
– видеокамеру вынесли из помещения на
улицу или наоборот.
• Установите для параметра [БАЛ БЕЛ]
значение [
АВТО] или [1 НАЖАТ] при
освещении флуоресцентными лампами
белого или прозрачного света.
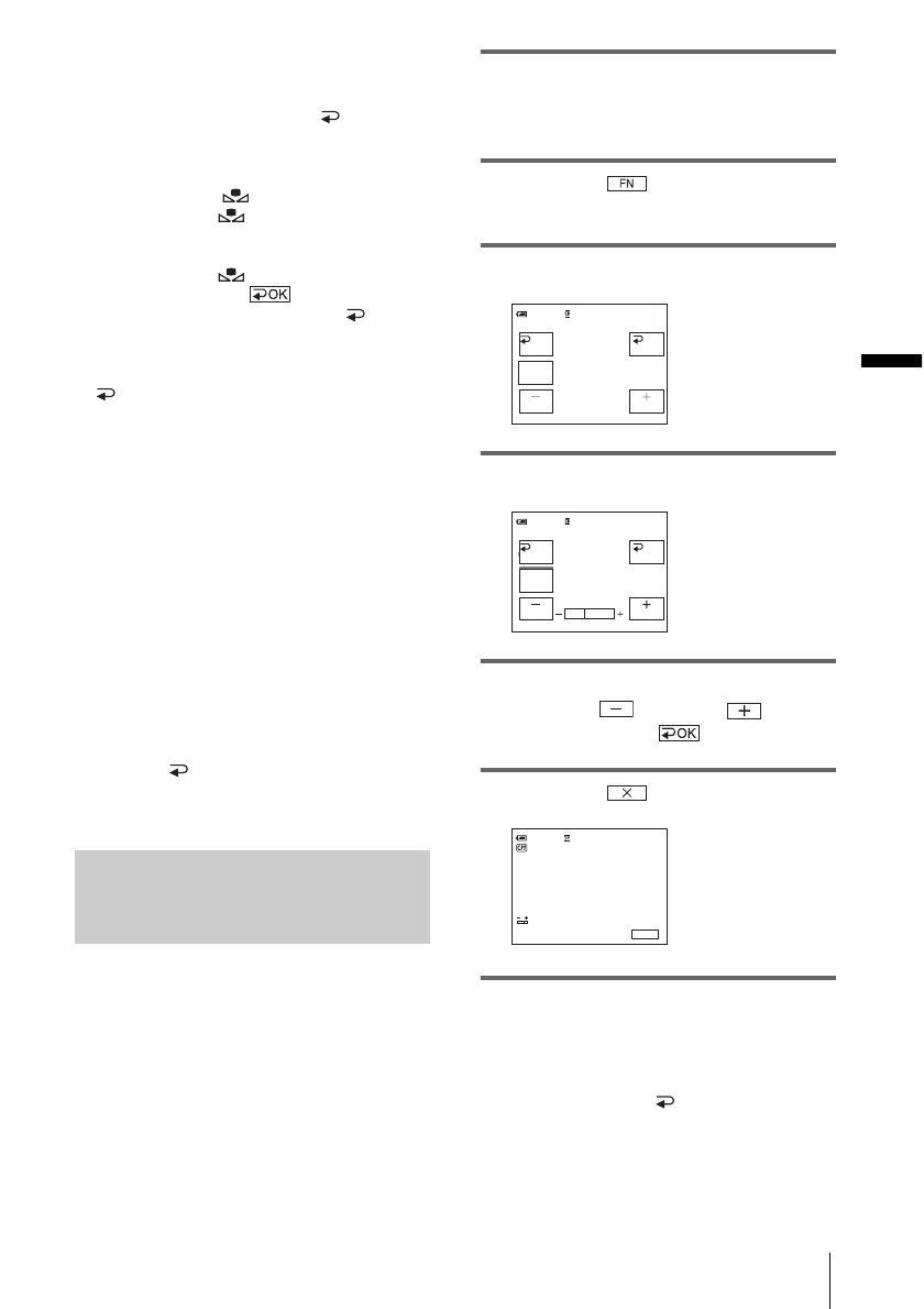
Регулировка экспозиции
вручную
Можно настроить яркость
изображения с наилучшей
экспозицией. Например, при записи в
ясный день в помещении можно
предотвратить отображение теней на
людях, находящихся у окна, вручную
установив для экспозиции значение,
равное освещенности у стены
помещения.
1
Передвигая переключатель
POWER, выберите режим
CAMERA.
2
Нажмите
, чтобы отобразить
[СТР.1].
3
Нажмите [ЭКСПОЗИЦ].
4
Нажмите [РУЧНАЯ].
5
Отрегулируйте экспозицию,
нажимая
(темнее)/
(ярче),
затем нажмите
.
6
Нажмите .
Возврат к автоматической
экспозиции
Выполните пункты со 1 по 3, затем в
пункте 4 выберите [
АВТО].
b
Примечание
• Нельзя использовать регулировку
экспозиции вручную совместно с функцией
NightShot plus.
OK
0 : 0 0 : 0 0
ABTO
ОЖИДАН
6 0 мин
РУЧ-
НАЯ
ЭКСПОЗИЦИЯ
OK
0 : 0 0 : 0 0
ABTO
ОЖИДАН
6 0 мин
РУЧ-
НАЯ
ЭКСПОЗИЦИЯ
0 : 0 0 : 0 0
FN
ОЖИДАН
6 0 мин
Содержание
- 106 ПРЕДУПРЕЖДЕНИЕ; Дата изготовления фотоаппарата; ДЛЯ ПОКУПАТЕЛЕЙ В ЕВРОПЕ; ВНИМАНИЕ; Уведомление; Примечания по эксплуатации; Примечания по записи
- 108 Примечания
- 109 Содержание
- 110 Воспроизведение; Простое выполнение операций воспроизведения
- 112 Краткое руководство; Запись фильмов; Вставьте кассету в видеокамеру.
- 113 Кр; Начните запись, глядя на экран LCD для контроля снимаемого
- 114 Простая запись и воспроизведение; шрифта увеличивается (
- 115 Подготовка к эксплуатации
- 116 Можно зарядить; батарейный блок; была
- 117 на штекере постоянного тока; После зарядки батареи
- 118 Примечание; Время зарядки; Батарейный блок
- 119 Время воспроизведения; записи
- 120 ПРЕДОСТЕРЕЖЕНИЕ
- 121 Выключение питания; видоискателя; Регулировка панели LCD
- 122 Советы; Регулировка видоискателя
- 123 Совет
- 124 чтобы
- 125 Извлечение кассеты; Передвиньте рычажок OPEN/
- 126 экране
- 127 Запись
- 128 Кнопка функции
- 129 Съемка панорамных изображений; Запись в зеркальном режиме
- 130 Нажмите; Появится индикация; Отмена времени выдержки; Выполните пункты 1 и 2.
- 131 изображений; Фотосъемка на ленту
- 132 Простая запись; – Easy Handycam; Нажмите кнопку EASY еще раз.; Запуск режима
- 133 На экране появится индикация
- 134 будет
- 136 Запись в темноте; NightShot plus; Появятся индикаторы
- 137 Фокусировка; Автоматическая фокусировка; Ручная фокусировка
- 138 изменится на
- 140 Отмена операции
- 141 Ручной поиск – EDIT SEARCH
- 142 кассету; Регулировка громкости; Остановка воспроизведения; Установка паузы
- 143 В режиме остановки нажмите; Индикатор движения ленты; Продолжайте нажимать; Выберите режим воспроизведения.; Цель
- 144 воспроизведения; Easy Handycam
- 145 Воспроизведите кассету.; с помощью
- 146 и выберите
- 147 экране телевизора
- 148 на
- 149 Нажмите кнопку
- 152 Усовершенствованные; Настройка видеокамеры; Изменение
- 154 . После выбора установки; ПРОГР АЭ
- 156 АВТОЗАТВОР
- 158 Эта функция служит для компенсации подрагивания видеокамеры.; МОНТ ПОИСК
- 160 После выбора установки; На этом экране
- 162 . Набор настраиваемых; ТИТР; с функцией; Чтобы удалить символ:; нажмите
- 163 Цвет; С помощью кнопок
- 164 Можно просмотреть титр во время воспроизведения изображения.; ПОИСК CM
- 165 Выберите
- 166 АУДИОРЕЖИМ
- 167 ОСТАЛОСЬ
- 168 Начнет мигать индикатор
- 169 Набор настраиваемых; ПОТОК USB
- 170 РЕЖИМ ДЕМО
- 171 АВТЗТВ ВЫК
- 172 ПУЛЬТ ДУ; ДИСПЛЕЙ
- 175 видеокамеры
- 176 эпизодов с кассеты; – Цифровой монтаж программы
- 177 При использовании кабеля i.LINK; Выберите i.LINK с помощью
- 179 затем
- 181 Удаление программ
- 183 Подготовка к записи звука; • используя встроенный микрофон
- 184 Запись звука; Воспроизведение остановится.
- 186 Устранение неполадок; Общие функции; Неполадка
- 187 Батарея/источники питания
- 188 Кассеты
- 189 Съемка
- 194 сообщения; Индикация самодиагностики/Предупреждающие индикаторы; Индикация
- 196 Предупреждающие сообщения; Тематики
- 198 Дополнительная информация; Подача питания; Система
- 199 является торговой маркой.; Сигнал авторского права; При воспроизведении
- 200 После использования кассеты
- 201 Зарядка батарейного блока
- 202 О хранении батарейного блока
- 204 О требуемом кабеле i.LINK
- 205 Конденсация влаги; Если произошла конденсация влаги
- 206 Видеоголовка; Очистка экрана LCD
- 207 Прикоснитесь к знаку “; Очистка корпуса; трех месяцев
- 208 Полностью выдвиньте; , чтобы присоединить окуляр и; Спецификации; Видеокамера
- 209 Экран LCD
- 210 Типы различий
- 211 Краткий справочник; Рычaг BATT
- 212 Гнездо управления
- 213 Датчик дистанционного управления
- 214 Гнездо для штатива; Удобно при переноске видеокамеры.
- 216 Handycam Station; Разъем интерфейса
- 217 Кнопки
- 219 Индикаторы экрана LCD и видоискателя; Индикаторы












