Пароварки Miele DGC6800X - инструкция пользователя по применению, эксплуатации и установке на русском языке. Мы надеемся, она поможет вам решить возникшие у вас вопросы при эксплуатации техники.
Если остались вопросы, задайте их в комментариях после инструкции.
"Загружаем инструкцию", означает, что нужно подождать пока файл загрузится и можно будет его читать онлайн. Некоторые инструкции очень большие и время их появления зависит от вашей скорости интернета.

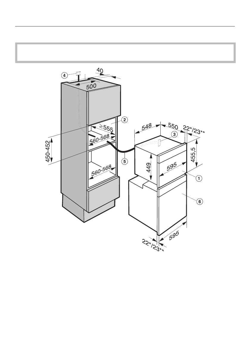
Building-in dimensions
186
Installation in a tall unit in combination with an oven
The furniture housing unit must not have a back panel fitted behind the build-
ing-in niche.
a
Steam oven
b
Niche
c
Inlet for mains connection cable to the appliance
d
Recommended position for electrical socket. Important: Do not position behind
the appliance.
e
Mains connection cable
f
Oven
* Glass front / ** metal front
Характеристики
Остались вопросы?Не нашли свой ответ в руководстве или возникли другие проблемы? Задайте свой вопрос в форме ниже с подробным описанием вашей ситуации, чтобы другие люди и специалисты смогли дать на него ответ. Если вы знаете как решить проблему другого человека, пожалуйста, подскажите ему :)