Мониторы Sony CPD-E530 - инструкция пользователя по применению, эксплуатации и установке на русском языке. Мы надеемся, она поможет вам решить возникшие у вас вопросы при эксплуатации техники.
Если остались вопросы, задайте их в комментариях после инструкции.
"Загружаем инструкцию", означает, что нужно подождать пока файл загрузится и можно будет его читать онлайн. Некоторые инструкции очень большие и время их появления зависит от вашей скорости интернета.

6
Verhelpen van storingen
x
Geen beeld
Indien de
!
(aan/uit) indicator niet verlicht is
• Controleer of het netsnoer goed is aangesloten.
• Controleer of de
!
(aan/uit) schakelaar “aan” staat.
De
!
(aan/uit) indicator is oranje
• Controleer of de videosignaalkabel goed is aangesloten en alle stekkers
goed vastzitten.
• Controleer of de INPUT schakelaar instelling correct is.
• Controleer of de pinnen van de HD15 video-ingangsconnector niet
verbogen of naar binnen gedrukt zijn.
• Controleer of de stroom van de computer “aan” is.
• De computer staat in de stroomspaarstand. Druk op een willekeurige
toets op het toetsenbord of verplaats de muis.
• Controleer of de grafische kaart volledig in de correcte busaansluiting zit.
Indien de
!
(aan/uit) indicator groen is of oranje knippert
• Gebruik de zelfdiagnosefunctie.
x
Het beeld flikkert, springt, oscilleert of is vervormd
• Isoleer en elimineer potentiële bronnen van elektrische of magnetische
velden zoals monitors, laser printers, elektrische ventilatoren,
fluorescentieverlichting of televisietoestellen.
• Plaats de monitor uit de buurt van stroomkabels of plaats een
magnetische afscherming bij de buurt van de monitor.
• Probeer de monitor aan te sluiten op een ander stopcontact, bij voorkeur
op een ander circuit.
• Probeer de monitor 90° naar links of naar rechts te draaien.
• Controleer de handleiding van uw grafische kaart voor de juiste instelling
van de monitor.
• Controleer of de grafische mode en de frequentie van het ingangssignaal
worden ondersteund door de monitor (zie “Preset mode timing table” op
pagina i). Sommige grafische kaarten hebben een synchronisatiepuls die
te smal is om de monitor correct te laten synchroniseren, ook al ligt de
frequentie binnen het juiste bereik.
• Pas de verversingsfrequentie van de computer aan (verticale frequentie)
om een optimaal beeld te verkrijgen.
x
Het beeld is wazig
• Regel contrast, helderheid en PICTURE EFFECT.
• Demagnetiseer de monitor.*
• Regel moiré-onderdrukking tot moiré minimaal is of zet ONDERDRUK
MOIRE op UIT.
x
Echobeeld (ghosting)
• Gebruik geen videoverlengkabels en/of videoschakeldozen.
• Controleer of alle aansluitingen goed vastzitten.
x
Het beeld is niet gecentreerd of heeft niet de juiste
afmetingen
• Verricht de Auto Afmeting Centreer-functie.
• Regel formaat en centrering. Merk op dat het scherm met sommige
ingangssignalen en/of grafische kaarten niet volledig is gevuld.
• Na het aanzetten van de aan/uit-schakelaar kan een correcte formattering/
centrering enige tijd in beslag nemen.
x
De hoeken van het beeld zijn krom
• Regel de geometrie.
x
Golvend of elliptisch patroon (moiré)
• Regel het moiré-onderdrukkingseffect zo dat moiré tot een minimum
beperkt blijft.
• Verander uw desktoppatroon.
x
De kleur is niet gelijkmatig
• Demagnetiseer de monitor*. Indien u apparatuur die een magnetisch veld
genereert, bijvoorbeeld een luidspreker, in de buurt van de monitor
opstelt, of wanneer u de richting van de monitor verandert, is het
mogelijk dat de kleuren niet meer gelijkmatig zijn.
• Regel landing.
x
Onzuivere witweergave
• Regel de kleurtemperatuur.
x
De knoppen op de monitor werken niet (
verschijnt
op het scherm)
• Indien de vergrendeling van de bedieningen op AAN staat, moet u deze
op UIT zetten.
x
Letters en regels hebben rode of blauwe schaduwen aan
de hoeken
• Convergentie regelen.
x
U hoort een brommend geluid direct na het inschakelen
van de monitor
• Dit is het geluid van de zelf-demagnetiserende cyclus. Bij het
aanschakelen wordt de monitor automatisch gedurende enkele seconden
gedemagnetiseerd.
* Indien er een tweede demagnetiseringscyclus nodig is, dient u voor het beste
resultaat 20 minuten te wachten. U hoort eventueel een bromgeluid maar dat
is normaal.
Schermberichten
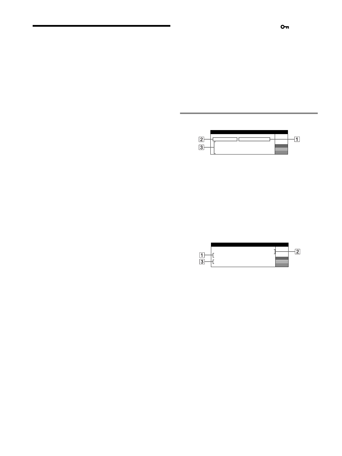
1
Indien “GEEN SIGNAAL” verschijnt:
Dit geeft aan dat er geen signaal wordt ingevoerd via de gekozen
aansluiting.
2
Toont de momenteel gekozen aansluiting.
3
Toont de oplossingen.
• Als AANZETTEN VIA COMPUTER verschijnt op het scherm,
probeer dan een toets op het toetsenbord van de computer in te
drukken of de muis te bewegen en controleer of de grafische kaart
van de computer in de juiste aansluiting zit.
• Als CONTROLEER VIDEOKABEL op het scherm verschijnt,
controleer dan of de monitor correct is aangesloten op de computer.
• Als CONTROLEER INGANGSSELECTIE op het scherm
verschijnt, probeer dan het ingangssignaal te veranderen.
1
Indien “BUITEN SCANBEREIK” verschijnt:
Dit geeft aan dat het ingangssignaal niet door de monitor kan worden
verwerkt.
2
Toont de ingangssignaalfrequentie.
3
Toont de oplossingen.
WIJZIG SIGNAALTIMING verschijnt op het scherm. Wanneer u een
bestaande monitor vervangt, moet u de oude monitor opnieuw
aansluiten. Stel vervolgens de grafische kaart van de computer zo in dat
de horizontale frequentie 30 – 117 kHz en de verticale frequentie 48 –
170 Hz bedraagt.
I NFORMAT I E
MON I TOR FUNCT I ONEERT
2 : GEEN S I GNAAL
W
R
G
B
I NGANG
A A N Z E T T E N
COMPUTER
V I A
CONTROLEER V I DEOKABEL
CONTROLEER
I NGANGSSELECT I E
W
R
G
B
1 :
.
2 0 0 0
/
k H z
8 5 H z
BU I TEN SCANBERE I K
W I JZ I G S I GNAALT I M I NG
I NFORMAT I E
MON I TOR FUNCT I ONEERT
I NGANG