Мониторы Sony CPD-E530 - инструкция пользователя по применению, эксплуатации и установке на русском языке. Мы надеемся, она поможет вам решить возникшие у вас вопросы при эксплуатации техники.
Если остались вопросы, задайте их в комментариях после инструкции.
"Загружаем инструкцию", означает, что нужно подождать пока файл загрузится и можно будет его читать онлайн. Некоторые инструкции очень большие и время их появления зависит от вашей скорости интернета.

6
Felsökning
x
Ingen bild
Om
!
(ström)-indikatorn inte lyser
• Kontrollera att nätkabeln är ordentligt ansluten.
• Kontrollera att
!
(ström)-omkopplaren är i påslaget läge (“on”).
!
(ström) indikatorn lyser orange
• Kontrollera att videokabeln är ordentligt ansluten och att alla kontakter
är ordentligt anslutna och sitter stadigt förankrade på sina platser.
• Kontrollera att INPUT-omkopplaren är rätt inställd.
• Kontrollera att stiften på HD15-kontakten inte är böjda eller har tryckts
in i kontakten.
• Kontrollera att strömmen till datorn är påslagen (“on”).
• Datorn är i energisparläge. Pröva att trycka på någon tangent på
tangentbordet eller att röra på musen.
• Kontrollera att grafikkortet i datorn sitter som det ska i sin kortplats.
Om indikatorn
!
(ström) lyser grön eller blinkar orange
• Använda självdiagnosfunktionen.
x
Bilden fladdrar, hoppar, oscillerar eller är förvrängd
• Isolera och avlägsna möjliga källor till elektromagnestiska fält, t.ex.
andra bildskärmar, laserskrivare, elektriska fläktar eller TV-apparater.
• Flytta bildskärmen bort från strömkablar eller placera en magnetisk
avskärmning nära den.
• Försök ansluta bildskärmen till ett annat vägguttag, helst ett som ligger
på en annan gruppsäkring.
• Pröva att vrida bildskärmen 90° åt vänster eller höger.
• Information om rätt inställning för bildskärmen finns i bruksanvisningen
till grafikkortet.
• Kontrollera att bildskärmen kan hantera grafikläget och insignalens
frekvens (se “Grafiklägen och frekvenser (Preset mode timing table)” på
sidan i). Även om frekvensen ligger inom korrekt intervall, kan vissa
grafikkort ha en synkpuls som är för kort för att bildskärmen ska synka
korrekt.
• Justera datorns uppdateringsfrekvens (vertikal frekvens) för att få bästa
möjliga bild.
x
Bilden är otydlig
• Ställ in kontrast, ljusstyrka och PICTURE EFFECT.
• Avmagnetisera bildskärmen.*
• Ställ in moareupphävningen så att den blir så liten som möjligt eller ställ
ELIMINERA MOARE på AV.
x
Bilden har skuggor
• Undvik att använda förlängningskablar och/eller omkopplingsdon till
videokabeln.
• Kontrollera att alla kontakter är ordentligt anslutna och sitter stadigt.
x
Bilden har fel storlek eller är inte centrerad
• Aktivera funktionen för automatisk storlek och centrering.
• Justera storleken eller centreringen. Vissa insignaler och/eller grafikkort
använder inte bildskärmens yta fullt ut.
• Direkt efter det att du har slagit på strömbrytaren kan det hända att det tar
ett tag innan storleken/centreringen har rättat till sig.
x
Bildens kanter är inte raka
• Justera geometrin.
x
Vågformiga eller elliptiska mönster (moaré) syns
• Ställ in moareupphävningen så att moareeffekten blir så liten som
möjligt.
• Ändra mönster på skrivbordet.
x
Färgen är ojämn
• Avmagnetisera bildskärmen.* Om du placerar utrustning som skapar
magnetfält, t.ex. högtalare i närheten av bildskärmen eller om du ändrar
riktning på bildskärmen (vrider på den), kan det hända att färgerna blir
ojämna.
• Justera hörnfärgen.
x
Vitt ser inte ut som vitt
• Justera färgtemperaturen.
x
Knapparna på bildskärmen fungerar inte (
visas på
skärmen)
• Om kontrollåset står i läge PÅ ställer du det i läge AV.
x
Bokstäver och linjer är omgivna av röda och blå skuggor
• Justera konvergensen.
x
Ett brum hörs just efter det att du slagit på strömmen
• Det är ljudet från den automatiska avmagnetiseringen. När du slår på
strömmen avmagnetiseras bildskärmen automatiskt under några
sekunder. (Funktionen kallas på engelska “degauss”.)
* Om du behöver avmagnetisera skärmen ytterligare en gång bör du, för att få
bästa resultat, vänta minst 20 minuter. Ett surrande ljud kan höras, men det är
normalt och innebär inte att något är fel.
Skärmmeddelanden
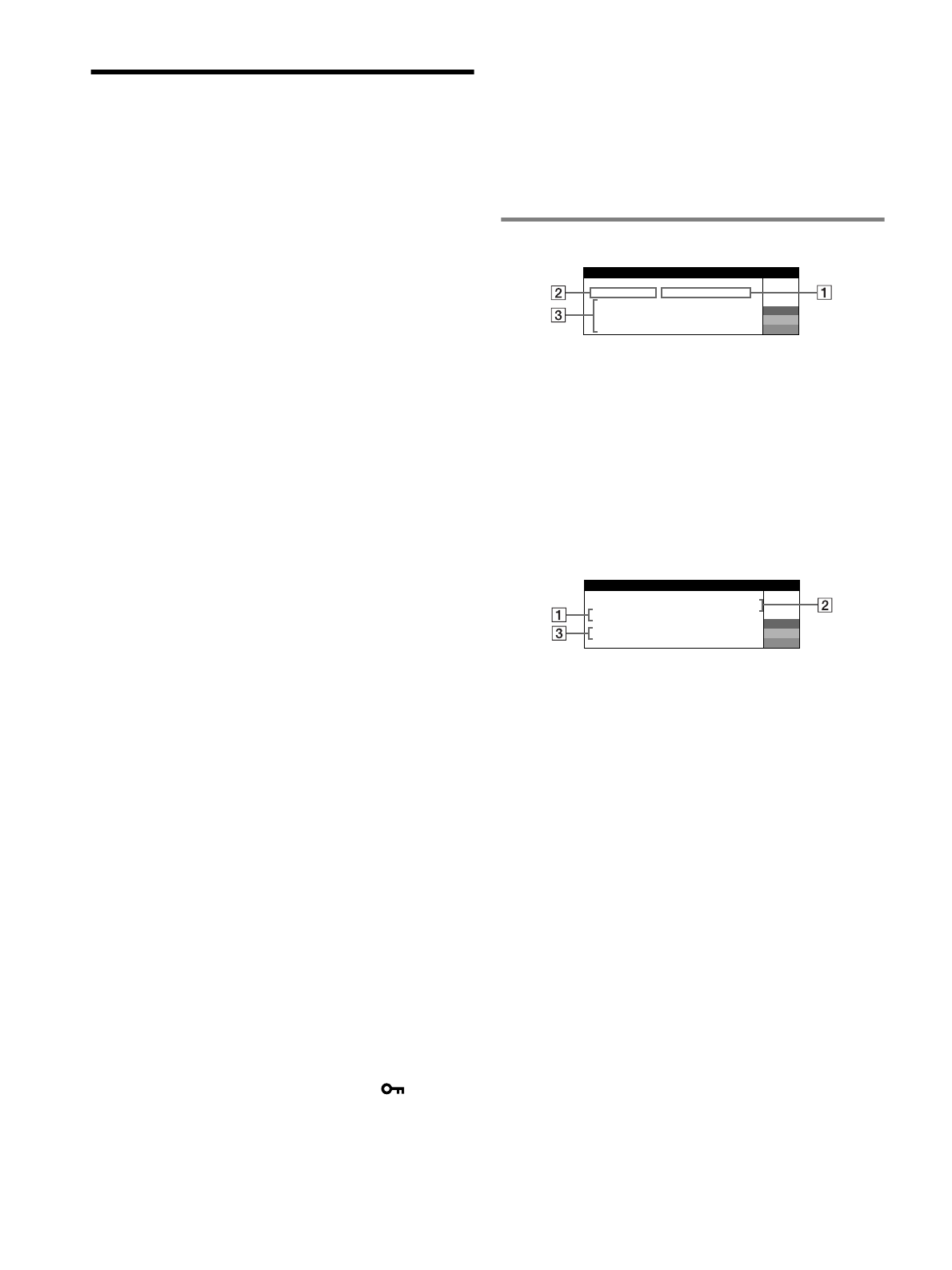
1
Om “INGEN SIGNAL” visas:
Meddelandet innebär att ingen signal matas in via den aktuella
anslutningen.
2
Visar den aktuella anslutningen.
3
Visar åtgärderna.
• Om AKTIVERA VIA DATORN visas på skärmen kan du pröva att
trycka på någon av tangenterna på tangentbordet eller röra på musen,
och sedan kontrollera att datorns grafikkort sitter ordentligt i rätt
kortplats.
• Om KONTROLLERA SIGNALKABEL visas på skärmen
kontrollerar du att bildskärmen är korrekt ansluten till datorn.
• Om KONTROLLERA INGÅNGSVÄLJARE visas på skärmen kan
du pröva att växla insignal.
1
Om “UTANFÖR FREKVENSOMFÅNG” visas:
Detta meddelande visar att insignalen inte kan hanteras av bildskärmen.
2
Visar insignalens frekvens.
3
Visar åtgärderna.
ÄNDRA BILDFREKVENSEN visas på skärmen. Om du har bytt ut en
gammal bildskärm mot den här skärmen, ansluter du den gamla
skärmen igen och ställer sedan in grafikkortet så att den horisontella
frekvensen ligger mellan 30 och 117 kHz och den vertikala mellan 48
och 170 Hz.
I
I ON
NFORMAT
SKÄRMEN FUNGERAR
2 : I NGEN S I GNAL
W
R
G
B
I NS I GNAL
AKT I VERA V I A D A T O R N
KONTROLLERA S I GNALKABEL
KONTROLLERA
I NGÅNGSVÄLJARE
W
R
G
B
1 :
.
2 0 0 0
/
k H z
8 5 H z
ÄNDRA B I LDFREKVENSEN
UTANFÖR FREKVENSOMFÅNG
I
I ON
NFORMAT
SKÄRMEN FUNGERAR
I NS I GNAL