Микроволновые печи Midea AM720KFR-BS - инструкция пользователя по применению, эксплуатации и установке на русском языке. Мы надеемся, она поможет вам решить возникшие у вас вопросы при эксплуатации техники.
Если остались вопросы, задайте их в комментариях после инструкции.
"Загружаем инструкцию", означает, что нужно подождать пока файл загрузится и можно будет его читать онлайн. Некоторые инструкции очень большие и время их появления зависит от вашей скорости интернета.

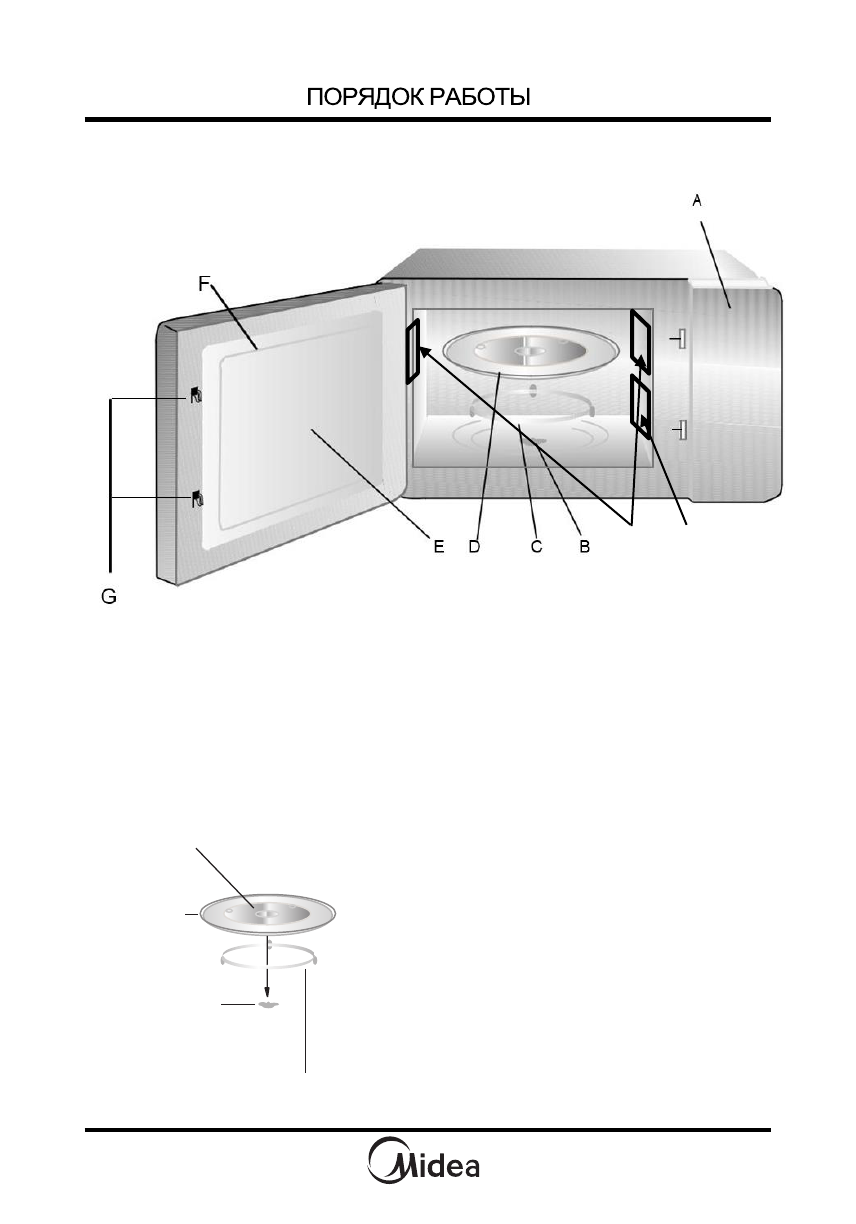
УСТРОЙСТВО ПЕЧИ
Устройство печи приведено на рисунке.
A)
Панель управления
B)
Муфта вала мотора
C)
Роликовое кольцо
D)
Стеклянное блюдо
E)
Окно печи
F)
Дверной блок
G)
Система блокировки безопасности
H)
Вентиляционные отверстия
I)
Слюдяная пластина – НЕ УДАЛЯТЬ
Установка поворотного кольца
Никогда не ставьте стеклянное блюдо вверх
дном.
Во
время
приготовления
следует
использовать как стеклянное блюдо, так и
роликовое кольцо.
Все продукты и контейнеры с продуктами
питания
нужно
всегда
помещать
на
стеклянное блюдо для приготовления пищи.
Если в стеклянном поддоне или в кольце
поворотного круга были обнаружены трещины
или сколы, обратитесь в авторизованный
сервисный центр.
Н
I
11
Выступы (нижняя сторона)
Стеклянное
блюдо
Муфта вала
мотора
Роликовое кольцо