Духовые шкафы Samsung NV75R5641RB/WT - инструкция пользователя по применению, эксплуатации и установке на русском языке. Мы надеемся, она поможет вам решить возникшие у вас вопросы при эксплуатации техники.
Если остались вопросы, задайте их в комментариях после инструкции.
"Загружаем инструкцию", означает, что нужно подождать пока файл загрузится и можно будет его читать онлайн. Некоторые инструкции очень большие и время их появления зависит от вашей скорости интернета.

O'zbek 19
Amallar
Tayyorlash rejimlari (grildan tashqari)
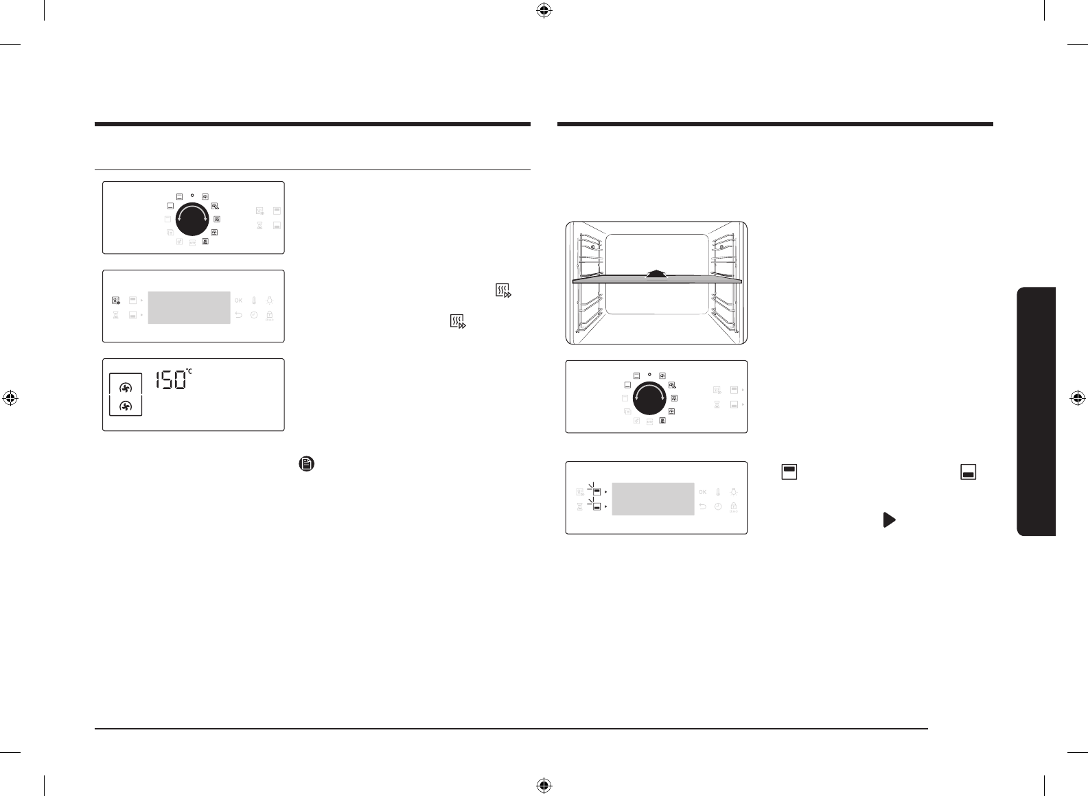
1.
Tayyorlash rejimini tanlash uchun rejim
tanlagichni burang.
2.
Kerak bo‘lsa tayyorlash vaqti va/yoki
haroratini qo‘ying. Batafsil ma’lumotni
bo‘limidan oling.
3.
Ixtiyoriy ravishda pechni tezda
qizdirishingiz mumkin. Buning uchun
tugmasini bosib, kerakli haroratni qo‘ying.
Displeyda tegishli indikator
paydo
bo‘ladi.
Pechning ichki harorati belgilangan darajagacha
qiziydi. Qizdirish tugallangach, signal
berilib, indikator yo‘qoladi. Qizidirib olish
barcha rejimlarda tavsiya etiladi, tayyorlash
qo‘llanmasida tayinlangan holatlar bundan
mustasno.
IZOH
Tayyorlash vaqti va/yoki haroratini tayyorlash
paytida o‘zgartirishingiz mumkin.
Ikkitalik tayyorlash rejimi
Bo‘lgich yordamida pishirish bo‘lmasini yuqori va pastki kameralarga ajratishingiz mumkin.
Bunda bir vaqtning o‘zida ikki xil tayyorlash rejimidan foydalanish imkoni tug‘iladi yoki
bitta kameradagina pishirish mumkin bo‘ladi.
1.
Pishirish kamerasini ikkiga ajratish uchun
bo‘lgichni 3-qavatga kiriting.
2.
Tayyorlash rejimini tanlash uchun rejim
tanlagichni burang. Yuqori kamerada Gril,
Konveksiya va Yuqori issiqlilik + Konveksiya
rejimini tanlash mumkin, pastki kamerada
Konveksiya, Quyi issiqlik + Konveksiya va
Quyi issiqlik rejimini tanlash mumkin.
3.
tugmasini bosib yuqori kamerani,
tugmasini bosib esa, pastki kamerani tanlash
mumkin.
Tanlangan kamerada
tasvirchasi paydo
bo‘ladi.
4.
Kerak bo‘lsa tayyorlash vaqti va/yoki
haroratini qo‘ying. Batafsil ma’lumotni
bo‘limidan oling.
NV75R5641RS_NV75R5641RB_WT_DG68-01165A-00_UZ.indd 19
2/19/2019 3:54:38 PM
Содержание
- 3 Исполь; Инструкции по технике безопасности; Важные меры предосторожности; Использование руководства; В данном руководстве используются следующие обозначения:; ПРЕДУПРЕЖДЕНИЕ
- 4 укции по т
- 6 Функция автоматической экономии энергии
- 7 Уст; Установка; Комплектация; Внешний вид устройства
- 8 Подготовка к установке духового шкафа; Установка в отсек кухонной мебели; Минимальные размеры отсека
- 10 Подготовка к использованию; Начальные установки; OK
- 11 Запах нового духового шкафа; Основные функции
- 13 Универсальная дверца; Использование верхней дверцы; Полное открытие дверцы
- 14 Механический замок (только для соответствующих моделей); Демонтаж; Режим двойного приготовления; ПРИМЕЧАНИЕ
- 15 Использование; Панель управления
- 16 Общие настройки; Температура
- 17 Отсрочка завершения; ВНИМАНИЕ
- 18 Сброс параметра время приготовления
- 19 Режимы приготовления (за исключением режима гриль)
- 24 Остановка процесса приготовления; Остановка приготовления в одной из зон; Специальные функции
- 25 Автоматическое приготовление
- 26 Очистка паром
- 27 Таймер; Включение/выключение звукового сигнала; Приготовление вручную; ПРЕДУПРЕЖДЕНИЕ об акриламиде
- 28 Жарка
- 30 Замороженный полуфабрикат
- 32 Конвекция Эко
- 33 Программы режима Автоматическое приготовление
- 39 Пробные блюда; Приготовление в режиме гриль
- 40 Картофельный гратен
- 42 Жареные бараньи отбивные с травами
- 43 Обслуживание; Очистка
- 44 Боковые решетки (только для соответствующих моделей); Снятие дверцы
- 45 Замена; Лампы; Устранение неисправностей; Контрольные пункты
- 47 Информационные коды
- 48 Технические характеристики
- 49 жение; Приложение; ЭНЕРГЕТИЧЕСКАЯ ЭФФЕКТИВНОСТЬ
Характеристики
Остались вопросы?Не нашли свой ответ в руководстве или возникли другие проблемы? Задайте свой вопрос в форме ниже с подробным описанием вашей ситуации, чтобы другие люди и специалисты смогли дать на него ответ. Если вы знаете как решить проблему другого человека, пожалуйста, подскажите ему :)