Домашние кинотеатры Pioneer LX01 - инструкция пользователя по применению, эксплуатации и установке на русском языке. Мы надеемся, она поможет вам решить возникшие у вас вопросы при эксплуатации техники.
Если остались вопросы, задайте их в комментариях после инструкции.
"Загружаем инструкцию", означает, что нужно подождать пока файл загрузится и можно будет его читать онлайн. Некоторые инструкции очень большие и время их появления зависит от вашей скорости интернета.

Подключение
02
9
Ru
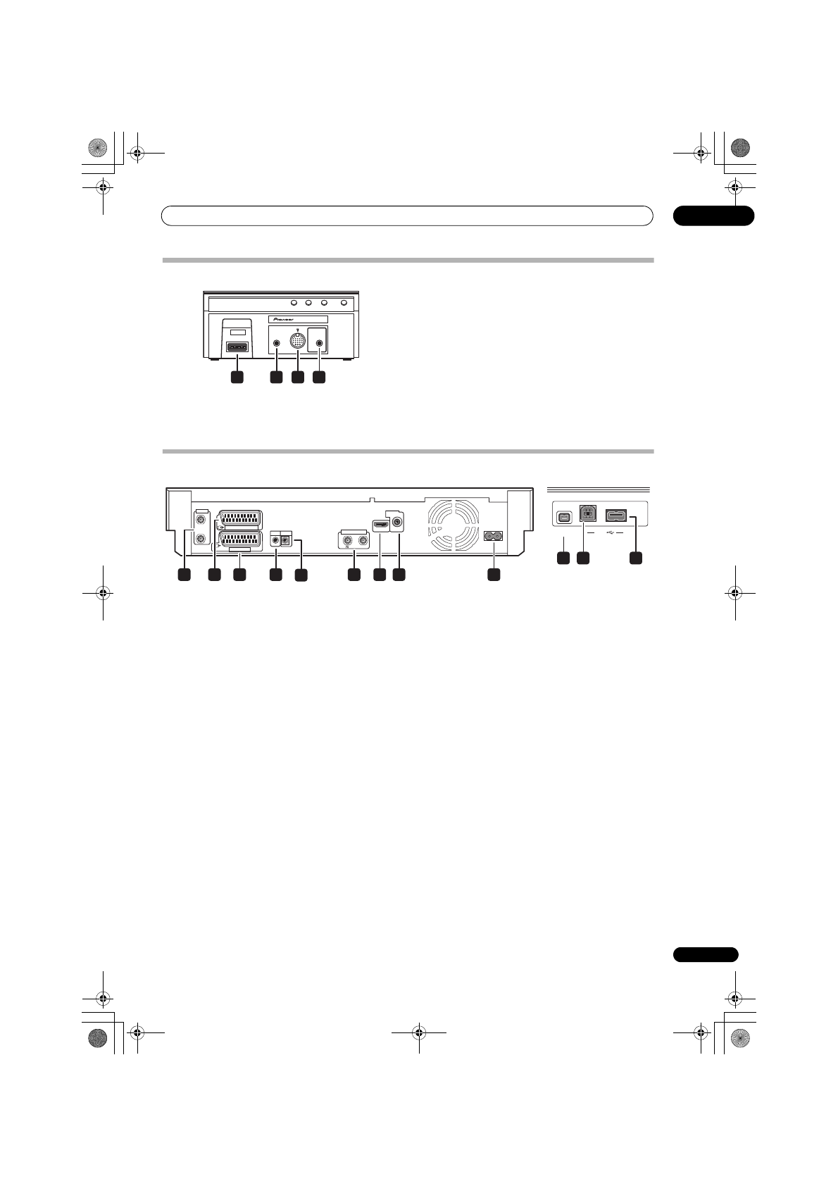
Задняя
сторона
блока
дисплея
1
Соединитель
SYSTEM
Подключите
к
низкочастотному
громкоговорителю
-
ресиверу
.
2
Вход
F.AUDIO
Для
прослушивания
звучания
от
внешнего
компонента
,
подключите
его
через
стереофонический
миниразъемный
кабель
.
По
завершению
подключения
,
источник
приема
автоматически
переключается
на
Front Audio In
.
3
Входной
разъем
iPod
Используйте
для
подключения
проигрывателя
iPod Apple
в
качестве
аудиоисточника
.
При
подключении
iPod,
источник
приема
автоматически
переключается
на
iPod
.
4
Гнездо
MCACC SETUP MIC
Используется
для
подключения
поставляемого
микрофона
для
автоматической
настройки
МСАСС
(
см
.
стр
. 30).
HDD/DVD-
рекордер
Задняя
панель
1
ANTENNA IN (RF IN)/OUT
Подключите
телевизионную
антенну
к
разъему
ANTENNA IN (RF IN)
.
Сигнал
проходит
напрямую
через
разъем
ANTENNA OUT
для
соединения
телевизора
.
2
Аудиовизуальный
соединитель
AV2(INPUT 1/
DECODER)
Аудиовизуальный
соединитель
аудио
/
видео
входа
/
выхода
типа
SCART
для
подключения
к
видеомагнитофону
,
или
другому
оборудованию
с
соединителем
SCART.
Вход
принимает
видеосигналы
,
сигналы
S-Video
и
RGB.
По
настройке
,
см
.
AV2/L1 In
(
Вход
AV2/L1)
на
стр
. 155.
3
Аудиовизуальный
соединитель
AV1(RGB)-TV
Аудиовизуальный
соединитель
аудио
/
видеовыхода
типа
SCART
для
подключения
к
телевизору
или
другому
оборудованию
с
соединителем
SCART.
Видеовыход
переключается
на
видеосигналы
,
сигналы
S-Video
и
RGB.
По
настройке
,
см
.
AV1 Out (
Выход
AV1)
на
стр
. 154.
4
G-LINK™
Используется
для
подключения
поставляемого
кабеля
G-LINK™
для
установки
GUIDE Plus+™
на
управление
внешним
спутниковым
ресивером
,
др
.
5
CONTROL IN
Подключите
к
разъему
CONTROL OUT 1
на
низкочастотном
громкоговорителе
-
ресивере
.
6
ANTENNA (DIGITAL) IN/OUT
Подключите
антенну
цифрового
телевидения
к
разъему
ANTENNA (DIGITAL) IN
.
Сигнал
проходит
напрямую
через
разъем
ANTENNA (DIGITAL) OUT
для
соединения
телевизора
.
7
HDMI OUT
Подключите
к
разъему
HDMI IN 1
на
низкочастотном
громкоговорителе
-
ресивере
.
8
DIGITAL AUDIO OUT (COAXIAL)
Коаксиальный
цифровой
аудиоразъем
для
подключения
к
декодеру
Dolby Digital/DTS/MPEG
или
другому
оборудованию
с
цифровым
входом
.
9
AC IN -
Вход
питания
Передняя
панель
На
передней
панели
имеется
откидная
крышка
,
скрывающая
больше
соединений
.
10 DV IN
Входной
соединитель
цифрового
видео
i.LINK,
подходящий
для
подключения
цифровой
видеокамеры
.
11 USB
порт
(Type B)
USB
порт
для
подключения
совместимого
с
системой
PictBridge
принтера
или
компьютера
.
12 USB
порт
(Type
А
)
USB
порт
для
подключения
цифровой
камеры
,
клавиатуры
или
другого
устройства
USB.
F.AUDIO
DISPLAY UNIT
iPod
MCACC
SETUP MIC
SYSTEM
1
2
3
4
AC IN
DIGITAL
AUDIO OUT
COAXIAL
HDMI OUT
ANTENNA(DIGITAL)
IN
OUT
5 V
30 mA
CONTROL
G-LINK
IN
AV 1 (RGB) – TV
AV 2 (INPUT 1/DECODER)
ANTENNA
IN
OUT
USB
DV IN
4
3
2
1
9
6
7
8
5
10 11
12
Задняя
панель
Передняя
панель
01SX-SW70SW_Ru.book Page 9 Thursday, August 9, 2007 6:55 PM
Содержание
- 6 Основание каждого
- 7 Подключение
- 8 Низкочастотный; Control Out; Задняя
- 9 Вход; Передняя
- 10 Внимание; • Pioneer
- 11 AM; FM; Провод
- 12 Телевизор; или
- 14 Верхние
- 15 Дисплей; DNR
- 16 Верхняя
- 17 Play List; модуль; Pioneer; Установка; CI
- 18 Управление
- 19 Advanced Surround; курсорные; RDS; RECEIVER
- 20 EPG; ЖК; DVD
- 21 REC; MHEG
- 23 TOP Over View
- 27 Блок; Выбранный режим; Назначение; Блок; рекордер
- 28 Выбор; SURR; HDMI входу
- 29 CD
- 30 MCACC; MCACC; Error
- 31 Примечание; Auto
- 32 Настройки; Dolby Pro Logic; Настройка
- 35 FM Auto
- 37 Sound Setup; SW
- 38 Dolby Digital; CH1 Mono; Audio DRC
- 39 Off; Virtual Surround Back
- 40 OPTICAL IN 2
- 41 iPod; iPod; iPod; iPod; Digital 2
- 42 внешняя FM антенна
- 44 HDMI Control; Выполнение
- 46 Auto Delay
- 47 S l e e p; TV PRESET; Номерные
- 48 Производитель
- 49 Dolby; Dolby Digital Plus; HD DVD; DTS
- 50 DTS Digital Surround; «DTS» –; Устранение; Общие; Неполадка
- 51 Тюнер; Audio Out
- 52 Отображаемые; Сообщение
- 55 DV
- 56 JPEG
- 57 Поддерживаемые; VR; Cannot read the; Поддержка; Level 1
- 58 Совместимость; Примечания; является; Использование
- 59 Video CD
- 60 DivX; DivX; Аренда; Dolby Laboratories.
- 61 «DTS»; DVB; Оптимизация
- 62 Питание; On; AV
- 63 Power Save
- 66 DV IN
- 67 Restart USB Device; Подсоединение
- 68 Начало; PAGE; Включение; Setup Navigator; Вкл
- 69 «Auto; SCART; «Auto»
- 70 Setup; RETURN; Gemstar GUIDE Plus+; «Standard; Вернитеь; «Replace
- 71 Уведомление
- 72 загрузке
- 73 EPG Type Select
- 74 Information panels (; Input Line System
- 75 Кнопка
- 76 Schedule; Области; Просмотр; ЖКД
- 77 Others
- 78 Область; My TV; Создание
- 79 Изменение; Manual Recording; записи
- 80 Timing; PDC; V–P; Удаление; Оптимизированная; Optimized Rec; АВТО
- 81 ShowViewTM; «Schedule»
- 83 «Setup»; External; Ручная
- 84 ТВ
- 85 Digital; Digital EPG
- 87 EPG Link
- 88 Редактирование
- 90 только; Переход
- 91 Video; Запись; Режим
- 92 Bilingual; Записанный; LPCM; Условия; CPRM; Content Protection for; Macrovision
- 94 NICAM Select; NICAM
- 95 XP; Bilingual Recording (; Предустановка канала A.TV
- 96 Функция; Pause Live TV; This
- 97 Pause Live; Recorder’s Tuner; DVD DVR
- 98 Отмена
- 100 Decoder
- 101 Закрытие; «Finalize»; Дополнительная
- 102 Автоинициализация; «Disc Setup»
- 103 Disc; Воспроизведение; ALL; ВОЗОБНОВИТЬ; Только
- 104 Кроме
- 105 RESUME; PBC; PBC; PBC
- 106 DVDs; Set; Play; Панель
- 107 Disc Navigator; Об; Gracenote
- 108 База; Сканирование
- 109 Play Mode
- 110 Повтор; Повторное; Программное
- 111 Repeat play; Вывод; Dolby Digital Out
- 113 Совет; Однократное
- 114 Проигрывание; Копирование
- 116 Input Disc; Интерфейс; VHS; Внешний
- 117 Параметры
- 118 Input; Точность; Жанры
- 119 Создать; «Play»; Удалить
- 120 Название; delete; esc
- 121 «Edit»
- 122 Разделить
- 124 Блокировка; Место
- 125 Объединить; «OK»
- 126 Мульти
- 127 One Touch Copy; Auto Chapter; Ограничения; Авторское
- 129 «HDD; Title Edit
- 130 Move; Copy List Total
- 131 SEP
- 132 Двуязычный; «Bilingual»; Resume writing data (
- 133 Start
- 134 Jukebox
- 136 Windows Media Player 11,; Windows Media Player 11; ‘Cancel’
- 139 Title Name
- 140 «PhotoViewer»; View Photos on a USB Device (; DCF
- 142 «Copy to HDD»; PhotoViewer
- 143 HOME MENU
- 146 Печать; PictBridge
- 152 NTSC; HELP
- 154 AFT; RGB
- 155 NICAM •; Dolby Digital •
- 156 MPEG; MPEG; MPEG
- 157 доступные
- 159 доступен; PCM
- 160 Пропускать; DivX VOD
- 161 Input Colour System (; Database Update; отсутствует
- 162 Digital Tuner
- 165 Общее; CONTROL IN
- 166 VIDEO
- 171 DV IN
- 173 код
- 174 Поврежденные
- 175 POWER OFF
- 177 Разъемы; Microsoft












