Бортовые компьютеры ШТАТ Шеви Матрикс-М - инструкция пользователя по применению, эксплуатации и установке на русском языке. Мы надеемся, она поможет вам решить возникшие у вас вопросы при эксплуатации техники.
Если остались вопросы, задайте их в комментариях после инструкции.
"Загружаем инструкцию", означает, что нужно подождать пока файл загрузится и можно будет его читать онлайн. Некоторые инструкции очень большие и время их появления зависит от вашей скорости интернета.

маршрутный бортовой компьютер ШТАТ Шеви Матрикс-М
17
ЦЕНА 1Л. БЕНЗИНА
отображает стоимость литра бензина, используемую при вычислении стоимости истраченного топлива в пункте
«стоимость БЕНзиНА» из группы «дВиЖЕНиЕ По мАрШруту».
значение параметра при заводских установках – 27,5 рубля.
ЦЕНА 1Л. ГАЗА
отображает стоимость литра бензина, используемую при вычислении стоимости истраченного топлива в пункте
«стоимость гАзА» из группы «дВиЖЕНиЕ По мАрШруту».
значение параметра при заводских установках – 20,0 рубля.
БЛИЖНИй СВЕТ
для настройки функции “БЛиЖНий сВЕт“ необходимо выполнить следующее:
- нажатием кнопки входим в режим регулировки параметра функции “
БЛиЖНий сВЕт
”
После появления прерывистой индикации параметра, выполним следующее:
- нажатием кнопки или кнопки установите нужный режим включения ближнего света фар:
ПРЕДУПРЕЖДЕНИЕ - при наборе скорости больше 20 км/ч раздается звуковой сигнал, на экране БК появляется надпись
“ПРЕДУПРЕЖДЕНИЕ“ .
АВТОВКЛЮЧЕНИЕ - при наборе скорости больше 20 км/ч раздается звуковой сигнал, на экране БК появляется надпись
“АВТОВКЛЮЧЕНИЕ“ и включается ближний свет фар.
НЕ ВКЛЮЧАТь - ближний свет фар автоматически не включается.
- нажать кнопку , чтобы сохранить данный режим (нажать кнопку , чтобы выйти без сохранения).
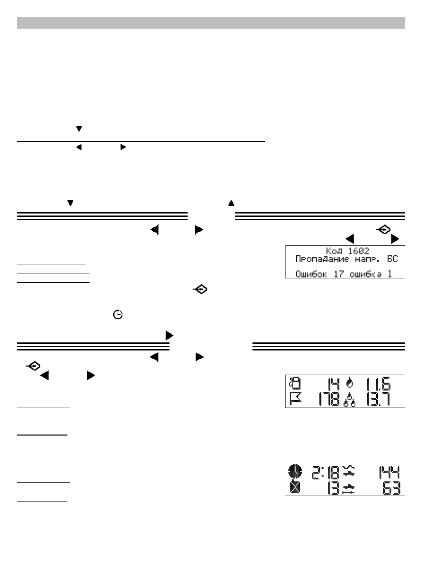
11. ОШИБКИ
Находясь в меню групп, нажатием кнопки или кнопки выделяем
группу
“
ОШиБКи
”.
Затем нажатием кнопки
вхо-
дим в выделенную
группу
. Выбор просмотра ошибок данной
группы
осуществляется с помощью кнопки или кнопки .
данная группа показывает:
верхнее поле цифровой код ошибки
среднее поле
наименование ошибки
нижнее поле
общее количество ошибок и номер текущей ошибки
Чтобы очистить информационное поле, нажмите кнопк
у
.
Чтобы прочитать и стереть коды ошибок электропакета “Норма“, произведите следующие действия:
- выключите зажигание и дождитесь отключения дисплея.
- нажмите любую кнопку кроме
. При этом в группе
“ОШИБКИ”
возможно чтение и стирание кодов ошибок электропакета/
ВниМАние!
БК перейдет в спящий режим через 15 секунд. Если Вам нужно более продолжительное время для просмотра
параметров, необходимо нажимать на кнопку не реже 1 раза в 15 секунд.
12. МУЛьТИДИСПЛЕИ
Находясь в меню групп, нажатием кнопки или кнопки выделяем
группу
“
МульТидиСПлеи
”.
Затем нажатием кноп-
ки
входим в выделенную
группу
. Выбор нужного
дисплея
группы
“
МульТидиСПлеи
”
осуществляется с помощью
кнопки или кнопки .
МУЛьТИДИСПЛЕй “ГОРОД“
одновременное отображение нескольких параметров на дисплее БК:
Верхняя строка
уровень топлива в баке/баллоне (л)
мгновенный расход то-
плива (л/ч или л/100 км)
Нижняя строка
прогноз пробега на оставшемся топливе (км)
средний расход топлива (л/100 км.)
МУЛьТИДИСПЛЕй “ТРАССА“
одновременное отображение нескольких диагностических параметров на дис-
плее БК:
Верхняя строка
время поездки (час:мин)
пробег за поездку (км)
Нижняя строка
расход топлива за поездку (л) средняя скорость (км/час)
МУЛьТИДИСПЛЕй “МК“
сочетание функций, отображенных в “муЛьтидисПЛЕях мК“, выбираются пользователем. В “муЛьтидисПЛЕи
мК“ можно вписать функции из группы
“МАРШРУТНый КОМПьЮТЕР“ и «ДИАгНОСТИКА» . По умолчанию, в первом
“муЛьтидисПЛЕи мК“, производителем установлено следующее сочетание параметров:
Содержание
- 2 маршрутный бортовой компьютер ШТАТ Шеви Матрикс-М; • ОШИБКИ СИСТЕМЫ; DATA Cable; ТЕхНИЧЕСКИЕ хАРАКТЕРИСТИКИ; жгут для подключения БК No1
- 3 “ЧАСЫ”
- 4 Вид на панель приборов; схема подключения; жгутов No1 и No3
- 5 Колодка выключателя
- 8 УСТАНОВКА БК НА АВТОМОБИЛИ С БКЛ (БЛОК КОНТРОЛьНЫх ЛАМП) ДО 2009 Г.; Снимите пластиковый щиток панели приборов, для чего:; ме “
- 9 расположение блока реле и
- 10 НАСТРОйКИ БК ПОСЛЕ УСТАНОВКИ И ПОДКЛЮЧЕНИя
- 11 МАРШРУТНЫй КОМПьЮТЕР; Для навигации по меню и изменению значений параметров группы “; группу; напряжении является вольтметр БК.; нАСТРОйКи; Считается неопределённым
- 14 функций; яРКОСТь ДИСПЛЕя
- 15 КОРРЕКЦИя РАСхОДА (КОРРЕКЦИя ПОКАЗАНИй РАСхОДА ТОПЛИВА); если Вы не хотите; ОБъёМ БАКА
- 17 БЛИЖНИй СВЕТ; ОШиБКи; Чтобы очистить информационное поле, нажмите кнопк; “ОШИБКИ”; возможно чтение и стирание кодов ошибок электропакета/; дисплея; МульТидиСПлеи; МУЛьТИДИСПЛЕй “ГОРОД“
- 18 МУЛьТИДИСПЛЕй “ДВИГАТЕЛя“; ВНИМАНИЕ! После отключения питания БК настройки пропадают.; СУПЕРМУЛьТИДИСПЛЕй
- 19 ИНСТРУКЦИя ПО ПРОГРАММИРОВАНИЮ БК
- 20 НЕИСПРАВНОСТь; СЕРТИФИКАТ СООТВЕТСТВИя; Электронную копию сертификата можно скачать здесь:; 9 . СВИДЕТЕЛьСТВО О СООТВЕТСТВИИ И ПРИёМКЕ; Бортовой компьютер; “ШТАТ ШЕВИ МАТРИКС-М”; жающую среду и человека.; Претензии потребителей направлять:

Не могу поставить общий пробег на бк
Не могу выставить температуру